GM Service Manual Online
For 1990-2009 cars only

General Description

The Borg Warner (BW) model 4473 RPO NP3 transfer case is a 1-speed, full time AWD, transfer case. The BW 4473 provides 1 operating mode, 4HI full-time AWD. The transfer case has a planetary differential gear set, which provides a 35 percent/65 percent torque split, front/rear, full time. Both axles are constantly being driven for maximum traction, and the best balance of vehicle handling characteristics under all operating conditions is provided.

The BW 4473 case halves are high-pressure die-cast aluminium. The transfer case requires DEXRON®VI Automatic Transmission Fluid (ATF) GM P/N 88861003 (Canadian P/N 88861004), which is red in color.


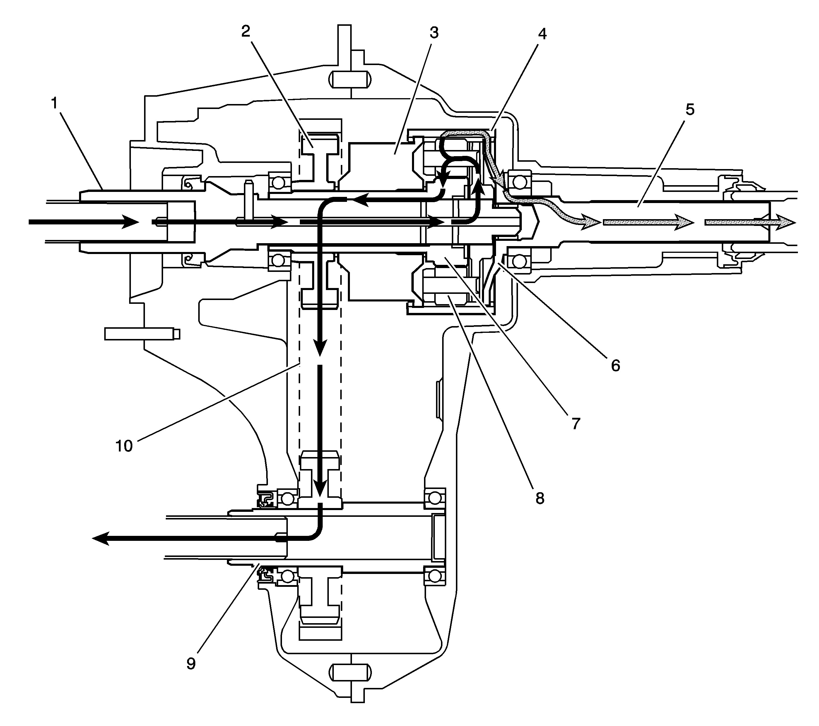
Object Number: 851792  Size: LF

The power flows from the transmission to the transfer case input shaft (1). The input shaft (1) delivers the power to the planetary center differential (4), which splits the torque 35 percent through the differential pinion gears (8) to the front sun gear (7), through the sprocket drive (2), via the chain (10) to the front output shaft (9) and to the front propeller shaft. 65 percent of the torque is delivered to the rear output, which goes through the differential ring gear (6), which is connected to the rear output shaft (5), and to the rear propeller shaft.

The viscous coupling (3), torque biasing device, has a series of opposing discs which are attached to the front and rear output shafts. 1 set turns with the front axle and the 1 set turns with the rear axle. The viscous coupling has a sealed housing, which is filled with high viscosity silicone fluid. When there is a speed difference between front and rear axles, the inner and outer plates of the coupling turn relative to each other. The silicone fluid provides resistance to the speed difference, and torque is transferred to the axles to equalize the speed difference. The tuning of the coupling is such that binding is not felt in tight turns, on dry surfaces, while being high enough to bias torque quickly to the wheels that have traction in a vehicle slip event. If the speed difference between the axles is high, the viscous coupling can go into hump mode. This occurs when the heat generated by the high speed difference expands the viscous fluid in the coupling, which results in pressure between the plates, forcing them in to contact each other, similar to a clutch pack. In the hump mode, the coupling can bias torque 100 percent to 1 axle. To prevent damage to the viscous coupling, the following should be avoided in the vehicle:

    • Do not tow with only 2 wheels on the ground.
    • Do not drive with 1 propeller shaft removed.
    • Do not drive with a mini spare tire for any extended period of time.
    • Do not operate the vehicle on a hoist to diagnose the driveline components.

Customers may have concern that the transfer case is not operating properly, because 1 set of tires spun for a brief period. It is normal for 1 set of tires to spin until the viscous coupling engages. Turning off the traction control switch, if equipped, enhances the function of the viscous coupling. The viscous coupling, as described above, engages by heat. Allowing 1 set of tires to spin or slip for a very brief period, generates heat in the viscous coupling. The engine speed should be kept at a constant speed during the brief spin of the tires. Feathering the engine speed, or hard acceleration, will not allow the viscous coupling to operate properly.

Power Flow - No Wheel Slip


Object Number: 851796  Size: LF

During normal operation, 100 percent engine torque is delivered to the input shaft (1) from the transmission. The torque is split 65 percent to the rear output shaft (5), and 35 percent to the front output shaft (9), by the planetary differential (4). Because there is not a loss in traction, or slip in the front or rear wheels, the viscous coupling (3) is locked in place and there is no shear mode or hump mode involved.

Power Flow - Front Wheel Slip


Object Number: 851797  Size: LF

When traction is lost at the front wheels, the viscous coupling (3) works in conjunction with the planetary differential (4) to bias the torque more to the rear wheels. The rear torque goes higher than 65 percent, up to 100 percent torque to the rear output shaft (5). The torque at the front output shaft (9) is lowered from 35 percent, to as low as 0 percent torque.

Power Flow - Rear Wheel Slip


Object Number: 851798  Size: LF

When traction is lost at the rear wheels, the torque is biased to the front wheels. The torque to the front output shaft (9) goes higher than 35 percent, up to 100 percent. The torque at the rear output shaft (5) is lowered from 65 percent, to as low as 0 percent torque.