GM Service Manual Online
For 1990-2009 cars only
Figure 1:

Left Front of the Vehicle - Sealed Headlamp


Object Number: 886055  Size: MF
(1)Headlamp - Left
Figure 2:

Right Front of the Vehicle - Sealed Headlamp


Object Number: 886056  Size: MF
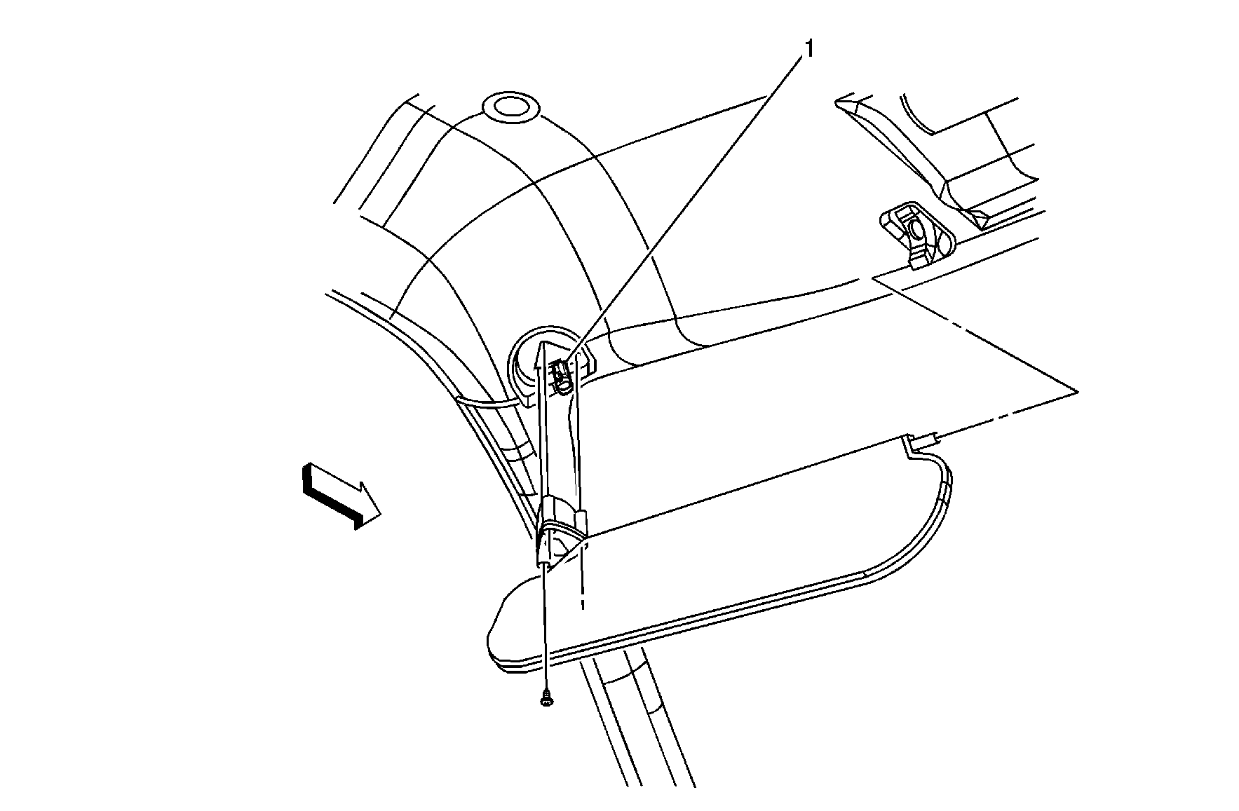
(1)Headlamp - Right
Figure 3:

Left Front of the Vehicle - Composite Headlamp


Object Number: 886057  Size: MF
(1)Headlamp - High Beam Connector - Left
(2)Headlamp - Low Beam Connector - Left
Figure 4:

Right Front of the Vehicle - Composite Headlamp


Object Number: 886058  Size: MF
(1)Headlamp - Low Beam Connector - Right
(2)Headlamp - High Beam Connector - Right
Figure 5:

Forward Lamps Harness Routing


Object Number: 882406  Size: LF
(1)Marker Lamp Connector - LF
(2)G100
(3)Headlamp - Low Beam Connector - Left (Composite)
(4)Headlamp - High Beam Connector - Left (Composite)
(5)S110
(6)S118
(7)Park/Turn Signal Lamp Connector - RF
(8)Marker Lamp Connector - RF
(9)G101
(10)Headlamp - Low Beam Connector - Right (Composite)
(11)Headlamp - High Beam Connector - Right (Composite)
(12)Park/Turn Signal Lamp Connector - LF
(13)Fuse Block Underhood - C4
Figure 6:

Underhood Lamp Harness


Object Number: 882757  Size: MF
(1)Underhood Lamp Connector
(2)C109
Figure 7:

I/P Harness Routing - Left Side of the I/P


Object Number: 883616  Size: MF
(1)C221
(2)Data Link Connector (DLC)
(3)Stop Lamp Switch Connector
Figure 8:

Left Side of the I/P


Object Number: 903101  Size: MF
(1)Headlamp and Panel Dimmer Switch
Figure 9:

Upper Steering Column


Object Number: 1195907  Size: LF
(1)Passlock Sensor
(2)Ignition Key Alarm Switch
(3)Ignition Lock Cylinder Control Actuator
(4)Ignition Switch
(5)Ignition Key Cylinder
(6)Horn Switch
(7)Inflatable Restraint Steering Wheel Module
(8)Turn Signal/Multifunction Switch
(9)Hazard Warning Switch
Figure 10:

Center of the I/P


Object Number: 1364551  Size: MF
(1)I/P Carrier
(2)Chime Module (UL5)
(3)Turn Signal/Hazard Flasher Module
Figure 11:

Upper Left Front of the Passenger Compartment


Object Number: 886090  Size: MF
(1)Vanity Mirror Lamp Connector - Left (DH6)
Figure 12:

Upper Right Front of the Passenger Compartment


Object Number: 886091  Size: MF
(1)Vanity Mirror Lamp Connector - Right (DH6)
Figure 13:

Driver Door


Object Number: 886092  Size: MF
(1)Mini-Wedge Door Jamb Switch - Driver
Figure 14:

Front Passenger Door


Object Number: 886094  Size: MF
(1)Mini-Wedge Door Jamb Switch - Front Passenger
Figure 15:

Body Harness Routing - Left B-Pillar (Passenger/Cargo)


Object Number: 885006  Size: LF
(1)Body Harness Cover
(2)S311 (w/o YF7)
(3)S310 (w/o YF7)
(4)S308 (w/o YF7)
(5)C304 (w/o YF7)
(6)C203 (YF7/DH6)
(7)C303 (YF7/C69 w/Rear Auxiliary Controls)
(8)Door Contact Plate Connector - Left (E26/AU3)
(9)C407 (ENC)
(10)C409 (ENC)
(11)Fuse Block Body - C2
(12)S310 (YF7)
(13)S308 (YF7)
(14)S311 (YF7)
(15)Body Harness
(16)Body Harness
(17)Lower B-Pillar
(18)Door Ajar Switch Connector - LR (E26)
(19)SP347
(20)G347
Figure 16:

Body Harness Routing - Right B-Pillar


Object Number: 901419  Size: MF
(1)C312
(2)Seat Belt Pretensioner Connector - RF (Light Duty)
(3)C306
(4)Door Contact Plate Connector - Right (Passenger/Cargo w/AU3)
(5)Door Ajar Switch Connector - RR (Passenger/Cargo)
Figure 17:

Chassis Harness Routing (Passenger/Cargo)


Object Number: 884970  Size: LF
(1)Fuse Block Underhood - C3
(2)Fuse Block Underhood - C7
(3)Fuse Block Underhood - C8 (UY7)
(4)Wheel Speed Sensor (WSS) Connector - RF
(5)Brake Pressure Differential Switch Connector (Light Duty)
(6)Evaporative Emission (EVAP) Canister Vent Solenoid Connector
(7)S301
(8)Electronic Brake Control Module (EBCM) - C2
(9)Electronic Brake Control Module (EBCM) - C1
(10)Trailer Right Stop/Turn Relay (UY7)
(11)Trailer Left Stop/Turn Relay (UY7)
(12)G300
(13)Wheel Speed Sensor (WSS) Connector - LF
(14)C101
Figure 18:

Headliner (Passenger/Cargo)


Object Number: 903102  Size: MF
(1)Courtesy/Reading Lamp - Front
(2)Courtesy/Reading Lamp - Mid
(3)Courtesy/Reading Lamp - Rear
(4)Dome Lamp - Rear (Cargo)
Figure 19:

Pro Harness and Components (PRP)


Object Number: 824051  Size: LF
(1)Dome Fluorescent Work Lamp - LR (UF2)
(2)Dome Fluorescent Work Lamp - LF (UF2)
(3)S350 (UF2)
(4)S348 (UF2)
(5)Dome Fluorescent Work Lamp - 2 (UF2)
(6)Dome Fluorescent Work Lamp - 1 (UF2)
(7)Dome Fluorescent Work Lamp - RH (UF2)
(8)Access Panel Actuator - Right Side Front
(9)Access Panel Actuator - Right Side Rear
(10)S409
(11)C204
(12)Body Control Module (BCM)
(13)S205
(14)C206
(15)C205
(16)I/P Harness
(17)Fuse Block - Body
(18)S302 (UF2)
(19)S303
(20)Fuse Block - Rear
(21)S309
(22)S300
(23)S408
(24)G403
(25)Access Panel Actuator - Left Rear Side Rear
(26)Access Panel Actuator - Left Rear Side Front
(27)Access Panel Actuator - Left Front Side Rear
(28)Access Panel Actuator - Left Front Side Front
Figure 20:

Body Harness Routing - Rear of the Passenger Compartment (Passenger/Cargo)


Object Number: 885009  Size: LF
(1)G401
(2)S451
(3)C415
(4)C419
(5)S450
(6)S401
(7)S404
(8)G402
(9)Tail Lamp Assembly Connector - Left
(10)C411
(11)C407 - 135 Wheel Base (C36/C69)
(12)C409 - 135 Wheel Base (C36/C69)
(13)C400
(14)C412
(15)Tail Lamp Assembly Connector - Right
(16)S403 (w/o YF7)
Figure 21:

Right Rear Cargo Door Harness Routing (Passenger/Cargo)


Object Number: 885020  Size: LF
(1)Rear Window Defogger Grid Connector - Right (C49)
(2)Mini-Wedge Door Jamb Switch - Cargo
(3)Door Lock Switch Connector - Rear Cargo (AU3)
(4)License Lamp Connector
(5)S902
(6)Speaker Connector - RR Door (UB1/UC6)
(7)C412
(8)C400
Figure 22:

Rear of the Vehicle (Passenger/Cargo)


Object Number: 1227602  Size: MF
(1)Tail/Stop and Turn Signal Lamp - Left
(2)Center High Mounted Stop Lamp (CHMSL)
(3)Tail/Stop and Turn Signal Lamp - Right
(4)Backup Lamp - Right
(5)License Lamp
(6)Backup Lamp - Left