Removal Procedure
Important: Do not exchange the vehicle communication interface module with other vehicles.
Each vehicle communication interface module has a specific station identification
(STID) and electronic serial number (ESN). These identification numbers are stored
in the General Motors vehicle history files by VIN and used by OnStar® and the
National Cellular Telephone Network.
- Remove the drivers knee bolster. Refer to
Driver Knee Bolster Replacement
in Instrument Panel, Gages, and Console.
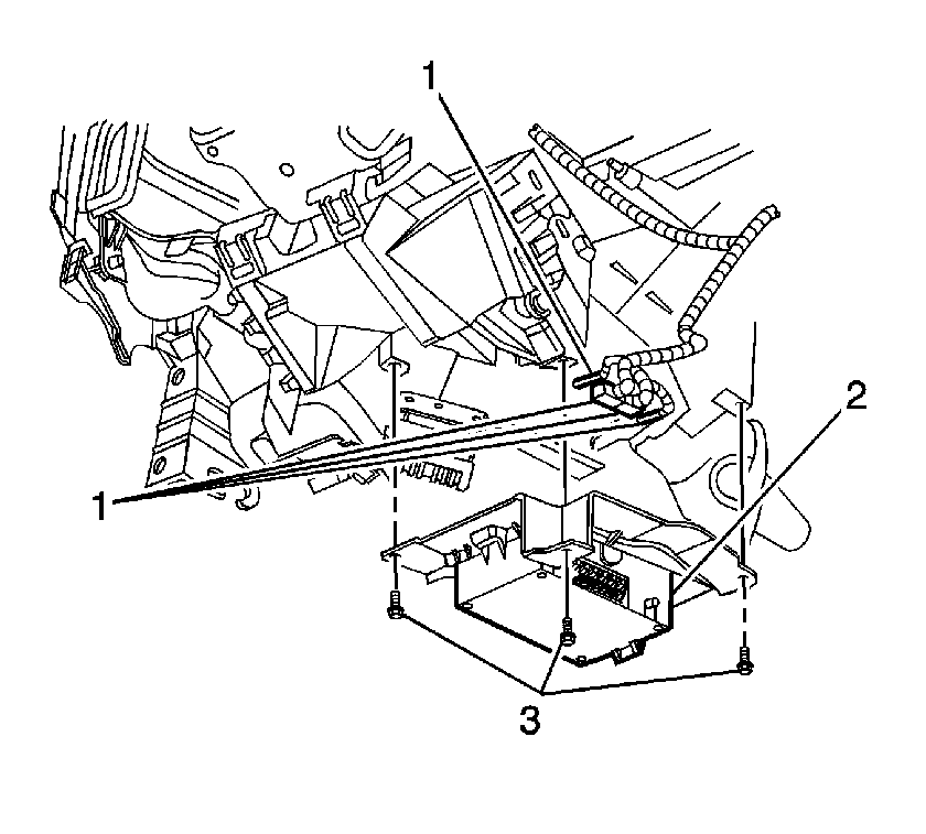
- Disconnect the coaxial cable and the electrical connectors (2)
from the module.
- Remove the bolts (3) retaining the module bracket to the instrument
panel (I/P).
- Remove the module and bracket (2) from the vehicle.
- Release the tab (2) on the mounting bracket and pull that end of the
module (3) away from the bracket.
- Slide the module (3) out of the mounting bracket (1).
Installation Procedure
- Slide the module (3) into the mounting bracket (1).
- Push the module (3) towards the mounting bracket (1) at
the end near the tab (2).
Push until the module (3) is seated in the mounting bracket (1).
- Install the module and bracket (2)
to the I/P.
Notice: Refer to Fastener Notice in the Preface section.
- Install the bolts (3).
Tighten
Tighten the bolts (3) to 3 N·m (27 lb in).
- Connect the coaxial cable and the electrical connectors (2) to
the module.
- Install the drivers knee bolster. Refer to
Driver Knee Bolster Replacement
in Instrument Panel, Gages,
and Console.