| Table 1: | Access Panel Actuators - Left Front Side (PRP) |
| Table 2: | Access Panel Actuators - Left Rear Side (PRP) |
| Table 3: | Access Panel Actuators - Right Side (PRP) |
| |||||||
|---|---|---|---|---|---|---|---|
Connector Part Information |
| ||||||
Pin | Wire Color | Circuit No. | Function | ||||
1-2 | -- | -- | Not Used | ||||
3 | TAN | 294 | Access Panel Left Front Side Unlock Control | ||||
4 | BLK | 750 | Ground | ||||
| |||||||
|---|---|---|---|---|---|---|---|
Connector Part Information |
| ||||||
Pin | Wire Color | Circuit No. | Function | ||||
1-2 | -- | -- | Not Used | ||||
3 | PNK | 1092 | Access Panel Left Rear Side Unlock Control | ||||
4 | BLK | 750 | Ground | ||||
| |||||||
|---|---|---|---|---|---|---|---|
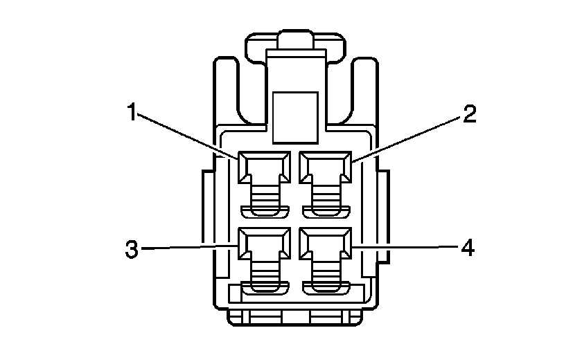
Connector Part Information |
| ||||||
Pin | Wire Color | Circuit No. | Function | ||||
1-2 | -- | -- | Not Used | ||||
3 | TAN/BLK | 1095 | Access Panel Right Side Unlock Control | ||||
4 | BLK | 750 | Ground | ||||