GM Service Manual Online
For 1990-2009 cars only

Removal Procedure


    Object Number: 892068  Size: SH
  1. Remove the center seat belt retractor seat belt opening trim (1).

  2. Object Number: 892066  Size: SH
  3. Remove the center seat belt retractor trim cover bolt (1).
  4. Remove the center seat belt retractor trim cover (2).

  5. Object Number: 892058  Size: SH
  6. Carefully pull the rear seat back trim down enough to expose the center seat belt retractor bolt.
  7. Remove the seat belt center retractor bolt.

  8. Object Number: 892056  Size: SH
  9. Slide the center seat belt retractor up and out of the key hole slots on the seat back frame.

  10. Object Number: 892054  Size: SH
  11. Partially remove the seat cushion cover (1) in order to gain access to the center seat belt retractor lower bolt (2).
  12. Remove the center seat belt retractor lower bolt (2).
  13. Remove the center seat belt retractor assembly from the vehicle.

Installation Procedure


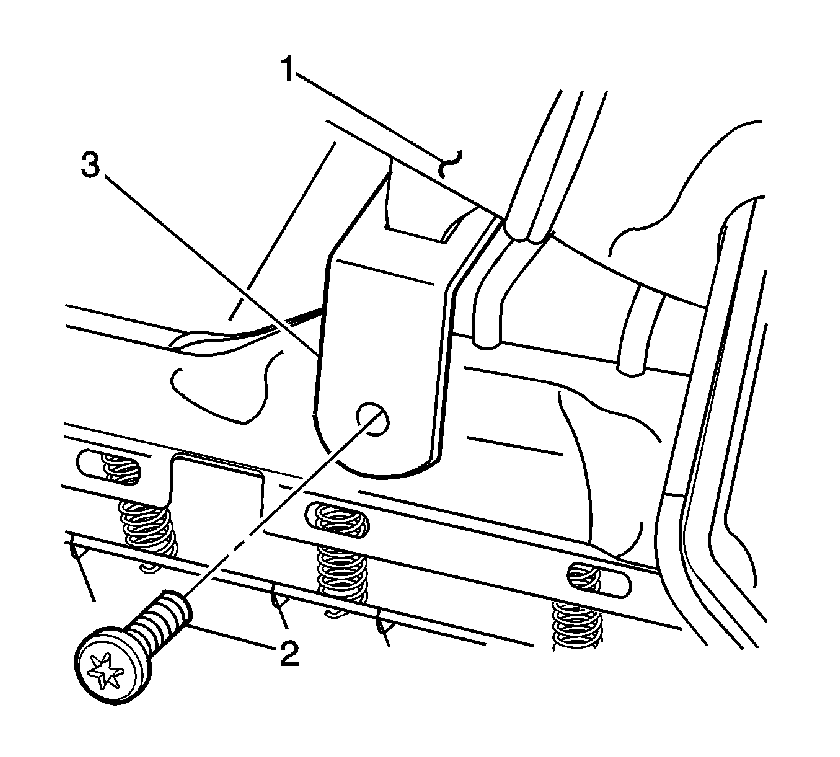
    Object Number: 892054  Size: SH
  1. Install the center seat belt lower belt (3) to the seat cushion frame.
  2. Notice: Use the correct fastener in the correct location. Replacement fasteners must be the correct part number for that application. Fasteners requiring replacement or fasteners requiring the use of thread locking compound or sealant are identified in the service procedure. Do not use paints, lubricants, or corrosion inhibitors on fasteners or fastener joint surfaces unless specified. These coatings affect fastener torque and joint clamping force and may damage the fastener. Use the correct tightening sequence and specifications when installing fasteners in order to avoid damage to parts and systems.

  3. Install the center seat belt retractor lower bolt (2).
  4. Tighten
    Tighten the center seat belt retractor lower bolt (2) to 52 N·m (38 lb ft).

  5. Install the seat cushion cover (1).

  6. Object Number: 892056  Size: SH
  7. Slide the center seat belt retractor into key hole slots in the seat back frame.

  8. Object Number: 892058  Size: SH
  9. Carefully pull the rear seat back trim down enough to expose the center seat belt retractor bolt hole.
  10. Install the center seat belt retractor bolt.
  11. Tighten
    Tighten the center seat belt retractor upper bolt to 52 N·m (38 lb ft).


    Object Number: 892066  Size: SH
  12. Install the center seat belt retractor trim cover (2).
  13. Install the center seat belt retractor trim cover bolt (1).
  14. Tighten
    Tighten the center seat belt retractor trim cover bolt to 1.5 N·m (13 lb in).


    Object Number: 892068  Size: SH
  15. Install the center seat belt retractor seat belt opening trim (1).