GM Service Manual Online
For 1990-2009 cars only

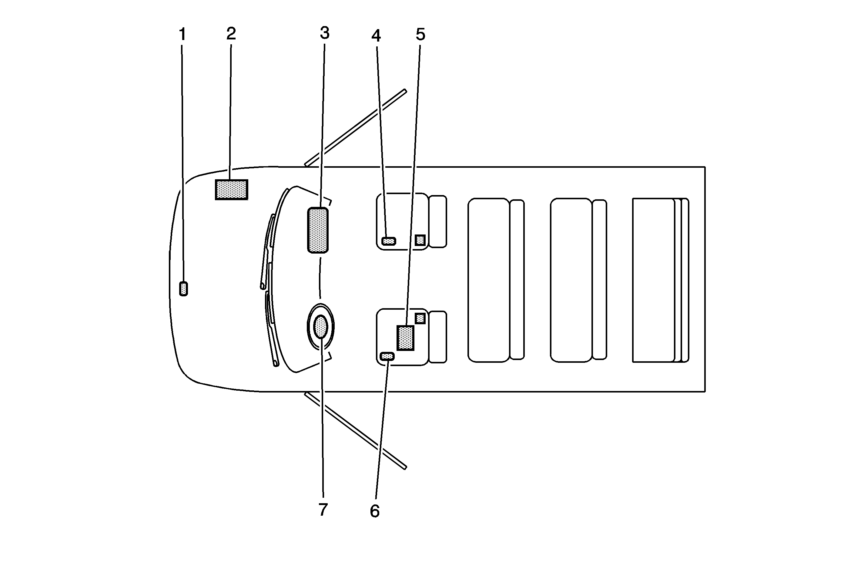
The SIR Identification Views shown below illustrate the approximate location of all SIR components available for the vehicle. This will assist in determining the appropriate SIR Disabling and Enabling for a given service procedure, refer to SIR Disabling and Enabling .

Express/Savana


Object Number: 1331328  Size: MF
(1)Inflatable Restraint Front End Sensor-Located on the front frame crossmember at center
(2)Battery-Located under the hood on the right side
(3)Inflatable Restraint I/P Module-Located at the right front of the instrument panel cluster
(4)Inflatable Restraint Seat Position Sensor (SPS)-Right-Located on the right front inboard seat track
(5)Inflatable Restraint Sensing and Diagnostic Module (SDM)-Located under the left front seat under the carpet
(6)Inflatable Restraint Seat Position Sensor (SPS)-Left-Located on the left front outboard seat track
(7)Inflatable Restraint Steering Wheel Module-Located on the steering wheel