GM Service Manual Online
For 1990-2009 cars only

Your vehicle has an underbody-mounted tire hoist assembly equipped with a secondary latch system. It is designed to stop the spare tire from suddenly falling off the vehicle if the cable holding the spare tire is damaged. For the secondary latch to work, the tire must be stowed with the valve stem pointing down.

See Storing a Flat or Spare Tire and Tools for instructions on storing the spare tire correctly.

Caution: Before beginning this procedure read all the instructions. Failure to read and follow the instructions could damage the hoist assembly and you and others could get hurt. Read and follow the instructions listed next.

To release the spare tire from the secondary latch:

Caution: Someone standing too close during the procedure could be injured by the jack. If the spare tire does not slide off the jack completely, make sure no one is behind you or on either side of you as you pull the jack out from under the spare.

  1. Check under the vehicle to see if the cable end is visible.


    Object Number: 806961  Size: A3

    If the cable is not visible, start this procedure at Step 6.

  2. Turn the wrench counterclockwise until approximately 6 inches (15 cm) of cable is exposed.

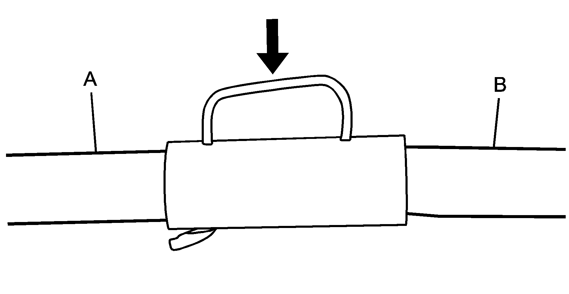
  3. Object Number: 1828612  Size: B2
  4. Connect the jack handle (A) and jack handle extension (B) together and press the retention clip (arrow) so it engages.

  5. Object Number: 1828622  Size: B2
  6. Attach the jack handle/jack handle extension to the jack . With the UP mark facing you, slide the ratchet onto the end of the jack handle extension.

  7. Object Number: 1828627  Size: B3
  8. Place the jack under the vehicle, ahead of the rear bumper. Position the center lift point of the jack under the center of the spare tire and turn the handle clockwise to raise the jack until it lifts the secondary latch spring.
  9. Keep raising the jack until the spare tire stops moving upward and is held firmly in place. This lets you know that the secondary latch has released. The spare tire is now balancing on the jack.
  10. Lower the jack by turning the ratchet counterclockwise. Keep lowering the jack until the spare tire slides off the jack or is hanging by the cable.
  11. Disconnect the jack handle from the jack and carefully remove the jack. Use one hand to push against the spare while firmly pulling the jack out from under the spare tire with the other hand.
  12. If the spare tire is hanging from the cable, slide the ratchet onto the wheel wrench and insert the wheel wrench into the hoist shaft hole above the bumper. Turn the wheel wrench counterclockwise to lower the spare the rest of the way. Be sure the DOWN mark on the ratchet is facing you.

  13. Tilt the retainer at the end of the cable and pull it through the wheel opening. Pull the tire out from under the vehicle.
  14. Notice: If you drive away before the spare tire or secondary latch system cable has been reinstalled, you could damage your vehicle. Always reinstall this cable before driving your vehicle.

  15. If the cable is hanging under the vehicle, turn the wheel wrench in the hoist shaft hole in the bumper clockwise to raise the cable back up.

Have the hoist assembly inspected as soon as you can. You will not be able to store a spare or flat tire using the hoist assembly until it has been repaired or replaced.

To continue changing the flat tire, return to Step 4 of Removing the Flat Tire and Installing the Spare Tire .