GM Service Manual Online
For 1990-2009 cars only

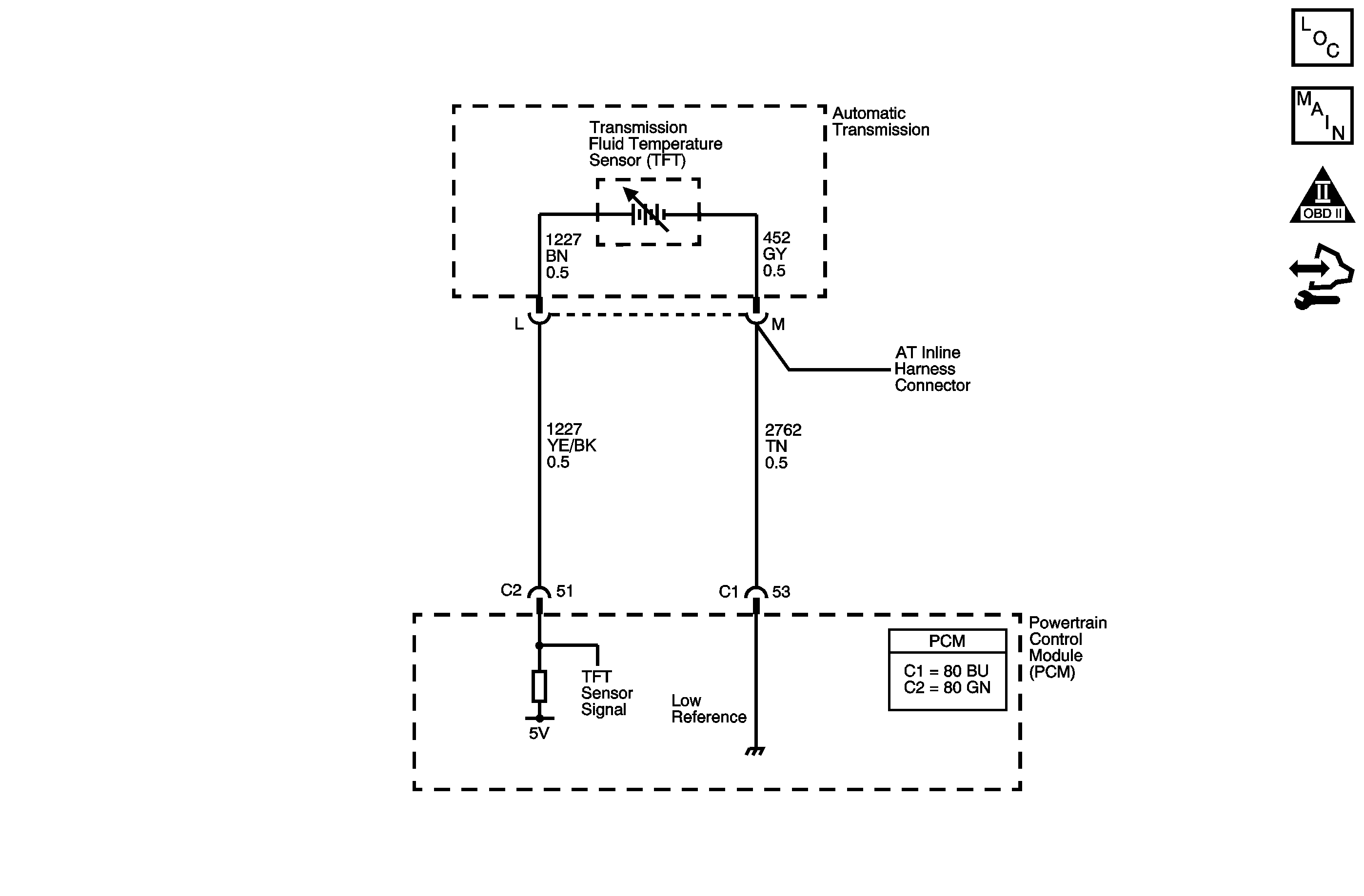
Object Number: 1455561  Size: MF
Master Electrical Component List
Automatic Transmission Controls Schematics
OBD II Symbol Description Notice
Control Module References

Circuit Description

The automatic transmission fluid temperature (TFT) sensor is part of the 4L80-E automatic transmission (AT) wiring harness assembly. The TFT sensor is a resistor, or thermistor, which changes value based on temperature. The sensor has a negative-temperature coefficient. This means that as the temperature increases, the resistance decreases, and as the temperature decreases the resistance increases. The powertrain control module (PCM) supplies a 5 volt reference signal to the sensor and measures the voltage drop in the circuit. When the transmission fluid is cold, the sensor resistance is high and the PCM detects high signal voltage. As the fluid temperature warms to a normal operating temperature, the resistance becomes less and the signal voltage decreases. The PCM uses this information to control shift quality and torque converter clutch apply.

If the PCM detects a continuous short to ground in the TFT sensor or signal circuit, then DTC P0712 sets. DTC P0712 is a type C DTC.

DTC Descriptor

This diagnostic procedure supports the following DTC:

DTC P0712 Transmission Fluid Temperature (TFT) Sensor Circuit Low Voltage

Conditions for Running the DTC

    • No TFT DTC P0713.
    • System voltage is 8-18 volts.
    • The engine is running for greater than 7 seconds.

Conditions for Setting the DTC

The TFT sensor indicates a voltage of less than 0.14 volts for 17 seconds.

Action Taken When the DTC Sets

    • The PCM does not illuminate the malfunction indicator lamp (MIL).
    • The PCM commands increased line pressure.
    • The PCM freezes transmission adaptive functions.
    • The PCM determines a default transmission fluid temperature (TFT) using the following matrix:
       - If the engine run time is less than 60 seconds then default TFT equals 47°C (117°F).
       - If ECT is less than 20°C (68°F), then default TFT equals IAT.
       - If the ECT is 20-110°C (68-230°F) then default TFT equals ECT.
       - If the ECT is greater than 110°C (230°F) then default TFT is set to 140°C (284°F) and transmission shift pattern is in hot mode.
       - If ECT and TFT DTCs are both set then default TFT is 140°C (284°F).
    • The PCM records the operating conditions when the Conditions for Setting the DTC are met. The PCM stores this information as Failure Records.
    • The PCM stores DTC P0712 in PCM history.

Conditions for Clearing the DTC

    • A scan tool clears the DTC from PCM history.
    • The PCM clears the DTC from PCM history if the vehicle completes 40 warm-up cycles without a non-emission related diagnostic fault occurring.
    • The PCM cancels the DTC default actions when the fault no longer exists and the ignition switch is OFF long enough in order to power down the PCM.

Diagnostic Aids

DTC P0712 defaults to an elevated line pressure condition which may result in partial TCC apply. This may produce an idle surge that could stall the engine.

Test Description

The numbers below refer to the step numbers on the diagnostic table.

  1. This step tests for a short to ground or a skewed sensor by verifying the fault still exists.

  2. This step tests for an internal fault within the transmission by creating an open.

Step

Action

Value(s)

Yes

No

1

Did you perform the Diagnostic System Check - Vehicle?

--

Go to Step 2

Go to Diagnostic System Check - Vehicle in Vehicle DTC Information

2

Inspect for correct transmission fluid level. Refer to Transmission Fluid Check .

Did you perform the fluid checking procedure?

--

Go to Step 3

Go to Transmission Fluid Check

3

  1. Install a scan tool.
  2. Turn ON the ignition, with the engine OFF.
  3. Important: Before clearing the DTC, use the scan tool in order to record the Failure Records. Using the Clear Info function erases the Failure Records from the PCM.

  4. Record the DTC Failure Records.
  5. Clear the DTC.

Does the scan tool display a TFT Sensor signal voltage greater than the specified value?

0.2 V

Go to Intermittent Conditions in Engine Controls - 4.8L, 5.3L, and 6.0L

Go to Step 4

4

  1. Turn OFF the ignition.
  2. Disconnect the AT inline 20-way connector. Additional DTCs may set.
  3. Turn ON the ignition, with the engine OFF.

Does the scan tool display a TFT Sensor signal voltage greater than the specified value?

4.92 V

Go to Step 5

Go to Step 6

5

  1. Turn OFF the ignition.
  2. Install the J 44152 jumper harness (20 pins) on the transmission side of the AT inline 20-way connector.
  3. Using the DMM and the J 35616 GM terminal test kit, measure the resistance between terminals L and M of the J 44152 . Refer to Automatic Transmission Inline 20-Way Connector End View .

Does the resistance measure within the specified range?

3,088-3,942 ohms at 20°C (68°F)

159-198 ohms at 100°C (212°F)

Go to Intermittent Conditions in Engine Controls - 4.8L, 5.3L, and 6.0L

Go to Step 7

6

Test the signal circuit of the TFT sensor for a short to ground between the PCM connector C2 and the AT inline 20-way connector. Refer to Testing for Short to Ground and Wiring Repairs in Wiring Systems.

Did you find and correct the condition?

--

Go to Step 9

Go to Step 8

7

Replace the AT wiring harness assembly. Refer to Valve Body and Pressure Switch Replacement .

Did you complete the replacement?

--

Go to Step 9

--

8

Replace the PCM. Refer to Control Module References in Computer/Integrating Systems for replacement, set-up, and programming.

Did you complete the replacement?

--

Go to Step 9

--

9

Perform the following procedure in order to verify the repair:

  1. Select DTC.
  2. Select Clear Info.
  3. Turn ON the ignition, with the engine OFF.
  4. Verify that the scan tool indicates a TFT Sensor signal voltage greater than 0.2 volts for 10 seconds.
  5. Select Specific DTC.
  6. Enter DTC P0712.

Has the test run and passed?

--

Go to Step 10

Go to Step 2

10

With the scan tool, observe the stored information, capture info and DTC info.

Does the scan tool display any DTCs that you have not diagnosed?

--

Go to Diagnostic Trouble Code (DTC) List - Vehicle in Vehicle DTC Information

System OK