| Subject: | Diagnostic Information on Turbocharger Malfunction Due to Lack of Engine Oil for LBZ, LB7, LLY Duramax™ Diesel Engine |
| Models: | 2001-2006 Chevrolet Silverado |
| 2003-2006 Chevrolet Kodiak C4500-C5500 Series |
| 2006 Chevrolet Express |
| 2001-2006 GMC Sierra |
| 2003-2006 GMC TopKick C4500-C5500 Series |
| 2006 GMC Savana |
| with 6.6L Duramax™ V8 Diesel Engine (VINs D, 1, 2 -- RPOs LBZ, LB7, LLY) |
This bulletin is being revised to add additional model years and enhance the content. Please discard Corporate Bulletin Number 03-06-93-001B (Section 06 -- Engine/Propulsion System).
Notice:: Before installing a new turbocharger, clean any debris or excessive oil from the charge air cooler and intake system in order to prevent damage to the new turbocharger or an engine overspeed condition.
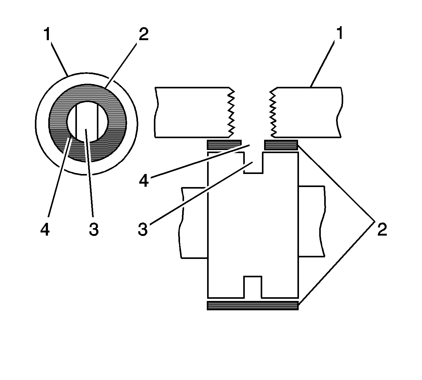
If a turbocharger performance concern is thought to be caused from a deficiency of engine oil, the camshaft bearing should be checked. The number 4 camshaft bearing bore feeds the turbocharger engine oil supply hose. If this camshaft bearing spins in the bore, the turbocharger will be deprived of engine oil. This will cause a performance concern with the turbocharger. Incorrect diagnosis of this condition will result in a repeat performance concern with the turbocharger.
If the turbocharger has to be replaced, perform the following procedure in order to verify the condition of the number 4 camshaft bearing before installing a new turbocharger.
If a lack of oil is suspected, the turbocharger oil supply hose should also be checked for damage. The turbocharger oil feed line is a high pressure plastic tube that is protected by a stainless steel braided covering. If it is twisted at all or bent too far during turbocharger removal, the plastic line may fold and kink. The kink may cause an oil flow restriction. If the plastic pipe does kink, it will not return back to its normal size and shape. The damage may not be obvious upon inspection because the braided steel covering will hide the deformity.
During turbocharger removal on the 6.6L LB7 engine, the turbocharger oil feed line can be pulled directly away from the turbocharger body in a perpendicular fashion. Care must be taken to avoid excessive bending of the line.
During repairs on the 6.6L LBZ or LLY engine, the EGR cooler does not allow enough perpendicular movement of the line to clear the turbocharger for removal. However, the line can be pushed straight forward of the turbocharger with less risk of kinking the line. Assistance may be required to keep the lines clear of the turbocharger during removal or installation.
Notice: Do not twist the turbocharger oil supply line. Twisting of the line will result in the collapse and deformation of the plastic line, restricting oil flow and causing turbocharger performance concerns.