GM Service Manual Online
For 1990-2009 cars only

DTC P0711 4.8L and 6.0L


Object Number: 1727590  Size: MF
Master Electrical Component List
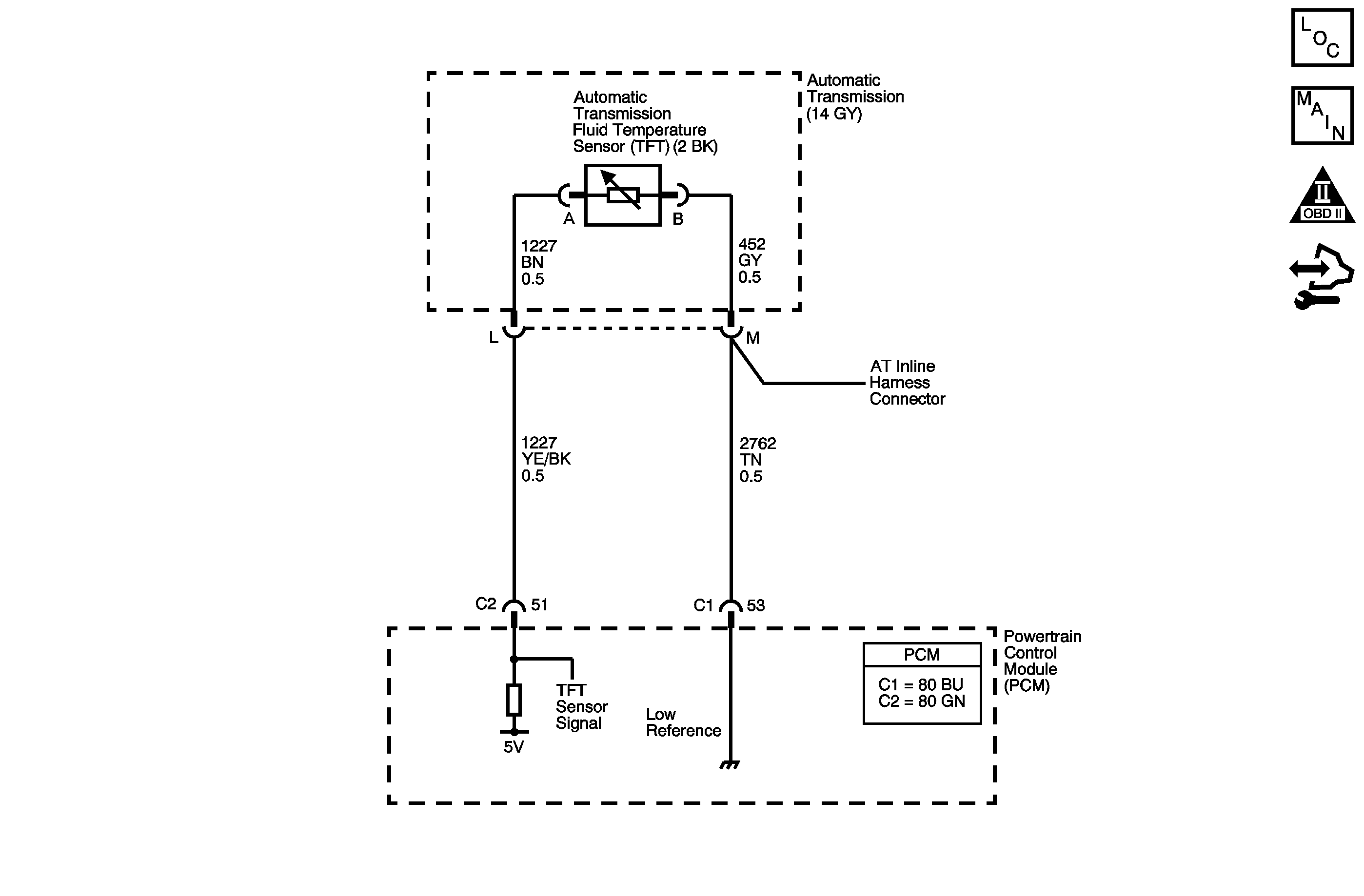
Automatic Transmission Controls Schematics (4.8L and 6.0L)
OBD II Symbol Description Notice
Control Module References

Circuit Description

The automatic transmission fluid temperature (TFT) sensor is part of the 4L80-E automatic transmission (AT) wiring harness assembly. The TFT sensor is a resistor, or thermistor, which changes value based on temperature. The sensor has a negative temperature coefficient. This means that as the temperature increases, the resistance decreases, and as the temperature decreases the resistance increases. The powertrain control module (PCM) supplies a 5-volt reference signal to the sensor and measures the voltage drop in the circuit. When the transmission fluid is cold, the sensor resistance is high and the PCM detects high signal voltage. As the fluid temperature warms to a normal operating temperature, the resistance becomes less and the signal voltage decreases. The PCM uses this information to control shift quality and torque converter clutch (TCC) apply.

If the PCM detects the TFT sensor resistance has no change, intermittent, or an unrealistic change in a short amount of time, such as multiple changes within seconds, then DTC P0711 sets. DTC P0711 is a type C DTC.

DTC Descriptor

This diagnostic procedure supports the following DTC:

DTC P0711 Transmission Fluid Temperature (TFT) Sensor Performance

Conditions for Running the DTC

    • No ECT DTCs P0117 or P0118.
    • No VSS DTC P0502 or P0503.
    • No AT ISS DTC P0716 or P0717.
    • No component slipping DTC P0894.
    • System voltage is 8-18 volts.
    • The engine is running for greater than 35 seconds.
    • The TFT is -40 to +21°C (-40 to +70°F) at start up.
    • The engine coolant temperature (ECT) is 85°C (185°F) or greater.
    • ECT has changed at least 55°C (99°F) since start up.
    • The vehicle speed is 8 km/h (5 mph) or greater for 750 seconds (12.5 minutes) cumulatively.
    • The TCC slip speed is 60 RPM or greater for 500 seconds (8.3 minutes) cumulatively.

Conditions for Setting the DTC

One of the following conditions occurs:

Condition 1

The TFT has not changed more than 2.25°C (4°F), in more than 80 seconds. No TFT change.

Condition 2

Unrealistic TFT change of more than 20°C (36°F) 14 times in 7 seconds.

Action Taken When the DTC Sets

    • The PCM does not illuminate the malfunction indicator lamp (MIL).
    • The PCM commands increased line pressure.
    • The PCM freezes transmission adaptive functions.
    • The PCM determines a default TFT using the following matrix:
       - If the engine run time is less than 60 seconds then default TFT equals 47°C (117°F).
       - If ECT is less than 20°C (68°F), then default TFT equals IAT.
       - If the ECT is 20-110°C (68-230°F) then default TFT equals ECT.
       - If the ECT is greater than 110°C (230°F) then default TFT is set to 140°C (284°F) and transmission shift pattern is in hot mode.
       - If ECT and TFT DTCs are both set then default TFT is 140°C (284°F).
    • The PCM records the operating conditions when the Conditions for Setting the DTC are met. The PCM stores this information as Failure Records.
    • The PCM stores DTC P0711 in PCM history.

Conditions for Clearing the DTC

    • A scan tool clears the DTC from PCM history.
    • The PCM clears the DTC from PCM history if the vehicle completes 40 warm-up cycles without a non-emission related diagnostic fault occurring.
    • The PCM cancels the DTC default actions when the fault no longer exists and the ignition switch is OFF long enough in order to power down the PCM.

Diagnostic Aids

    • DTC P0218 may set approximately 600 seconds (10 minutes) after DTC P0711 has set. Follow the diagnostic table for DTC P0711 before proceeding to the diagnostic table for DTC P0218.
    • DTC P0711 defaults to an elevated line pressure condition which may result in partial TCC apply. This may produce an idle surge that could stall the engine.

Test Description

The numbers below refer to the step numbers on the diagnostic table.

  1. This step inspects for proper transmission fluid level and condition.

  2. This step verifies which condition has set DTC P0711.

  3. The 12 volt test lamp is used as a fixed resistance.

  4. This step ensures that the PCM monitors the TFT Sensor Signal circuit.

Step

Action

Yes

No

1

Did you perform the Diagnostic System Check - Vehicle?

Go to Step 2

Go to Diagnostic System Check - Vehicle

2

Perform the Transmission Fluid Checking Procedure. Refer to Transmission Fluid Check .

Was the Transmission Fluid Checking Procedure performed?

Go to Step 3

Go to Transmission Fluid Check

3

  1. Install a scan tool.
  2. Turn ON the ignition, with the engine OFF.
  3. Important: Before clearing the DTCs, use the scan tool in order to record the Failure Records. Using the Clear Info function erases the Failure Records from the PCM.

  4. Record the Failure Records.
  5. Clear the DTCs.
  6. Select TFT on the scan tool.
  7. Drive the vehicle and observe the scan tool for one of the following conditions:
  8. • No TFT change.
    • An unrealistic TFT change. The TFT change is greater than 20°C (36°F) 14 times in 7 seconds.

Did either of the fail conditions occur?

Go to Step 4

Go to Testing for Intermittent Conditions and Poor Connections

4

Did the scan tool display an unrealistic TFT change?

Go to Step 5

Go to Step 6

5

  1. Turn OFF the ignition.
  2. Disconnect the transmission AT inline 20-way connector. Additional DTCs may set.
  3. Using the J 35616 GM terminal test kit, install a 12 volt test lamp between the TFT sensor signal circuit and low reference circuit of the engine side of the transmission AT inline 20-way connector.
  4. Turn ON the ignition, with the engine OFF.

Does the scan tool TFT display an unrealistic TFT change?

Go to Step 7

Go to Step 8

6

  1. Record the scan tool TFT display from Step 4.
  2. Turn OFF the ignition.
  3. Disconnect the transmission AT inline 20-way connector. Additional DTCs may set.
  4. Turn ON the ignition, with the engine OFF.

Is the scan tool TFT the same as in Step 4?

Go to Step 7

Go to Step 8

7

Replace the PCM. Refer to Control Module References for replacement, setup, and programming.

Did you complete the replacement?

Go to Step 9

--

8

Replace the TFT sensor. Refer to Valve Body and Pressure Switch Replacement .

Did you complete the replacement?

Go to Step 9

--

9

Perform the following procedure in order to verify the repair:

  1. Select DTC.
  2. Select Clear Info.
  3. Operate the vehicle under the following conditions:
  4. • The TFT changes by greater than 3°C (5°F) after the engine has been running for 35 seconds.
    • For a period of at least 11 seconds, the TFT does not change greater than 20°C (36°F) within 0.2 second.
  5. Select Specific DTC.
  6. Enter DTC P0711.

Has the test run and passed?

Go to Step 10

Go to Step 2

10

With the scan tool, observe the stored information, capture info and DTC info.

Does the scan tool display any DTCs that you have not diagnosed?

Go to Diagnostic Trouble Code (DTC) List - Vehicle

System OK

DTC P0711 6.6L


Object Number: 1587879  Size: MF
Master Electrical Component List
Automatic Transmission Controls Schematics (6.6L)
OBD II Symbol Description Notice
Control Module References

Circuit Description

The automatic transmission fluid temperature (TFT) sensor is part of the 4L80-E automatic transmission (AT) wiring harness assembly. The TFT sensor is a resistor, or thermistor, which changes value based on temperature. The sensor has a negative temperature coefficient. This means that as the temperature increases, the resistance decreases, and as the temperature decreases the resistance increases. The transmission control module (TCM) supplies a 5-volt reference signal to the sensor and measures the voltage drop in the circuit. When the transmission fluid is cold, the sensor resistance is high and the TCM detects high signal voltage. As the fluid temperature warms to a normal operating temperature, the resistance becomes less and the signal voltage decreases. The TCM uses this information to control shift quality and torque converter clutch (TCC) apply.

If the TCM detects the TFT sensor resistance has no change, intermittent, or an unrealistic change in a short amount of time, such as multiple changes within seconds, then DTC P0711 sets. DTC P0711 is a type C DTC.

DTC Descriptor

This diagnostic procedure supports the following DTC:

DTC P0711 Transmission Fluid Temperature (TFT) Sensor Performance

Conditions for Running the DTC

    • No ECT DTCs P0117 or P0118 - Condition 1, 2 and 4.
    • No AT ISS DTC P0716 or P0717 - Condition 1, 2 and 4.
    • No OSS DTC P0722 or P0723 - Condition 1, 2 and 4.
    • DTC P0711 has not passed this ignition cycle - Condition 1, 2 and 4.
    • System voltage is 8-18 volts.
    • The engine is running for greater than 5 seconds.
    • The engine coolant temperature (ECT) is 70°C (158°F) or greater - Condition 1 and 2.
    • ECT has changed at least 55°C (99°F) since start up - Condition 1 and 2.
    • The vehicle speed is 8 km/h (5 mph) or greater for 300 seconds (5 minutes) cumulatively - Condition 1 and 2.
    • The TCC slip speed is 120 RPM or greater for 300 seconds (5 minutes) cumulatively - Condition 1.
    • The engine torque is greater than 50 N·m (37 lb ft) - Condition 4.
    • The throttle position (TP) is between 8 and 90 percent - Condition 4.
    • The vehicle speed is greater than 8 km/h (5 mph) - Condition 4.
    • The ECT is between 39°C (38°F) and 149°C (300°F) - Condition 4.

Conditions for Setting the DTC

One of the following conditions occurs:

Condition 1

The TFT has not changed greater than 2°C (4°F), in greater than 80 seconds when the TFT at start-up is between -40°C (-40°F) and 20°C (68°F).

Condition 2

The TFT has not changed greater than 2°C (4°F), in greater than 80 seconds when the TFT at start-up is between 129°C (265°F) and 149°C (300°F).

Condition 3

The change in the TFT is 20°C (68°F) or less for 7 seconds or greater.

Condition 4

The TFT is 20°C (68°F) or less after a calibrated amount of time.

Action Taken When the DTC Sets

    • The TCM does not request the engine control module (ECM) to illuminate the malfunction indicator lamp (MIL).
    • The TCM commands increased line pressure.
    • The TCM freezes transmission adaptive functions.
    • The TCM determines a default TFT using the following matrix:
       - If the engine run time is less than 60 seconds then default TFT equals 47°C (117°F).
       - If ECT is less than 20°C (68°F), then default TFT equals IAT.
       - If the ECT is 20-110°C (68-230°F) then default TFT equals ECT.
       - If ECT and TFT DTCs are both set then default TFT is 140°C (284°F).
    • The TCM records the operating conditions when the Conditions for Setting the DTC are met. The TCM stores this information as Failure Records.
    • The TCM stores DTC P0711 in TCM history.

Conditions for Clearing the DTC

    • A scan tool clears the DTC from TCM history.
    • The TCM clears the DTC from TCM history if the vehicle completes 40 warm-up cycles without a non-emission related diagnostic fault occurring.
    • The TCM cancels the DTC default actions when the fault no longer exists and the DTC passes.

Diagnostic Aids

    • DTC P0218 may set approximately 600 seconds (10 minutes) after DTC P0711 has set. Follow the diagnostic table for DTC P0711 before proceeding to the diagnostic table for DTC P0218.
    • DTC P0711 defaults to an elevated line pressure condition which may result in partial TCC apply. This may produce an idle surge that could stall the engine.

Test Description

The numbers below refer to the step numbers on the diagnostic table.

  1. This step inspects for proper transmission fluid level and condition.

  2. This step verifies which condition has set DTC P0711.

  3. The 12 volt test lamp is used as a fixed resistance.

  4. This step ensures that the TCM monitors the TFT Sensor Signal circuit.

Step

Action

Yes

No

1

Did you perform the Diagnostic System Check - Vehicle?

Go to Step 2

Go to Diagnostic System Check - Vehicle

2

Perform the Transmission Fluid Checking Procedure. Refer to Transmission Fluid Check .

Was the Transmission Fluid Checking Procedure performed?

Go to Step 3

Go to Transmission Fluid Check

3

  1. Install a scan tool.
  2. Turn ON the ignition, with the engine OFF.
  3. Important: Before clearing the DTCs, use the scan tool in order to record the ECM and TCM Failure Records. Using the Clear Info function erases the Failure Records from the ECM and TCM.

  4. Record the Failure Records.
  5. Clear the DTCs.
  6. Select TFT on the scan tool.
  7. Drive the vehicle and observe the scan tool for one of the following conditions:
  8. • No TFT change.
    • An unrealistic TFT change. The TFT change is greater than 20°C (36°F) 14 times in 7 seconds.

Did either of the fail conditions occur?

Go to Step 4

Go to Testing for Intermittent Conditions and Poor Connections

4

Did the scan tool display an unrealistic TFT change?

Go to Step 5

Go to Step 6

5

  1. Turn OFF the ignition.
  2. Disconnect the transmission AT inline 20-way connector. Additional DTCs may set.
  3. Using the J 35616 GM terminal test kit, install a 12 volt test lamp between the TFT sensor signal and low reference of the engine side of the transmission AT inline 20-way connector.
  4. Turn ON the ignition, with the engine OFF.

Does the scan tool TFT display an unrealistic TFT change?

Go to Step 7

Go to Step 8

6

  1. Record the scan tool TFT display from Step 4.
  2. Turn OFF the ignition.
  3. Disconnect the transmission AT inline 20-way connector. Additional DTCs may set.
  4. Turn ON the ignition, with the engine OFF.

Is the scan tool TFT the same as in Step 4?

Go to Step 7

Go to Step 8

7

Replace the TCM. Refer to Control Module References for replacement, setup, and programming.

Did you complete the replacement?

Go to Step 9

--

8

Replace the TFT sensor. Refer to Valve Body and Pressure Switch Replacement .

Did you complete the replacement?

Go to Step 9

--

9

Perform the following procedure in order to verify the repair:

  1. Select DTC.
  2. Select Clear Info.
  3. Operate the vehicle under the following conditions:
  4. • The TFT changes by 3°C (5°F) or greater for 5 seconds.
    • The TFT changes greater than 20°C (36°F) after a predetermined amount of time.
  5. Select Specific DTC.
  6. Enter DTC P0711.

Has the test run and passed?

Go to Step 10

Go to Step 2

10

With the scan tool, observe the stored information, capture info and DTC info.

Does the scan tool display any DTCs that you have not diagnosed?

Go to Diagnostic Trouble Code (DTC) List - Vehicle

System OK