GM Service Manual Online
For 1990-2009 cars only
Connector 1: Accelerator Pedal Position (APP) Sensor
Connector 2: Camshaft Position (CMP) Sensor
Connector 3: Crankshaft Position (CKP) Sensor
Connector 4: Engine Coolant Temperature (ECT) Sensor
Connector 5: Evaporative Emission (EVAP) Canister Purge Solenoid Valve
Connector 6: Evaporative Emission (EVAP) Canister Vent Solenoid Valve
Connector 7: Fuel Injector 1 (L59)
Connector 8: Fuel Injector 1 (w/o L59)
Connector 9: Fuel Injector 2 (L59)
Connector 10: Fuel Injector 2 (w/o L59)
Connector 11: Fuel Injector 3 (L59)
Connector 12: Fuel Injector 3 (w/o L59)
Connector 13: Fuel Injector 4 (L59)
Connector 14: Fuel Injector 4 (w/o L59)
Connector 15: Fuel Injector 5 (L59)
Connector 16: Fuel Injector 5 (w/o L59)
Connector 17: Fuel Injector 6 (L59)
Connector 18: Fuel Injector 6 (w/o L59)
Connector 19: Fuel Injector 7 (L59)
Connector 20: Fuel Injector 7 (w/o L59)
Connector 21: Fuel Injector 8 (L59)
Connector 22: Fuel Injector 8 (w/o L59)
Connector 23: Fuel Pump and Sender Assembly
Connector 24: Fuel Tank Pressure (FTP) Sensor
Connector 25: Heated Oxygen Sensor (HO2S) Bank 1 Sensor 1 (California Emissions w/LM7/L59)
Connector 26: Heated Oxygen Sensor (HO2S) Bank 1 Sensor 1 (California Emissions w/LR4)
Connector 27: Heated Oxygen Sensor (HO2S) Bank 1 Sensor 1 (Federal Emissions)
Connector 28: Heated Oxygen Sensor (HO2S) Bank 1 Sensor 2 (California Emissions w/LM7/L59)
Connector 29: Heated Oxygen Sensor (HO2S) Bank 1 Sensor 2 (Cutaway w/LQ4/LR4)
Connector 30: Heated Oxygen Sensor (HO2S) Bank 1 Sensor 2 (Passenger/Cargo w/LQ4/LR4 and Passenger/Cargo Federal Emissions w/LM7/L59)
Connector 31: Heated Oxygen Sensor (HO2S) Bank 2 Sensor 1 (California Emissions w/LM7/L59)
Connector 32: Heated Oxygen Sensor (HO2S) Bank 2 Sensor 1 (California Emissions w/LR4)
Connector 33: Heated Oxygen Sensor (HO2S) Bank 2 Sensor 1 (Federal Emissions)
Connector 34: Heated Oxygen Sensor (HO2S) Bank 2 Sensor 2 (California Emissions w/LM7/L59)
Connector 35: Heated Oxygen Sensor (HO2S) Bank 2 Sensor 2 (Cutaway w/LQ4/LR4)
Connector 36: Heated Oxygen Sensor (HO2S) Bank 2 Sensor 2 (Passenger/Cargo w/LQ4/LR4 and Passenger/Cargo Federal Emissions w/LM7/L59)
Connector 37: Ignition Coil 1
Connector 38: Ignition Coil 2
Connector 39: Ignition Coil 3
Connector 40: Ignition Coil 4
Connector 41: Ignition Coil 5
Connector 42: Ignition Coil 6
Connector 43: Ignition Coil 7
Connector 44: Ignition Coil 8
Connector 45: Knock Sensor (KS) 1
Connector 46: Knock Sensor (KS) 2
Connector 47: Manifold Absolute Pressure (MAP) Sensor
Connector 48: Mass Air Flow (MAF)/Intake Air Temperature (IAT) Sensor
Connector 49: Throttle Actuator Control (TAC) Module - C1
Connector 50: Throttle Actuator Control (TAC) Module - C2
Connector 51: Throttle Body

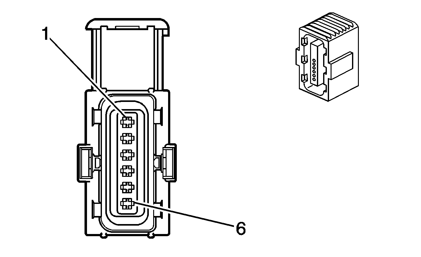
Accelerator Pedal Position (APP) Sensor


Object Number: 1334452  Size: CH

Connector Part Information

  • OEM: 15383136
  • Service: 89046653
  • Description: 6-Way F Sealed (BK)

Terminal Part Information

  • Terminal/Tray: 4-969005-1/16
  • Core/Insulation Crimp: E/1
  • Release Tool/Test Probe: J-38125-560/J-35616-33 (YE)

Accelerator Pedal Position (APP) Sensor

Pin

Wire Color

Circuit No.

Function

1

TN

1274

5-Volt Reference

2

WH/BK

1164

5-Volt Reference

3

D-BU

1161

APP Sensor 1 Signal

4

BN

1271

Low Reference

5

PU

1272

Low Reference

6

L-BU

1162

APP Sensor 2 Signal

Camshaft Position (CMP) Sensor


Object Number: 516611  Size: CH

Connector Part Information

  • OEM: 12059595
  • Service: 88986451
  • Description: 3-Way F Metri-Pack 150 Series Sealed (BK)

Terminal Part Information

  • Terminal/Tray: 12048074/2
  • Core/Insulation Crimp: E/1
  • Release Tool/Test Probe: 12094429/J-35616-2A (GY)

Camshaft Position (CMP) Sensor

Pin

Wire Color

Circuit No.

Function

A

BN/WH

633

CMP Sensor Signal

B

PK/BK

632

Low Reference

C

OG

631

12-Volt Reference

Crankshaft Position (CKP) Sensor


Object Number: 366117  Size: CH

Connector Part Information

  • OEM: 15324165
  • Service: 15306120
  • Description: 3-Way F Metri-Pack 150 Series Sealed (NA)

Terminal Part Information

  • Terminal/Tray: 12048074/2
  • Core/Insulation Crimp: E/1
  • Release Tool/Test Probe: 12094429/J-35616-2A (GY)

Crankshaft Position (CKP) Sensor

Pin

Wire Color

Circuit No.

Function

A

YE

573

CKP Sensor Signal

B

PU

574

Low Reference

C

L-GN

1867

12-Volt Reference

Engine Coolant Temperature (ECT) Sensor


Object Number: 1538760  Size: CH

Connector Part Information

  • OEM: 15449028
  • Service: 88987993
  • Description: 2-Way F GT 150 Series Sealed (BK)

Terminal Part Information

  • Terminal/Tray: 15326267/19
  • Core/Insulation Crimp: E/4
  • Release Tool/Test Probe: 15315247/J-35616-2A (GY)

Engine Coolant Temperature (ECT) Sensor

Pin

Wire Color

Circuit No.

Function

A

YE

410

ECT Sensor Signal

B

TN

2761

Low Reference

Evaporative Emission (EVAP) Canister Purge Solenoid Valve


Object Number: 684829  Size: CH

Connector Part Information

  • OEM: 12124037
  • Service: 12101858
  • Description: 2-Way F Metri-Pack 150 Series Sealed (BK)

Terminal Part Information

  • Terminal/Tray: 12048074/2
  • Core/Insulation Crimp: E/1
  • Release Tool/Test Probe: 12094429/J-35616-2A (GY)

Evaporative Emission (EVAP) Canister Purge Solenoid Valve

Pin

Wire Color

Circuit No.

Function

A

PK

139

Ignition 1 Voltage

B

D-GN/WH

428

EVAP Canister Purge Solenoid Valve Control

Evaporative Emission (EVAP) Canister Vent Solenoid Valve


Object Number: 684795  Size: CH

Connector Part Information

  • OEM: 12052643
  • Service: 12101858
  • Description: 2-Way F Metri-Pack 150 Series Sealed (RD)

Terminal Part Information

  • Terminal/Tray: 12048074/2
  • Core/Insulation Crimp: E/1
  • Release Tool/Test Probe: 12094429/J-35616-2A (GY)

Evaporative Emission (EVAP) Canister Vent Solenoid Valve

Pin

Wire Color

Circuit No.

Function

A

OG

140

Battery Positive Voltage

B

WH

1310

EVAP Canister Vent Solenoid Valve Control

Fuel Injector 1 (L59)


Object Number: 603098  Size: CH

Connector Part Information

  • OEM: 15305086
  • Service: 15306318
  • Description: 2-Way F Metri-Pack 150 Series (BK)

Terminal Part Information

  • Terminal/Tray: 12176636/19
  • Core/Insulation Crimp: C/1
  • Release Tool/Test Probe: 12094429/J-35616-2A (GY)

Fuel Injector 1 (L59)

Pin

Wire Color

Circuit No.

Function

A

PK

139

Ignition 1 Voltage

B

TN

1744

Fuel Injector 1 Control

Fuel Injector 1 (w/o L59)


Object Number: 833727  Size: CH

Connector Part Information

  • OEM: 15411634
  • Service: 15306160
  • Description: 2-Way F Micro-Pack 064 Series Sealed (GY)

Terminal Part Information

  • Terminal/Tray: 15305174/8
  • Core/Insulation Crimp: E/1
  • Release Tool/Test Probe: 12180559-1/J-35616-64B (L-BU)

Fuel Injector 1 (w/o L59)

Pin

Wire Color

Circuit No.

Function

A

PK

139

Ignition 1 Voltage

B

TN

1744

Fuel Injector 1 Control

Fuel Injector 2 (L59)


Object Number: 603098  Size: CH

Connector Part Information

  • OEM: 15305086
  • Service: 15306318
  • Description: 2-Way F Metri-Pack 150 Series (BK)

Terminal Part Information

  • Terminal/Tray: 12176636/19
  • Core/Insulation Crimp: C/1
  • Release Tool/Test Probe: 12094429/J-35616-2A (GY)

Fuel Injector 2 (L59)

Pin

Wire Color

Circuit No.

Function

A

PK

239

Ignition 1 Voltage

B

L-GN/BK

1745

Fuel Injector 2 Control

Fuel Injector 2 (w/o L59)


Object Number: 833727  Size: CH

Connector Part Information

  • OEM: 15411634
  • Service: 15306160
  • Description: 2-Way F Micro-Pack 064 Series Sealed (GY)

Terminal Part Information

  • Terminal/Tray: 15305174/8
  • Core/Insulation Crimp: E/1
  • Release Tool/Test Probe: 12180559-1/J-35616-64B (L-BU)

Fuel Injector 2 (w/o L59)

Pin

Wire Color

Circuit No.

Function

A

PK

239

Ignition 1 Voltage

B

L-GN/BK

1745

Fuel Injector 2 Control

Fuel Injector 3 (L59)


Object Number: 603098  Size: CH

Connector Part Information

  • OEM: 15305086
  • Service: 15306318
  • Description: 2-Way F Metri-Pack 150 Series (BK)

Terminal Part Information

  • Terminal/Tray: 12176636/19
  • Core/Insulation Crimp: C/1
  • Release Tool/Test Probe: 12094429/J-35616-2A (GY)

Fuel Injector 3 (L59)

Pin

Wire Color

Circuit No.

Function

A

PK

139

Ignition 1 Voltage

B

PK/BK

1746

Fuel Injector 3 Control

Fuel Injector 3 (w/o L59)


Object Number: 833727  Size: CH

Connector Part Information

  • OEM: 15411634
  • Service: 15306160
  • Description: 2-Way F Micro-Pack 064 Series Sealed (GY)

Terminal Part Information

  • Terminal/Tray: 15305174/8
  • Core/Insulation Crimp: E/1
  • Release Tool/Test Probe: 12180559-1/J-35616-64B (L-BU)

Fuel Injector 3 (w/o L59)

Pin

Wire Color

Circuit No.

Function

A

PK

139

Ignition 1 Voltage

B

PK/BK

1746

Fuel Injector 3 Control

Fuel Injector 4 (L59)


Object Number: 603098  Size: CH

Connector Part Information

  • OEM: 15305086
  • Service: 15306318
  • Description: 2-Way F Metri-Pack 150 Series (BK)

Terminal Part Information

  • Terminal/Tray: 12176636/19
  • Core/Insulation Crimp: C/1
  • Release Tool/Test Probe: 12094429/J-35616-2A (GY)

Fuel Injector 4 (L59)

Pin

Wire Color

Circuit No.

Function

A

PK

239

Ignition 1 Voltage

B

L-BU/BK

844

Fuel Injector 4 Control

Fuel Injector 4 (w/o L59)


Object Number: 833727  Size: CH

Connector Part Information

  • OEM: 15411634
  • Service: 15306160
  • Description: 2-Way F Micro-Pack 064 Series Sealed (GY)

Terminal Part Information

  • Terminal/Tray: 15305174/8
  • Core/Insulation Crimp: E/1
  • Release Tool/Test Probe: 12180559-1/J-35616-64B (L-BU)

Fuel Injector 4 (w/o L59)

Pin

Wire Color

Circuit No.

Function

A

PK

239

Ignition 1 Voltage

B

L-BU/BK

844

Fuel Injector 4 Control

Fuel Injector 5 (L59)


Object Number: 603098  Size: CH

Connector Part Information

  • OEM: 15305086
  • Service: 15306318
  • Description: 2-Way F Metri-Pack 150 Series (BK)

Terminal Part Information

  • Terminal/Tray: 12176636/19
  • Core/Insulation Crimp: C/1
  • Release Tool/Test Probe: 12094429/J-35616-2A (GY)

Fuel Injector 5 (L59)

Pin

Wire Color

Circuit No.

Function

A

PK

139

Ignition 1 Voltage

B

TN/WH

845

Fuel Injector 5 Control

Fuel Injector 5 (w/o L59)


Object Number: 833727  Size: CH

Connector Part Information

  • OEM: 15411634
  • Service: 15306160
  • Description: 2-Way F Micro-Pack 064 Series Sealed (GY)

Terminal Part Information

  • Terminal/Tray: 15305174/8
  • Core/Insulation Crimp: E/1
  • Release Tool/Test Probe: 12180559-1/J-35616-64B (L-BU)

Fuel Injector 5 (w/o L59)

Pin

Wire Color

Circuit No.

Function

A

PK

139

Ignition 1 Voltage

B

TN/WH

845

Fuel Injector 5 Control

Fuel Injector 6 (L59)


Object Number: 603098  Size: CH

Connector Part Information

  • OEM: 15305086
  • Service: 15306318
  • Description: 2-Way F Metri-Pack 150 Series (BK)

Terminal Part Information

  • Terminal/Tray: 12176636/19
  • Core/Insulation Crimp: C/1
  • Release Tool/Test Probe: 12094429/J-35616-2A (GY)

Fuel Injector 6 (L59)

Pin

Wire Color

Circuit No.

Function

A

PK

239

Ignition 1 Voltage

B

YE/BK

846

Fuel Injector 6 Control

Fuel Injector 6 (w/o L59)


Object Number: 833727  Size: CH

Connector Part Information

  • OEM: 15411634
  • Service: 15306160
  • Description: 2-Way F Micro-Pack 064 Series Sealed (GY)

Terminal Part Information

  • Terminal/Tray: 15305174/8
  • Core/Insulation Crimp: E/1
  • Release Tool/Test Probe: 12180559-1/J-35616-64B (L-BU)

Fuel Injector 6 (w/o L59)

Pin

Wire Color

Circuit No.

Function

A

PK

239

Ignition 1 Voltage

B

YE/BK

846

Fuel Injector 6 Control

Fuel Injector 7 (L59)


Object Number: 603098  Size: CH

Connector Part Information

  • OEM: 15305086
  • Service: 15306318
  • Description: 2-Way F Metri-Pack 150 Series (BK)

Terminal Part Information

  • Terminal/Tray: 12176636/19
  • Core/Insulation Crimp: C/1
  • Release Tool/Test Probe: 12094429/J-35616-2A (GY)

Fuel Injector 7 (L59)

Pin

Wire Color

Circuit No.

Function

A

PK

139

Ignition 1 Voltage

B

OG/BK

877

Fuel Injector 7 Control

Fuel Injector 7 (w/o L59)


Object Number: 833727  Size: CH

Connector Part Information

  • OEM: 15411634
  • Service: 15306160
  • Description: 2-Way F Micro-Pack 064 Series Sealed (GY)

Terminal Part Information

  • Terminal/Tray: 15305174/8
  • Core/Insulation Crimp: E/1
  • Release Tool/Test Probe: 12180559-1/J-35616-64B (L-BU)

Fuel Injector 7 (w/o L59)

Pin

Wire Color

Circuit No.

Function

A

PK

139

Ignition 1 Voltage

B

OG/BK

877

Fuel Injector 7 Control

Fuel Injector 8 (L59)


Object Number: 603098  Size: CH

Connector Part Information

  • OEM: 15305086
  • Service: 15306318
  • Description: 2-Way F Metri-Pack 150 Series (BK)

Terminal Part Information

  • Terminal/Tray: 12176636/19
  • Core/Insulation Crimp: C/1
  • Release Tool/Test Probe: 12094429/J-35616-2A (GY)

Fuel Injector 8 (L59)

Pin

Wire Color

Circuit No.

Function

A

PK

239

Ignition 1 Voltage

B

D-BU/WH

878

Fuel Injector 8 Control

Fuel Injector 8 (w/o L59)


Object Number: 833727  Size: CH

Connector Part Information

  • OEM: 15411634
  • Service: 15306160
  • Description: 2-Way F Micro-Pack 064 Series Sealed (GY)

Terminal Part Information

  • Terminal/Tray: 15305174/8
  • Core/Insulation Crimp: E/1
  • Release Tool/Test Probe: 12180559-1/J-35616-64B (L-BU)

Fuel Injector 8 (w/o L59)

Pin

Wire Color

Circuit No.

Function

A

PK

239

Ignition 1 Voltage

B

D-BU/WH

878

Fuel Injector 8 Control

Fuel Pump and Sender Assembly


Object Number: 684908  Size: CH

Connector Part Information

  • OEM: 15326631
  • Service: 15306360
  • Description: 4-Way F GT 280 Series Sealed 5.8 (BK)

Terminal Part Information

  • Pins: A, D
  • Terminal/Tray: 15304720/19
  • Core/Insulation Crimp: 4/5
  • Release Tool/Test Probe: 15315247/J-35616-4A (PU)
  • Pins: B, C
  • Terminal/Tray: 15304719/19
  • Core/Insulation Crimp: E/5
  • Release Tool/Test Probe: 15315247/J-35616-4A (PU)

Fuel Pump and Sender Assembly

Pin

Wire Color

Circuit No.

Function

A

BK

150

Ground

B

PU

1589

Fuel Level Sensor Signal

C

BK

2759

Low Reference

D

GY

120

Fuel Pump Supply Voltage

Fuel Tank Pressure (FTP) Sensor


Object Number: 516611  Size: CH

Connector Part Information

  • OEM: 12059595
  • Service: 88986451
  • Description: 3-Way F Metri-Pack 150 Series Sealed (BK)

Terminal Part Information

  • Terminal/Tray: 12048074/2
  • Core/Insulation Crimp: E/1
  • Release Tool/Test Probe: 12094429/J-35616-2A (GY)

Fuel Tank Pressure (FTP) Sensor

Pin

Wire Color

Circuit No.

Function

A

BK

2759

Low Reference

B

D-GN

890

Fuel Tank Pressure Sensor Signal

C

GY

2709

5-Volt Reference 2

Heated Oxygen Sensor (HO2S) Bank 1 Sensor 1 (California Emissions w/LM7/L59)


Object Number: 628099  Size: CH

Connector Part Information

  • OEM: 12092840
  • Service: 15306311
  • Description: 4-Way M Metri-Pack 150 Series Sealed (GY)

Terminal Part Information

  • Pins: A, B
  • Terminal/Tray: 12045773/2
  • Core/Insulation Crimp: E/1
  • Release Tool/Test Probe: 12094429/J-35616-3 (GY)
  • Pins: D, E
  • Terminal/Tray: See Terminal Repair Kit
  • Core/Insulation Crimp: See Terminal Repair Kit
  • Release Tool/Test Probe: See Terminal Repair Kit

Heated Oxygen Sensor (HO2S) Bank 1 Sensor 1 (California Emissions w/LM7/L59)

Pin

Wire Color

Circuit No.

Function

A

TN

1664

HO2S Low Signal - Bank 1 Sensor 1

B

PU/WH

1665

HO2S High Signal - Bank 1 Sensor 1

C

--

--

Not Available

D

PK

539

Ignition 1 Voltage

E

L-BU

5038

HO2S Heater Low Control - Bank 1 Sensor 1

Heated Oxygen Sensor (HO2S) Bank 1 Sensor 1 (California Emissions w/LR4)


Object Number: 474210  Size: CH

Connector Part Information

  • OEM: 12176897
  • Service: 15305960
  • Description: 4-Way F Metri-Pack 150 Series Sealed (GY)

Terminal Part Information

  • Terminal/Tray: 12048074/2
  • Core/Insulation Crimp: E/1
  • Release Tool/Test Probe: 12094429/J-35616-2A (GY)

Heated Oxygen Sensor (HO2S) Bank 1 Sensor 1 (California Emissions w/LR4)

Pin

Wire Color

Circuit No.

Function

A

TN

1664

HO2S Low Signal - Bank 1 Sensor 1

B

PU/WH

1665

HO2S High Signal - Bank 1 Sensor 1

C

L-BU

5038

HO2S Heater Low Control - Bank 1 Sensor 1

D

PK

539

Ignition 1 Voltage

Heated Oxygen Sensor (HO2S) Bank 1 Sensor 1 (Federal Emissions)


Object Number: 806613  Size: CH

Connector Part Information

  • OEM: 15326423
  • Service: 88988140
  • Description: 4-Way M Metri-Pack 150 Series Sealed (GY)

Terminal Part Information

  • Terminal/Tray: 12045773/2
  • Core/Insulation Crimp: E/1
  • Release Tool/Test Probe: 12094429/J-35616-3 (GY)

Heated Oxygen Sensor (HO2S) Bank 1 Sensor 1 (Federal Emissions)

Pin

Wire Color

Circuit No.

Function

A

TN

1664

HO2S Low Signal - Bank 1 Sensor 1

B

PU/WH

1665

HO2S High Signal - Bank 1 Sensor 1

C

L-BU

5038

HO2S Heater Low Control - Bank 1 Sensor 1

D

PK

539

Ignition 1 Voltage

Heated Oxygen Sensor (HO2S) Bank 1 Sensor 2 (California Emissions w/LM7/L59)


Object Number: 831392  Size: CH

Connector Part Information

  • OEM: 12092839
  • Service: 88987991
  • Description: 4-Way M Metri-Pack 150 Series (BK)

Terminal Part Information

  • Terminal/Tray: 12045773/2
  • Core/Insulation Crimp: E/1
  • Release Tool/Test Probe: 12094429/J-35616-3 (GY)

Heated Oxygen Sensor (HO2S) Bank 1 Sensor 2 (California Emissions w/LM7/L59)

Pin

Wire Color

Circuit No.

Function

A

TN/WH

1669

HO2S Low Signal - Bank 1 Sensor 2

B

PU/WH

1668

HO2S High Signal - Bank 1 Sensor 2

C

--

--

Not Available

D

PK

1539

Ignition 1 Voltage

E

PU

5035

HO2S Heater Low Control - Bank 1 Sensor 2

Heated Oxygen Sensor (HO2S) Bank 1 Sensor 2 (Cutaway w/LQ4/LR4)


Object Number: 280761  Size: CH

Connector Part Information

  • OEM: 12160825
  • Service: 15305801
  • Description: 4-Way M Metri-Pack 150 Series Sealed (BK)

Terminal Part Information

  • Terminal/Tray: 12045773/2
  • Core/Insulation Crimp: E/1
  • Release Tool/Test Probe: 12094429/J-35616-3 (GY)

Heated Oxygen Sensor (HO2S) Bank 1 Sensor 2 (Cutaway w/LQ4/LR4)

Pin

Wire Color

Circuit No.

Function

A

TN/WH

1669

HO2S Low Signal - Bank 1 Sensor 2

B

PU/WH

1668

HO2S High Signal - Bank 1 Sensor 2

C

PU

5035

HO2S Heater Low Control - Bank 1 Sensor 2

D

PK

1539

Ignition 1 Voltage

Heated Oxygen Sensor (HO2S) Bank 1 Sensor 2 (Passenger/Cargo w/LQ4/LR4 and Passenger/Cargo Federal Emissions w/LM7/L59)


Object Number: 806613  Size: CH

Connector Part Information

  • OEM: 15326423
  • Service: 88988140
  • Description: 4-Way M Metri-Pack 150 Series Sealed (GY)

Terminal Part Information

  • Terminal/Tray: 12045773/2
  • Core/Insulation Crimp: E/1
  • Release Tool/Test Probe: 12094429/J-35616-3 (GY)

Heated Oxygen Sensor (HO2S) Bank 1 Sensor 2 (Passenger/Cargo w/LQ4/LR4 and Passenger/Cargo Federal Emissions w/LM7/L59)

Pin

Wire Color

Circuit No.

Function

A

TN/WH

1669

HO2S Low Signal - Bank 1 Sensor 2

B

PU/WH

1668

HO2S High Signal - Bank 1 Sensor 2

C

PU

5035

HO2S Heater Low Control - Bank 1 Sensor 2

D

PK

1539

Ignition 1 Voltage

Heated Oxygen Sensor (HO2S) Bank 2 Sensor 1 (California Emissions w/LM7/L59)


Object Number: 628099  Size: CH

Connector Part Information

  • OEM: 12092840
  • Service: 15306311
  • Description: 4-Way M Metri-Pack 150 Series Sealed (GY)

Terminal Part Information

  • Pins: A, B
  • Terminal/Tray: 12045773/2
  • Core/Insulation Crimp: E/1
  • Release Tool/Test Probe: 12094429/J-35616-3 (GY)
  • Pins: D, E
  • Terminal/Tray: See Terminal Repair Kit
  • Core/Insulation Crimp: See Terminal Repair Kit
  • Release Tool/Test Probe: See Terminal Repair Kit

Heated Oxygen Sensor (HO2S) Bank 2 Sensor 1 (California Emissions w/LM7/L59)

Pin

Wire Color

Circuit No.

Function

A

TN

1667

HO2S Low Signal - Bank 2 Sensor 1

B

PU

1666

HO2S High Signal - Bank 2 Sensor 1

C

--

--

Not Available

D

PK

539

Ignition 1 Voltage

E

PU/WH

5037

HO2S Heater Low Control - Bank 2 Sensor 1

Heated Oxygen Sensor (HO2S) Bank 2 Sensor 1 (California Emissions w/LR4)


Object Number: 474210  Size: CH

Connector Part Information

  • OEM: 12176897
  • Service: 15305960
  • Description: 4-Way F Metri-Pack 150 Series Sealed (GY)

Terminal Part Information

  • Terminal/Tray: 12048074/2
  • Core/Insulation Crimp: E/1
  • Release Tool/Test Probe: 12094429/J-35616-2A (GY)

Heated Oxygen Sensor (HO2S) Bank 2 Sensor 1 (California Emissions w/LR4)

Pin

Wire Color

Circuit No.

Function

A

TN

1667

HO2S Low Signal - Bank 2 Sensor 1

B

PU

1666

HO2S High Signal - Bank 2 Sensor 1

C

PU/WH

5037

HO2S Heater Low Control - Bank 2 Sensor 1

D

PK

539

Ignition 1 Voltage

Heated Oxygen Sensor (HO2S) Bank 2 Sensor 1 (Federal Emissions)


Object Number: 280761  Size: CH

Connector Part Information

  • OEM: 12160825
  • Service: 15305801
  • Description: 4-Way M Metri-Pack 150 Series Sealed (BK)

Terminal Part Information

  • Terminal/Tray: 12045773/2
  • Core/Insulation Crimp: E/1
  • Release Tool/Test Probe: 12094429/J-35616-3 (GY)

Heated Oxygen Sensor (HO2S) Bank 2 Sensor 1 (Federal Emissions)

Pin

Wire Color

Circuit No.

Function

A

TN

1667

HO2S Low Signal - Bank 2 Sensor 1

B

PU

1666

HO2S High Signal - Bank 2 Sensor 1

C

PU/WH

5037

HO2S Heater Low Control - Bank 2 Sensor 1

D

PK

539

Ignition 1 Voltage

Heated Oxygen Sensor (HO2S) Bank 2 Sensor 2 (California Emissions w/LM7/L59)


Object Number: 831392  Size: CH

Connector Part Information

  • OEM: 12092839
  • Service: 88987991
  • Description: 4-Way M Metri-Pack 150 Series (BK)

Terminal Part Information

  • Terminal/Tray: 12045773/2
  • Core/Insulation Crimp: E/1
  • Release Tool/Test Probe: 12094429/J-35616-3 (GY)

Heated Oxygen Sensor (HO2S) Bank 2 Sensor 2 (California Emissions w/LM7/L59)

Pin

Wire Color

Circuit No.

Function

A

TN

1671

HO2S Low Signal - Bank 2 Sensor 2

B

PU

1670

HO2S High Signal - Bank 2 Sensor 2

C

--

--

Not Available

D

PK

1539

Ignition 1 Voltage

E

YE

5036

HO2S Heater Low Control - Bank 2 Sensor 2

Heated Oxygen Sensor (HO2S) Bank 2 Sensor 2 (Cutaway w/LQ4/LR4)


Object Number: 806613  Size: CH

Connector Part Information

  • OEM: 15326423
  • Service: 88988140
  • Description: 4-Way M Metri-Pack 150 Series Sealed (GY)

Terminal Part Information

  • Terminal/Tray: 12045773/2
  • Core/Insulation Crimp: E/1
  • Release Tool/Test Probe: 12094429/J-35616-3 (GY)

Heated Oxygen Sensor (HO2S) Bank 2 Sensor 2 (Cutaway w/LQ4/LR4)

Pin

Wire Color

Circuit No.

Function

A

TN

1671

HO2S Low Signal - Bank 2 Sensor 2

B

PU

1670

HO2S High Signal - Bank 2 Sensor 2

C

YE

5036

HO2S Heater Low Control - Bank 2 Sensor 2

D

PK

1539

Ignition 1 Voltage

Heated Oxygen Sensor (HO2S) Bank 2 Sensor 2 (Passenger/Cargo w/LQ4/LR4 and Passenger/Cargo Federal Emissions w/LM7/L59)


Object Number: 280761  Size: CH

Connector Part Information

  • OEM: 12160825
  • Service: 15305801
  • Description: 4-Way M Metri-Pack 150 Series Sealed (BK)

Terminal Part Information

  • Terminal/Tray: 12045773/2
  • Core/Insulation Crimp: E/1
  • Release Tool/Test Probe: 12094429/J-35616-3 (GY)

Heated Oxygen Sensor (HO2S) Bank 2 Sensor 2 (Passenger/Cargo w/LQ4/LR4 and Passenger/Cargo Federal Emissions w/LM7/L59)

Pin

Wire Color

Circuit No.

Function

A

TN

1671

HO2S Low Signal - Bank 2 Sensor 2

B

PU

1670

HO2S High Signal - Bank 2 Sensor 2

C

YE

5036

HO2S Heater Low Control - Bank 2 Sensor 2

D

PK

1539

Ignition 1 Voltage

Ignition Coil 1


Object Number: 1401799  Size: CH

Connector Part Information

  • OEM: 15366040
  • Service: See Catalog
  • Description: 4-Way F Metri-Pack 150 Series (BK)

Terminal Part Information

  • Terminal/Tray: See Terminal Repair Kit
  • Core/Insulation Crimp: See Terminal Repair Kit
  • Release Tool/Test Probe: See Terminal Repair Kit

Ignition Coil 1

Pin

Wire Color

Circuit No.

Function

A

BK

151

Ground

B

BN

2129

Low Reference

C

PU

2121

IC 1 Control

D

PK

39

Ignition 1 Voltage

Ignition Coil 2


Object Number: 1401799  Size: CH

Connector Part Information

  • OEM: 15366040
  • Service: See Catalog
  • Description: 4-Way F Metri-Pack 150 Series (BK)

Terminal Part Information

  • Terminal/Tray: See Terminal Repair Kit
  • Core/Insulation Crimp: See Terminal Repair Kit
  • Release Tool/Test Probe: See Terminal Repair Kit

Ignition Coil 2

Pin

Wire Color

Circuit No.

Function

A

BK

151

Ground

B

BN

2129

Low Reference

C

RD

2122

IC 2 Control

D

PK

39

Ignition 1 Voltage

Ignition Coil 3


Object Number: 1401799  Size: CH

Connector Part Information

  • OEM: 15366040
  • Service: See Catalog
  • Description: 4-Way F Metri-Pack 150 Series (BK)

Terminal Part Information

  • Terminal/Tray: See Terminal Repair Kit
  • Core/Insulation Crimp: See Terminal Repair Kit
  • Release Tool/Test Probe: See Terminal Repair Kit

Ignition Coil 3

Pin

Wire Color

Circuit No.

Function

A

BK

151

Ground

B

BN

2129

Low Reference

C

L-BU

2123

IC 3 Control

D

PK

39

Ignition 1 Voltage

Ignition Coil 4


Object Number: 1401799  Size: CH

Connector Part Information

  • OEM: 15366040
  • Service: See Catalog
  • Description: 4-Way F Metri-Pack 150 Series (BK)

Terminal Part Information

  • Terminal/Tray: See Terminal Repair Kit
  • Core/Insulation Crimp: See Terminal Repair Kit
  • Release Tool/Test Probe: See Terminal Repair Kit

Ignition Coil 4

Pin

Wire Color

Circuit No.

Function

A

BK

151

Ground

B

BN

2129

Low Reference

C

D-GN

2124

IC 4 Control

D

PK

39

Ignition 1 Voltage

Ignition Coil 5


Object Number: 1401799  Size: CH

Connector Part Information

  • OEM: 15366040
  • Service: See Catalog
  • Description: 4-Way F Metri-Pack 150 Series (BK)

Terminal Part Information

  • Terminal/Tray: See Terminal Repair Kit
  • Core/Insulation Crimp: See Terminal Repair Kit
  • Release Tool/Test Probe: See Terminal Repair Kit

Ignition Coil 5

Pin

Wire Color

Circuit No.

Function

A

BK

151

Ground

B

BN

2129

Low Reference

C

D-GN

2125

IC 5 Control

D

PK

39

Ignition 1 Voltage

Ignition Coil 6


Object Number: 1401799  Size: CH

Connector Part Information

  • OEM: 15366040
  • Service: See Catalog
  • Description: 4-Way F Metri-Pack 150 Series (BK)

Terminal Part Information

  • Terminal/Tray: See Terminal Repair Kit
  • Core/Insulation Crimp: See Terminal Repair Kit
  • Release Tool/Test Probe: See Terminal Repair Kit

Ignition Coil 6

Pin

Wire Color

Circuit No.

Function

A

BK

151

Ground

B

BN

2129

Low Reference

C

L-BU

2126

IC 6 Control

D

PK

39

Ignition 1 Voltage

Ignition Coil 7


Object Number: 1401799  Size: CH

Connector Part Information

  • OEM: 15366040
  • Service: See Catalog
  • Description: 4-Way F Metri-Pack 150 Series (BK)

Terminal Part Information

  • Terminal/Tray: See Terminal Repair Kit
  • Core/Insulation Crimp: See Terminal Repair Kit
  • Release Tool/Test Probe: See Terminal Repair Kit

Ignition Coil 7

Pin

Wire Color

Circuit No.

Function

A

BK

151

Ground

B

BN

2129

Low Reference

C

RD

2127

IC 7 Control

D

PK

39

Ignition 1 Voltage

Ignition Coil 8


Object Number: 1401799  Size: CH

Connector Part Information

  • OEM: 15366040
  • Service: See Catalog
  • Description: 4-Way F Metri-Pack 150 Series (BK)

Terminal Part Information

  • Terminal/Tray: See Terminal Repair Kit
  • Core/Insulation Crimp: See Terminal Repair Kit
  • Release Tool/Test Probe: See Terminal Repair Kit

Ignition Coil 8

Pin

Wire Color

Circuit No.

Function

A

BK

151

Ground

B

BN

2129

Low Reference

C

PU

2128

IC 8 Control

D

PK

39

Ignition 1 Voltage

Knock Sensor (KS) 1


Object Number: 696956  Size: CH

Connector Part Information

  • OEM: 15355362
  • Service: 15306376
  • Description: 1-Way F Metri-Pack 150 Series Sealed (NA)

Terminal Part Information

  • Terminal/Tray: 12048074/2
  • Core/Insulation Crimp: E/1
  • Release Tool/Test Probe: 12094429/J-35616-2A (GY)

Knock Sensor (KS) 1

Pin

Wire Color

Circuit No.

Function

1

D-BU

496

KS 1 Signal

Knock Sensor (KS) 2


Object Number: 696956  Size: CH

Connector Part Information

  • OEM: 15355362
  • Service: 15306376
  • Description: 1-Way F Metri-Pack 150 Series Sealed (NA)

Terminal Part Information

  • Terminal/Tray: See Terminal Repair Kit
  • Core/Insulation Crimp: See Terminal Repair Kit
  • Release Tool/Test Probe: See Terminal Repair Kit

Knock Sensor (KS) 2

Pin

Wire Color

Circuit No.

Function

1

L-BU

1876

KS 2 Signal

Manifold Absolute Pressure (MAP) Sensor


Object Number: 684840  Size: CH

Connector Part Information

  • OEM: 12129946
  • Service: 88987997
  • Description: 3-Way F Metri-Pack 150 Series Sealed (GY)

Terminal Part Information

  • Terminal/Tray: 12048074/2
  • Core/Insulation Crimp: E/1
  • Release Tool/Test Probe: 12094429/J-35616-2A (GY)

Manifold Absolute Pressure (MAP) Sensor

Pin

Wire Color

Circuit No.

Function

A

OG/BK

469

Low Reference

B

L-GN

432

MAP Sensor Signal

C

GY

597

5-Volt Reference 1

Mass Air Flow (MAF)/Intake Air Temperature (IAT) Sensor


Object Number: 647974  Size: CH

Connector Part Information

  • OEM: 15326822
  • Service: 88987186
  • Description: 5-Way F GT 150 Series Sealed 4.0 (BK)

Terminal Part Information

  • Terminal/Tray: 12191819/8
  • Core/Insulation Crimp: E/A
  • Release Tool/Test Probe: 15315247/J-35616-2A (GY)

Mass Air Flow (MAF)/Intake Air Temperature (IAT) Sensor

Pin

Wire Color

Circuit No.

Function

A

YE

492

MAF Sensor Signal

B

PK

139

Ignition 1 Voltage

C

BK/WH

1551

Ground

D

TN

472

IAT Sensor Signal

E

TN

470

Low Reference

Throttle Actuator Control (TAC) Module - C1


Object Number: 261930  Size: CH

Connector Part Information

  • OEM: 12191065
  • Service: 88987977
  • Description: 16-Way F Micro-Pack 100 Series (GY)

Terminal Part Information

  • Terminal/Tray: 12084912/5
  • Core/Insulation Crimp: W/W
  • Release Tool/Test Probe: 12122523/J-35616-6 (BN)

Throttle Actuator Control (TAC) Module - C1

Pin

Wire Color

Circuit No.

Function

1

D-GN

485

TP Sensor 1 Signal

2

GY

416

5-Volt Reference

3

BK

452

Low Reference

4

D-BU

84

Cruise Control Set/Coast Switch Signal

5

GY/BK

87

Cruise Control Resume/Accel Switch Signal

6

L-BU

1320

CHMSL Supply Voltage/Stop Lamp Supply Voltage

7

PK

1339

Ignition 1 Voltage

8

BN

582

TAC Motor Control - 2

9

L-BU/BK

1688

5-Volt Reference

10

BK/WH

1704

Low Reference

11

PU

486

TP Sensor 2 Signal

12

OG/BK

1061

UART Serial Data

13

D-BU/WH

774

UART Serial Data

14

GY

397

Cruise Control On Switch Signal

15

BK

1250

Ground

16

YE

581

TAC Motor Control - 1

Throttle Actuator Control (TAC) Module - C2


Object Number: 666638  Size: CH

Connector Part Information

  • OEM: 12177081
  • Service: 15305916
  • Description: 10-Way F 150 Series Sealed (BK)

Terminal Part Information

  • Terminal/Tray: 15326267/19
  • Core/Insulation Crimp: E/4
  • Release Tool/Test Probe: 15315247/J-35616-2A (GY)

Throttle Actuator (TAC) Module - C2

Pin

Wire Color

Circuit No.

Function

A

--

--

Not Used

B

TN

1274

5-Volt Reference

C

L-BU

1162

APP Sensor 2 Signal

D

PU

1272

Low Reference

E

--

--

Not Used

F

D-BU

1161

APP Sensor 1 Signal

G

WH/BK

1164

5-Volt Reference

H

--

--

Not Used

J

BN

1271

Low Reference

K

--

--

Not Used

Throttle Body


Object Number: 831368  Size: CH

Connector Part Information

  • OEM: 15326836
  • Service: 88986255
  • Description: 8-Way F GT 150 Series Sealed (BK)

Terminal Part Information

  • Terminal/Tray: 12191819/8
  • Core/Insulation Crimp: Pins A, C - 2/A
  • Core/Insulation Crimp: Pins B, D-H - E/A
  • Release Tool/Test Probe: 15315247/J-35616-2A (GY)

Throttle Body

Pin

Wire Color

Circuit No.

Function

A

YE

581

TAC Motor Control - 1

B

BK/WH

1704

Low Reference

C

BN

582

TAC Motor Control - 2

D

BK

452

Low Reference

E

L-BU/BK

1688

5-Volt Reference

F

PU

486

TP Sensor 2 Signal

G

D-GN

485

TP Sensor 1 Signal

H

GY

416

5-Volt Reference