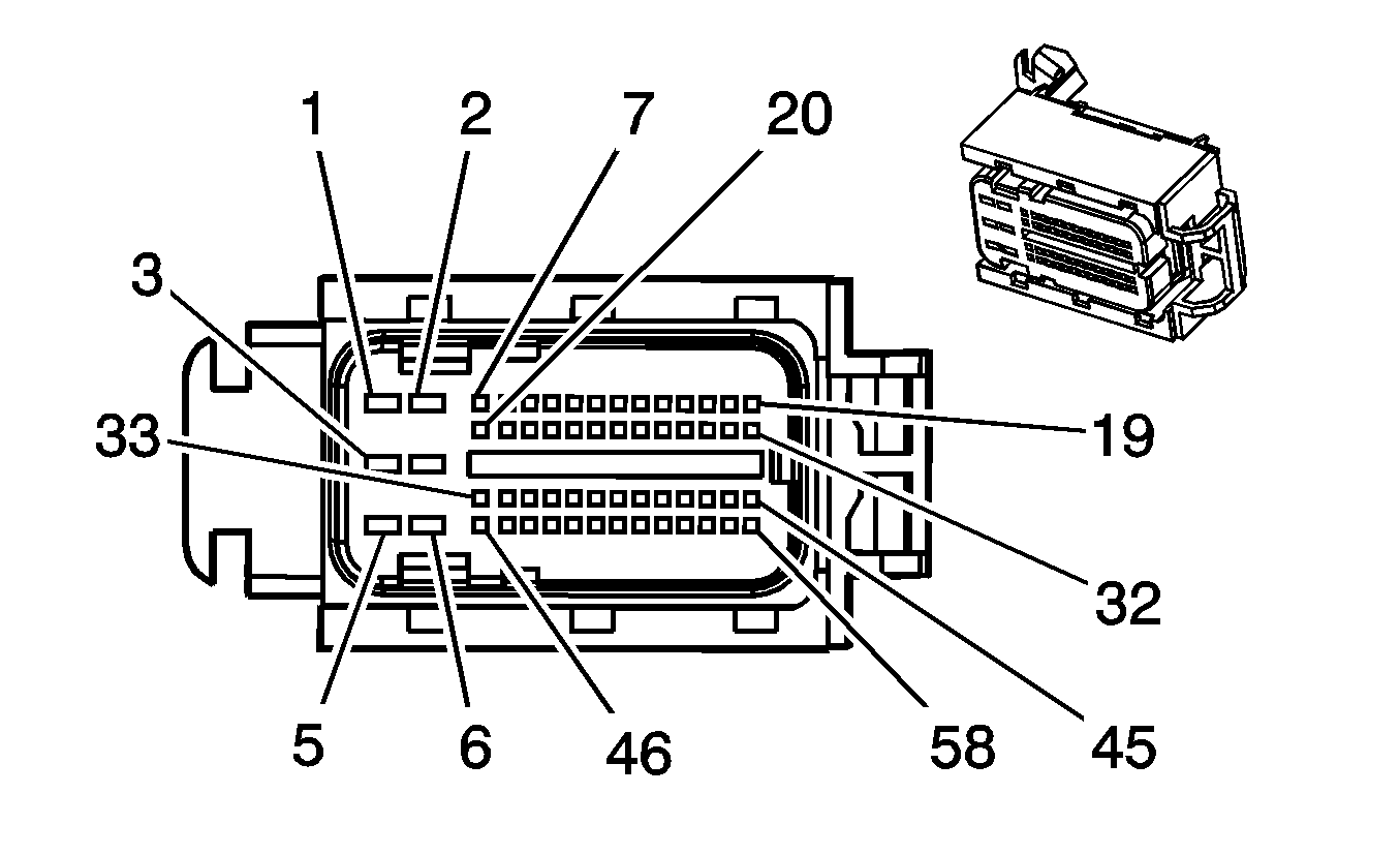
| Connector 1: | Engine Control Module (ECM) - C1 |
| Connector 2: | Engine Control Module (ECM) - C2 |
Connector Part Information
|
Terminal Part Information
|
Pin | Wire Color | Circuit No. | Function |
|---|---|---|---|
1 | OG | 5421 | Injector Positive Voltage Control |
2 | D-BU/WH | 878 | Fuel Injector 8 Control Group 4 |
3 | OG/BK | 877 | Fuel Injector 7 Control Group 2 |
4-5 | -- | -- | Not Used |
6 | OG/BK | 469 | Low Reference |
7 | PU | 806 | Crank Voltage |
8 | -- | -- | Not Used |
9 | BN | 1174 | Oil Level Switch Signal |
10 | GY/BK | 87 | Cruise Control Resume/Accel Switch Signal |
11 | GY/BK | 6272 | Low Reference |
12 | GY | 2704 | 5-Volt Reference 3 |
13 | TN | 5928 | 5-Volt Reference 3 |
14 | -- | -- | Not Used |
15 | GY | 2705 | 5-Volt Reference 2 |
16-17 | -- | -- | Not Used |
18 | YE | 492 | MAF Sensor Signal |
19 | L-GN | 432 | MAP Sensor Signal |
20 | YE | 5947 | Turbocharger Vane Position Sensor Signal |
21 | L-BU | 1162 | APP Sensor 2 Signal |
22 | YE/BK | 508 | Water in Fuel Indicator Control |
23 | BK | 2755 | Low Reference |
24 | PU/WH | 2530 | Fuel Pressure Regulator Solenoid Supply Voltage |
25 | PK | 5425 | Injector Positive Voltage Control |
26 | YE/BK | 846 | Fuel Injector 6 Control Group 2 |
27 | PK/BK | 1746 | Fuel Injector 3 Control Group 4 |
28-29 | -- | -- | Not Used |
30 | OG/BK | 2919 | Low Reference |
31-33 | -- | -- | Not Used |
34 | D-BU | 84 | Cruise Control Set/Coast Switch Signal |
35-36 | -- | -- | Not Used |
37 | GY | 2702 | 5-Volt Reference 3 |
38 | TN | 1274 | 5-Volt Reference 2 |
39 | TN | 2917 | 5-Volt Reference 2 |
40 | PU/WH | 6270 | 5-Volt Reference 1 |
41 | D-BU | 6259 | 5-Volt Reference 1 |
42 | TN | 472 | IAT Sensor 1 Signal |
43 | -- | -- | Not Used |
44 | TN/WH | 331 | Oil Pressure Sensor Signal |
45-46 | -- | -- | Not Used |
47 | TN | 2761 | Low Reference |
48 | D-BU | 5930 | Turbocharger Vane Position Control Solenoid Valve Control |
49 | PU | 5423 | Injector Positive Voltage Control |
50 | TN/WH | 845 | Fuel Injector 5 Control Group 3 |
51 | L-BU/BK | 844 | Fuel Injector 4 Control Group 1 |
52 | -- | -- | Not Used |
53 | YE/BK | 6120 | Low Reference |
54 | -- | -- | Not Used |
55 | TN | 476 | Low Reference |
56 | D-BU/WH | 6265 | CMP Sensor Signal |
57 | -- | -- | Not Used |
58 | L-GN | 1478 | Coolant Level Switch Signal |
59 | D-GN | 534 | High Idle Switch Signal |
60 | -- | -- | Not Used |
61 | GY | 397 | Cruise Control On Switch Signal |
62 | TN | 552 | Low Reference |
63 | OG/BK | 5929 | Low Reference |
64 | -- | -- | Not Used |
65 | L-BU | 6118 | IAT Sensor 2 Signal |
66 | -- | -- | Not Used |
67 | BN/WH | 5763 | EGR Valve Position Signal |
68 | YE | 410 | ECT Sensor Signal |
69-71 | -- | -- | Not Used |
72 | YE | 2834 | Fuel Pressure Regulator Solenoid Control |
73 | YE | 5422 | Injector Positive Voltage Control |
74 | TN | 1744 | Fuel Injector 1 Control Group 1 |
75 | L-GN/BK | 1745 | Fuel Injector 2 Control Group 3 |
76 | RD/WH | 840 | Ignition 1 Voltage |
77 | RD/WH | 440 | Battery Positive Voltage |
78 | PU | 1272 | Low Reference |
79 | WH/BK | 6271 | CKP Sensor Signal |
80 | D-GN/WH | 2523 | A/C Request Signal (C60) |
81-85 | -- | -- | Not Used |
86 | TN | 2753 | Low Reference |
87 | -- | -- | Not Used |
88 | BN | 6266 | Low Reference |
89-91 | -- | -- | Not Used |
92 | YE | 2918 | FRP Sensor Signal |
93-95 | -- | -- | Not Used |
96 | WH | 5931 | Low Reference |
Connector Part Information
|
Terminal Part Information
|
Pin | Wire Color | Circuit No. | Function |
|---|---|---|---|
1 | RD/WH | 740 | Ignition 1 Voltage |
2 | BK/WH | 1551 | Ground |
3 | RD/WH | 740 | Ignition 1 Voltage |
4 | BK/WH | 1551 | Ground |
5 | RD/WH | 740 | Ignition 1 Voltage |
6 | BK/WH | 1551 | Ground |
7-8 | -- | -- | Not Used |
9 | D-GN | 1049 | Class 2 Serial Data |
10-11 | -- | -- | Not Used |
12 | TN | 1465 | Fuel Pump Relay Control |
13-14 | -- | -- | Not Used |
15 | WH/BK | 1164 | 5-Volt Reference 3 |
16 | D-BU | 507 | Wait to Start Indicator Control |
17 | OG | 2013 | High Idle Indicator Control |
18 | -- | -- | Not Used |
19 | YE | 5991 | ECM Relay Control |
20 | -- | -- | Not Used |
21 | PK | 439 | Ignition 1 Voltage |
22 | PU | 420 | TCC Brake Switch/Cruise Control Release Signal |
23 | OG | 225 | Generator Turn On Signal |
24 | BN/WH | 7076 | Charge Indicator Control (KD9/YF2) |
25 | D-GN | 603 | A/C Low Pressure Switch Signal (C60) |
26-28 | -- | -- | Not Used |
29 | BN | 1271 | Low Reference |
30 | BN/WH | 419 | MIL Control |
31 | D-GN/WH | 459 | A/C Compressor Clutch Relay Control |
32 | YE/BK | 625 | Starter Enable Relay Control |
33 | OG/BK | 5764 | EGR Motor High Control |
34 | TN | 2759 | Low Reference |
35 | -- | -- | Not Used |
36 | PU | 1589 | Fuel Level Sensor Signal |
37 | -- | -- | Not Used |
38 | GY | 23 | Generator Field Duty Cycle Signal |
39 | OG/BK | 1786 | Park/Neutral Signal |
40 | L-BU | 1320 | Stop Lamp Switch Signal (Cutaway) or CHMSL Supply Voltage/Stop Lamp Supply Voltage |
41 | D-BU | 6863 | Low Reference |
42-43 | -- | -- | Not Used |
44 | TN | 2501 | High Speed GMLAN Serial Data Bus (-) |
45 | L-BU | 2221 | Signal High - Rear |
46 | L-GN/BK | 5746 | EGR Motor Low Control |
47 | BN | 6062 | Low Reference |
48 | YE | 1578 | Fuel Temperature Sensor Signal |
49 | D-BU | 1161 | APP Sensor 1 Signal |
50-53 | -- | -- | Not Used |
54 | YE/BK | 1827 | Vehicle Speed Signal |
55 | -- | -- | Not Used |
56 | PK | 1020 | Ignition 0 Voltage |
57 | TN/BK | 2500 | High Speed GMLAN Serial Data Bus (+) |
58 | -- | -- | Not Used |