GM Service Manual Online
For 1990-2009 cars only

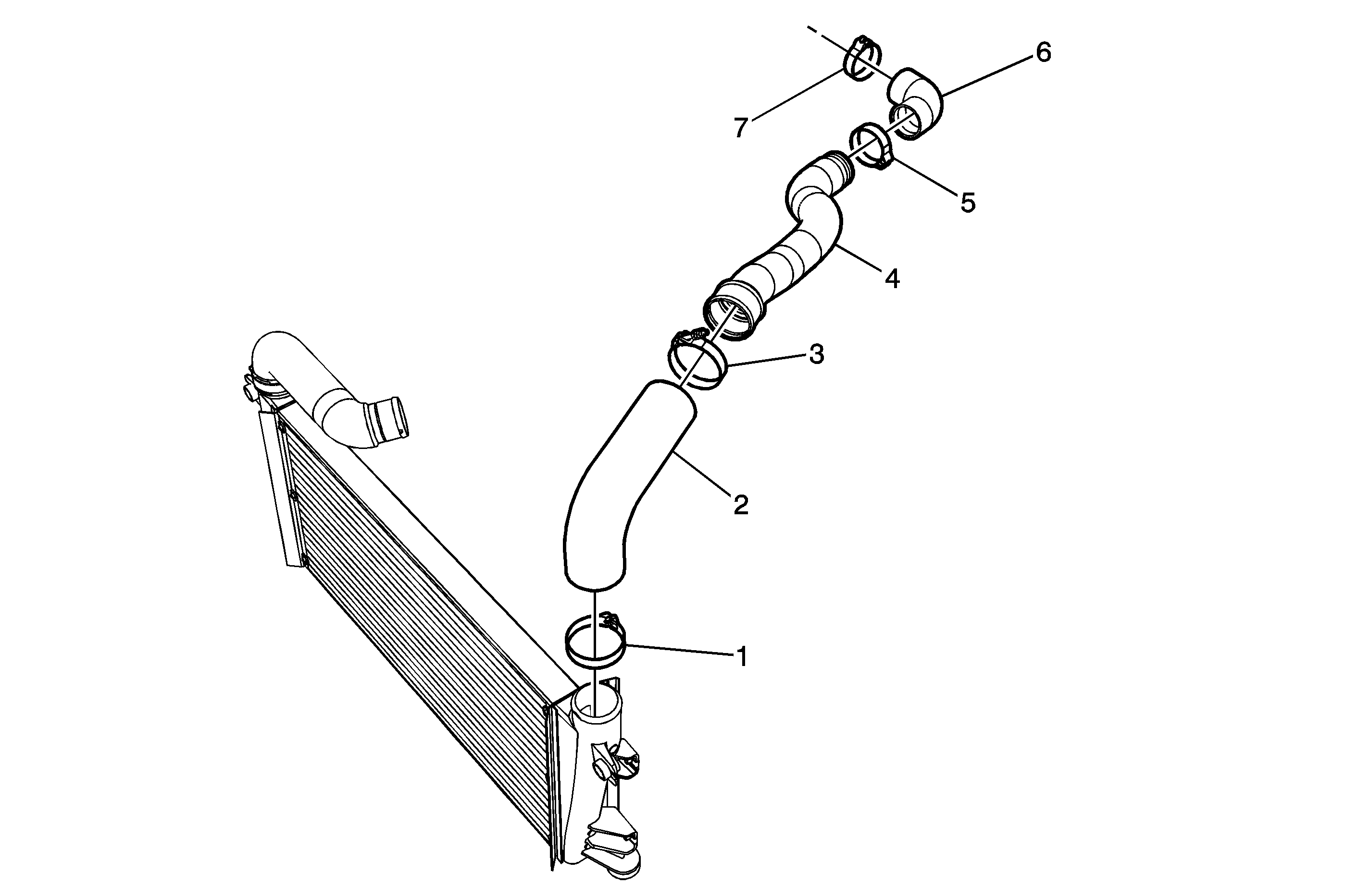
Charged Air Cooler Hoses/Pipes Replacement Inlet


Object Number: 1726288  Size: MF

Callout

Component Name

Notice: Refer to Fastener Notice in the Preface section.

Fastener Tightening Specifications: Refer to Fastener Tightening Specifications.

Preliminary Procedure

Remove the engine cover. Refer to Engine Cover Replacement.

1

T-Bolt Band Clamp

Tighten
8 N·m (70 lb in)

2

Charged Air Cooler Inlet Duct Connector

Tip
Align the components to the indicator marks during installation.

3

T-Bolt Band Clamp

Tighten
8 N·m (70 lb in)

4

Charged Air Cooler Inlet Duct

Tip
Align the components to the indicator marks during installation.

5

T-Bolt Band Clamp

Tighten
8 N·m (70 lb in)

6

Charged Air Cooler Inlet Duct Connector

Tip
Align the components to the indicator marks during installation.

7

T-Bolt Band Clamp

Tighten
8 N·m (70 lb in)

Charged Air Cooler Hoses/Pipes Replacement Outlet


Object Number: 1726383  Size: MF

Callout

Component Name

Notice: Refer to Fastener Notice in the Preface section.

Fastener Tightening Specifications: Refer to Fastener Tightening Specifications.

Preliminary Procedure

Reposition the surge tank. Refer to Radiator Surge Tank Replacement.

1

Charged Air Cooler Assembly T-Bolt Band Clamp

Tighten
12 N·m (106 lb in)

2

Charged Air Cooler Outlet Pipe

Tip
Align the notch of the outlet pipe to the alignment pin on the cooler during installation.

3

Charged Air Cooler Outlet Duct Clamp

Tighten
8 N·m (70 lb in)

4

Charged Air Cooler Outlet Duct

Tip
Align the components to the indicator marks during installation.

5

Charged Air Cooler Outlet Duct Clamp

Tighten
8 N·m (70 lb in)