GM Service Manual Online
For 1990-2009 cars only
Connector 1: A/C Compressor Clutch (C60)
Connector 2: A/C High Pressure Switch (C60)
Connector 3: A/C Low Pressure Switch (C60)
Connector 4: Air Temperature Actuator
Connector 5: Air Temperature Actuator - Auxiliary (C69)
Connector 6: Blower Motor
Connector 7: Blower Motor - Auxiliary (C36/C69)
Connector 8: Blower Motor Resistor Assembly
Connector 9: Blower Motor Resistor Assembly - Auxiliary (C36/C69)
Connector 10: Blower Motor Switch - Auxiliary (C36 w/o C69)
Connector 11: Coolant Heater Control - C1 (K08)
Connector 12: Coolant Heater Control - C2 (K08)
Connector 13: Coolant Heater - Fuel Pump (K08)
Connector 14: HVAC Control Assembly - C1
Connector 15: HVAC Control Assembly - C2
Connector 16: HVAC Control Assembly - C3 (C49/DE5/DE7)
Connector 17: HVAC Control Assembly - Front Auxiliary (C69 w/Rear Auxiliary Controls)
Connector 18: HVAC Control Assembly - Front Auxiliary (C69 w/o Rear Auxiliary Controls)
Connector 19: HVAC Control Assembly - Rear Auxiliary (C69 w/Rear Auxiliary Controls)
Connector 20: HVAC Control Processor - Auxiliary (C69 w/Rear Auxiliary Controls)
Connector 21: High Speed Blower Motor Relay - Auxiliary (C36/C69)
Connector 22: Low Speed Blower Motor Relay - Auxiliary (C36/C69)
Connector 23: Med Speed Blower Motor Relay - Auxiliary (C36/C69)
Connector 24: Mode Actuator - Auxiliary (C69)
Connector 25: Vacuum Pump (Diesel)

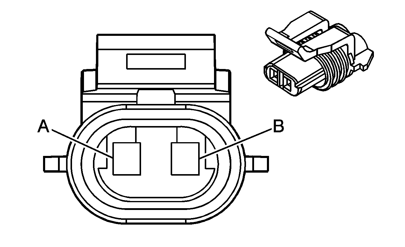
A/C Compressor Clutch (C60)


Object Number: 684852  Size: CH

Connector Part Information

  • OEM: 12162017
  • Service: 12101937
  • Description: 2-Way F Metri-Pack 150 Series Sealed (GY)

Terminal Part Information

  • Terminal/Tray: 12048074/2
  • Core/Insulation Crimp: E/1
  • Release Tool/Test Probe: 12094429/J-35616-2A (GY)

A/C Compressor Clutch (C60)

Pin

Wire Color

Circuit No.

Function

A

BK

1250

Ground

B

D-GN

59

A/C Compressor Clutch Supply Voltage

A/C High Pressure Switch (C60)


Object Number: 366093  Size: CH

Connector Part Information

  • OEM: 15317968
  • Service: 15306146
  • Description: 2-Way F Micro-Pack 100W (BK)

Terminal Part Information

  • Terminal/Tray: 12084912/5
  • Core/Insulation Crimp: W/W
  • Release Tool/Test Probe: 12122523/J-35616-6 (BN)

A/C High Pressure Switch (C60)

Pin

Wire Color

Circuit No.

Function

A

D-GN/WH

2523

A/C Request Signal

B

L-GN

66

A/C Request Signal

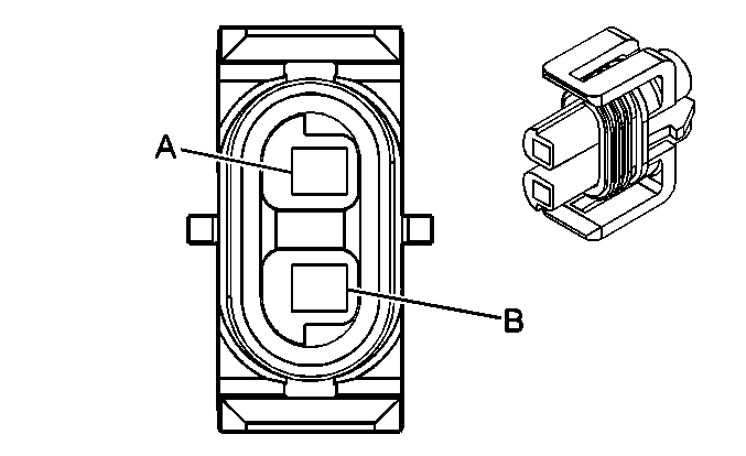
A/C Low Pressure Switch (C60)


Object Number: 537107  Size: CH

Connector Part Information

  • OEM: 12052644
  • Service: 15306302
  • Description: 2-Way F Metri-Pack 150 Series Sealed (GY)

Terminal Part Information

  • Terminal/Tray: 12048074/2
  • Core/Insulation Crimp: E/1
  • Release Tool/Test Probe: 12094429/J-35616-2A (GY)

A/C Low Pressure Switch (C60)

Pin

Wire Color

Circuit No.

Function

A

D-GN

603

A/C Low Pressure Switch Signal

B

BK

1250

Ground

Air Temperature Actuator


Object Number: 281207  Size: CH

Connector Part Information

  • OEM: 12040953
  • Service: 12102632
  • Description: 6-Way F Micro-Pack 100 Series (BK)

Terminal Part Information

  • Terminal/Tray: 12146447/3
  • Core/Insulation Crimp: E/C
  • Release Tool/Test Probe: 12031876-1/J-35616-6 (BN)

Air Temperature Actuator

Pin

Wire Color

Circuit No.

Function

5-6

--

--

Not Used

7

BK

550

Ground

8

L-BU

733

Air Temperature Door Control

9

--

--

Not Used

10

BN

341

Ignition 3 Voltage

Air Temperature Actuator - Auxiliary (C69)


Object Number: 281207  Size: CH

Connector Part Information

  • OEM: 12040953
  • Service: 12102632
  • Description: 6-Way F Micro-Pack 100 Series (BK)

Terminal Part Information

  • Terminal/Tray: 12146447/3
  • Core/Insulation Crimp: E/C
  • Release Tool/Test Probe: 12031876-1/J-35616-6 (BN)

Air Temperature Actuator - Auxiliary (C69)

Pin

Wire Color

Circuit No.

Function

5-6

--

--

Not Used

7

BK

850

Ground

8

OG

2775

Auxiliary Air Temperature Door Control

9

--

--

Not Used

10

BN

341

Ignition 3 Voltage

Blower Motor


Object Number: 684799  Size: CH

Connector Part Information

  • OEM: 12077900
  • Service: 12116247
  • Description: 2-Way F Metri-Pack 280 Series Sealed (BK)

Terminal Part Information

  • Terminal/Tray: See Terminal Repair Kit
  • Core/Insulation Crimp: See Terminal Repair Kit
  • Release Tool/Test Probe: See Terminal Repair Kit

Blower Motor

Pin

Wire Color

Circuit No.

Function

A

BK

1250

Ground

B

RD

65

Blower Motor Supply Voltage

Blower Motor - Auxiliary (C36/C69)


Object Number: 684799  Size: CH

Connector Part Information

  • OEM: 12077900
  • Service: 12116247
  • Description: 2-Way F Metri-Pack 280 Series Sealed (BK)

Terminal Part Information

  • Terminal/Tray: 12129493/2
  • Core/Insulation Crimp: 4/5
  • Release Tool/Test Probe: 12094430/J-35616-4A (PU)

Blower Motor - Auxiliary (C36/C69)

Pin

Wire Color

Circuit No.

Function

A

BK

850

Ground

B

YE

1172

Auxiliary Blower Motor Supply Voltage

Blower Motor Resistor Assembly


Object Number: 535914  Size: CH

Connector Part Information

  • OEM: 12160746
  • Service: 12160746
  • Description: 6-Way F Metri-Pack 280 Series Flexlock Sealed (L-GY)

Terminal Part Information

  • Pins: A, C
  • Terminal/Tray: 12110853/4
  • Core/Insulation Crimp: B/5
  • Release Tool/Test Probe: 15315247/J-35616-4A (PU)
  • Pins: B, D-F
  • Terminal/Tray: 12110847/4
  • Core/Insulation Crimp: C/5
  • Release Tool/Test Probe: 15315247/J-35616-4A (PU)

Blower Motor Resistor Assembly

Pin

Wire Color

Circuit No.

Function

A

RD/BK

542

Battery Positive Voltage

B

OG

52

Blower Motor High Control

C

BK

1250

Ground

D

TN

63

Blower Motor Medium 1 Control

E

YE

60

Blower Motor Low Control

F

L-BU

72

Medium 2 Blower Motor Control

Blower Motor Resistor Assembly - Auxiliary (C36/C69)


Object Number: 816184  Size: CH

Connector Part Information

  • OEM: 12129566
  • Service: 15306069
  • Description: 4-Way F Metri-Pack 280 Series Sealed (GY)

Terminal Part Information

  • Terminal/Tray: 12129493/2
  • Core/Insulation Crimp: 4/5
  • Release Tool/Test Probe: 12094430/J-35616-4A (PU)

Blower Motor Resistor Assembly - Auxiliary (C36/C69)

Pin

Wire Color

Circuit No.

Function

A

YE

1176

Auxiliary Blower Motor Low Control

B

--

--

Not Used

C

L-BU

1072

Auxiliary Blower Motor Medium Control

D

YE

1172

Auxiliary Blower Motor Supply Voltage

Blower Motor Switch - Auxiliary (C36 w/o C69)


Object Number: 62456  Size: CH

Connector Part Information

  • OEM: 12064752
  • Service: 15305888
  • Description: 6-Way F Metri-Pack 280 Series (BK)

Terminal Part Information

  • Terminal/Tray: 12034046/2
  • Core/Insulation Crimp: E/A
  • Release Tool/Test Probe: 12094430/J-35616-4A (PU)

Blower Motor Switch - Auxiliary (C36 w/o C69)

Pin

Wire Color

Circuit No.

Function

A

BN/WH

230

Instrument Panel Lamps Dimming Control

B

BK

450

Ground

C

--

--

Not Used

D

WH

1924

Auxiliary Blower Motor High Control

E

D-BU

1926

Auxiliary Blower Motor Low Control

F

OG

1925

Auxiliary Blower Motor Medium Control

Coolant Heater Control - C1 (K08)


Object Number: 1645908  Size: CH

Connector Part Information

  • OEM: 967525
  • Service: Service by Harness - See Part Catalog
  • Description: 14-Way F Micro Timer 2 (BK)

Terminal Part Information

  • Terminal/Tray: See Terminal Repair Kit
  • Core/Insulation Crimp: See Terminal Repair Kit
  • Release Tool/Test Probe: See Terminal Repair Kit

Coolant Heater Control - C1 (K08)

Pin

Wire Color

Circuit No.

Function

1

BU

--

Low Reference

2

BN

--

5-Volt Reference

3

BU

--

Low Reference

4

BU

--

5-Volt Reference

5

RD

--

Low Reference

6

RD

--

5-Volt Reference

7-8

--

--

Not Used

9

WH

--

Ground

10-11

--

--

Not Used

12

BN

--

Coolant Heater Glow Plug Supply Voltage

13

BK

--

Ground

14

BN

--

Coolant Heater Blower Supply Voltage

Coolant Heater Control - C2 (K08)


Object Number: 655815  Size: CH

Connector Part Information

  • OEM: 15326660
  • Service: 88986262
  • Description: 10-Way F GT 280 Series Sealed 5.8 (BK)

Terminal Part Information

  • Pins: A, H
  • Terminal/Tray: 15304720/19
  • Core/Insulation Crimp: 4/5
  • Release Tool/Test Probe: 15315247/J-35616-4A (PU)
  • Pins: B-F
  • Terminal/Tray: 15304719/19
  • Core/Insulation Crimp: Pins B-E - E/5
  • Core/Insulation Crimp: Pins F - 2/5
  • Release Tool/Test Probe: 15315247/J-35616-4A (PU)

Coolant Heater Control - C2 (K08)

Pin

Wire Color

Circuit No.

Function

A

RD/WH

440

Battery Positive Voltage

B

TN

2501

High Speed GMLAN Serial Data Bus (-)

C

TN/BK

2500

High Speed GMLAN Serial Data Bus (+)

D

TN

2501

High Speed GMLAN Serial Data Bus (-)

E

TN/BK

2500

High Speed GMLAN Serial Data Bus (+)

F

D-BU/GN

7077

Coolant Heater - Fuel Pump Control

G

--

--

Not Used

H

BK

150

Ground

J-K

--

--

Not Used

Coolant Heater - Fuel Pump (K08)


Object Number: 1363810  Size: CH

Connector Part Information

  • OEM: 282189-1
  • Service: Service by Harness - See Part Catalog
  • Description: 2-Way F (BK)

Terminal Part Information

  • Terminal/Tray: See Terminal Repair Kit
  • Core/Insulation Crimp: See Terminal Repair Kit
  • Release Tool/Test Probe: See Terminal Repair Kit

Coolant Heater - Fuel Pump (K08)

Pin

Wire Color

Circuit No.

Function

1

BN

150

Ground

2

GN/RD

7077

Coolant Heater - Fuel Pump Control

HVAC Control Assembly - C1


Object Number: 68737  Size: CH

Connector Part Information

  • OEM: 12129489
  • Service: 12126486
  • Description: 3-Way F Metri-Pack 280 Series Flexlock (BK)

Terminal Part Information

  • Pins: A, B
  • Terminal/Tray: 12110844/4
  • Core/Insulation Crimp: Pins A - C/A
  • Core/Insulation Crimp: Pins B - E/A
  • Release Tool/Test Probe: 15315247/J-35616-4A (PU)
  • Pins: C
  • Terminal/Tray: 12110844/4
  • Core/Insulation Crimp: E/C
  • Release Tool/Test Probe: 15315247/J-35616-4A (PU)

HVAC Control Assembly - C1

Pin

Wire Color

Circuit No.

Function

A

WH

119

Blower Motor Switch Supply Voltage

B

BK

550

Ground

C

BN/WH

230

Instrument Panel Lamps Dimming Control

HVAC Control Assembly - C2


Object Number: 62469  Size: CH

Connector Part Information

  • OEM: 12064998
  • Service: 15306189
  • Description: 8-Way F Metri-Pack 280 Series (BK)

Terminal Part Information

  • Terminal/Tray: 12066214/2
  • Core/Insulation Crimp: Pins A-D, F, G - See Terminal Repair Kit
  • Core/Insulation Crimp: Pins E, H - F/D
  • Release Tool/Test Probe: 12094430/J-35616-4A (PU)

HVAC Control Assembly - C2

Pin

Wire Color

Circuit No.

Function

A

YE

60

Blower Motor Low Control

B

TN

63

Blower Motor Medium 1 Control

C

L-BU

72

Medium 2 Blower Motor Control

D

OG

52

Blower Motor High Control

E

BN

141

Ignition 3 Voltage

F

L-BU

733

Air Temperature Door Control

G

WH

119

Blower Motor Switch Supply Voltage

H

L-GN

66

A/C Request Signal

HVAC Control Assembly - C3 (C49/DE5/DE7)


Object Number: 62450  Size: CH

Connector Part Information

  • OEM: 12052856
  • Service: 12125636
  • Description: 4-Way F Metri-Pack 280 Series (BK)

Terminal Part Information

  • Pins: A, D
  • Terminal/Tray: 12066214/2
  • Core/Insulation Crimp: See Terminal Repair Kit
  • Release Tool/Test Probe: 12094430/J-35616-4A (PU)
  • Pins: B, C
  • Terminal/Tray: 12034046/2
  • Core/Insulation Crimp: E/A
  • Release Tool/Test Probe: 12094430/J-35616-4A (PU)

HVAC Control Assembly - C3 (C49/DE5/DE7)

Pin

Wire Color

Circuit No.

Function

A

RD/WH

4440

Battery Positive Voltage

B

BN

341

Ignition 3 Voltage

C

BK

550

Ground

D

WH

193

Rear Defog Relay Supply Voltage

HVAC Control Assembly - Front Auxiliary (C69 w/Rear Auxiliary Controls)


Object Number: 62464  Size: CH

Connector Part Information

  • OEM: 12064769
  • Service: 12101762
  • Description: 10-Way F Metri-Pack 150 Series (NA)

Terminal Part Information

  • Terminal/Tray: 12064971/5
  • Core/Insulation Crimp: E/C
  • Release Tool/Test Probe: 12094429/J-35616-2A (GY)

HVAC Control Assembly - Front Auxiliary (C69 w/Rear Auxiliary Controls)

Pin

Wire Color

Circuit No.

Function

A

BN/WH

230

Instrument Panel Lamps Dimming Control

B

BK

450

Ground

C

D-BU

1926

Auxiliary Blower Motor Low Control

D

WH

1924

Auxiliary Blower Motor High Control

E

OG

1925

Auxiliary Blower Motor Medium Control

F

YE

5262

Front Auxiliary Blower Motor Switch Control

G

BN

341

Ignition 3 Voltage

H

PU

5260

Front Auxiliary Air Temperature Door Control

J

TN

5261

Front Auxiliary Mode Door Control

K

--

--

Not Used

HVAC Control Assembly - Front Auxiliary (C69 w/o Rear Auxiliary Controls)


Object Number: 803688  Size: CH

Connector Part Information

  • OEM: 12064871
  • Service: 12101832
  • Description: 10-Way F Metri-Pack 150 Series (BU)

Terminal Part Information

  • Pins: A-E, G
  • Terminal/Tray: 12064971/5
  • Core/Insulation Crimp: E/C
  • Release Tool/Test Probe: 12094429/J-35616-2A (GY)
  • Pins: F, H, J
  • Terminal/Tray: See Terminal Repair Kit
  • Core/Insulation Crimp: See Terminal Repair Kit
  • Release Tool/Test Probe: See Terminal Repair Kit

HVAC Control Assembly - Front Auxiliary (C69 w/o Rear Auxiliary Controls)

Pin

Wire Color

Circuit No.

Function

A

BN/WH

230

Instrument Panel Lamps Dimming Control

B

BK

450

Ground

C

D-BU

1926

Auxiliary Blower Motor Low Control

D

WH

1924

Auxiliary Blower Motor High Control

E

OG

1925

Auxiliary Blower Motor Medium Control

F

BK

450

Ground

G

BN

341

Ignition 3 Voltage

H

OG

2775

Auxiliary Air Temperature Door Control

J

GY

2599

Auxiliary Mode Door Control

K

--

--

Not Used

HVAC Control Assembly - Rear Auxiliary (C69 w/Rear Auxiliary Controls)


Object Number: 803688  Size: CH

Connector Part Information

  • OEM: 12064871
  • Service: 12101832
  • Description: 10-Way F Metri-Pack 150 Series (BU)

Terminal Part Information

  • Terminal/Tray: 12064971/5
  • Core/Insulation Crimp: E/C
  • Release Tool/Test Probe: 12094429/J-35616-2A (GY)

HVAC Control Assembly - Rear Auxiliary (C69 w/Rear Auxiliary Controls)

Pin

Wire Color

Circuit No.

Function

A

BN/WH

230

Instrument Panel Lamps Dimming Control

B

BK

450

Ground

C

D-BU

1926

Auxiliary Blower Motor Low Control

D

WH

1924

Auxiliary Blower Motor High Control

E

OG

1925

Auxiliary Blower Motor Medium Control

F

PK/BK

5265

Rear Auxiliary Blower Motor Switch Control

G

BN

341

Ignition 3 Voltage

H

BN

5263

Rear Auxiliary Air Temperature Door Control

J

PU/WH

5264

Rear Auxiliary Mode Door Control

K

--

--

Not Used

HVAC Control Processor - Auxiliary (C69 w/Rear Auxiliary Controls)


Object Number: 328486  Size: CH

Connector Part Information

  • OEM: 12040747
  • Service: 12101938
  • Description: 12-Way P/C Edgeboard Standard (BK)

Terminal Part Information

  • Terminal/Tray: 12040511/3
  • Core/Insulation Crimp: E/A
  • Release Tool/Test Probe: 12094429/J-35616-4A (PU)

HVAC Control Processor - Auxiliary (C69 w/Rear Auxiliary Controls)

Pin

Wire Color

Circuit No.

Function

A

PU

5260

Front Auxiliary Air Temperature Door Control

B

OG

2775

Auxiliary Air Temperature Door Control

C

BN

5263

Rear Auxiliary Air Temperature Door Control

D

PU/WH

5264

Rear Auxiliary Mode Door Control

E

TN

5261

Front Auxiliary Mode Door Control

F

GY

2599

Auxiliary Mode Door Control

G

--

--

Not Used

H

BK

450

Ground

J

BN

341

Ignition 3 Voltage

K

--

--

Not Used

L

PK/BK

5265

Rear Auxiliary Blower Motor Switch Control

M

YE

5262

Front Auxiliary Blower Motor Switch Control

High Speed Blower Motor Relay - Auxiliary (C36/C69)


Object Number: 309518  Size: CH

Connector Part Information

  • OEM: 12129715
  • Service: 12129715
  • Description: 6-Way F Metri-Pack 280 Series Flexlock (GY)

Terminal Part Information

  • Pins: A1, C2
  • Terminal/Tray: 12110844/4
  • Core/Insulation Crimp: E/C
  • Release Tool/Test Probe: 15315247/J-35616-4A (PU)
  • Pins: A2, C1
  • Terminal/Tray: 12191475/1
  • Core/Insulation Crimp: A/G
  • Release Tool/Test Probe: 12094429/J-35616-4A (PU)

High Speed Blower Motor Relay - Auxiliary (C36/C69)

Pin

Wire Color

Circuit No.

Function

A1

WH

1924

Auxiliary Blower Motor High Control

A2

YE

1172

Auxiliary Blower Motor Supply Voltage

B1-B2

--

--

Not Used

C1

RD/WH

1740

Battery Positive Voltage

C2

BN

341

Ignition 3 Voltage

Low Speed Blower Motor Relay - Auxiliary (C36/C69)


Object Number: 309518  Size: CH

Connector Part Information

  • OEM: 12129715
  • Service: 12129715
  • Description: 6-Way F Metri-Pack 280 Series Flexlock (GY)

Terminal Part Information

  • Pins: A1, C2
  • Terminal/Tray: 12110844/4
  • Core/Insulation Crimp: E/C
  • Release Tool/Test Probe: 15315247/J-35616-4A (PU)
  • Pins: A2, C1
  • Terminal/Tray: 12191475/1
  • Core/Insulation Crimp: A/G
  • Release Tool/Test Probe: 12094429/J-35616-4A (PU)

Low Speed Blower Motor Relay - Auxiliary (C36/C69)

Pin

Wire Color

Circuit No.

Function

A1

D-BU

1926

Auxiliary Blower Motor Low Control

A2

YE

1176

Auxiliary Blower Motor Low Control

B1-B2

--

--

Not Used

C1

RD/WH

1740

Battery Positive Voltage

C2

BN

341

Ignition 3 Voltage

Med Speed Blower Motor Relay - Auxiliary (C36/C69)


Object Number: 309518  Size: CH

Connector Part Information

  • OEM: 12129715
  • Service: 12129715
  • Description: 6-Way F Metri-Pack 280 Series Flexlock (GY)

Terminal Part Information

  • Pins: A1, C2
  • Terminal/Tray: 12110844/4
  • Core/Insulation Crimp: E/C
  • Release Tool/Test Probe: 15315247/J-35616-4A (PU)
  • Pins: A2, C1
  • Terminal/Tray: 12191475/1
  • Core/Insulation Crimp: A/G
  • Release Tool/Test Probe: 12094429/J-35616-4A (PU)

Med Speed Blower Motor Relay - Auxiliary (C36/C69)

Pin

Wire Color

Circuit No.

Function

A1

OG

1925

Auxiliary Blower Motor Medium Control

A2

L-BU

1072

Auxiliary Blower Motor Medium Control

B1-B2

--

--

Not Used

C1

RD/WH

1740

Battery Positive Voltage

C2

BN

341

Ignition 3 Voltage

Mode Actuator - Auxiliary (C69)


Object Number: 281207  Size: CH

Connector Part Information

  • OEM: 12040953
  • Service: 12102632
  • Description: 6-Way F Micro-Pack 100 Series (BK)

Terminal Part Information

  • Terminal/Tray: 12146447/3
  • Core/Insulation Crimp: E/C
  • Release Tool/Test Probe: 12031876-1/J-35616-6 (BN)

Mode Actuator - Auxiliary (C69)

Pin

Wire Color

Circuit No.

Function

5-6

--

--

Not Used

7

BK

850

Ground

8

GY

2599

Auxiliary Mode Door Control

9

--

--

Not Used

10

BN

341

Ignition 3 Voltage

Vacuum Pump (Diesel)


Object Number: 632351  Size: CH

Connector Part Information

  • OEM: 15326802
  • Service: 15306156
  • Description: 2-Way F GT 150 Series Sealed (BK)

Terminal Part Information

  • Terminal/Tray: 12191819/8
  • Core/Insulation Crimp: 2/A
  • Release Tool/Test Probe: 15315247/J-35616-2A (GY)

Vacuum Pump (Diesel)

Pin

Wire Color

Circuit No.

Function

A

BK

1250

Ground

B

BN

141

Ignition 3 Voltage