| Subject: | LB7 LBZ LLY LMM -- Intermittent Driveability Conditions Such as No Crank, Crank But No Start, Hard to Start, MIL/SES, Hesitation, Lack of Power, Surge, Misfire, Fuel Knock, No Serial Data Communication, IPC Indicates No Oil Pressure, DTCs Set (Inspect Connection/Replace Connector Bodies) |
| Models: | 2001-2007 Chevrolet Silverado Pickups |
| 2006-2007 Chevrolet Express Vans |
| 2003-2007 Chevrolet Kodiak C4500/C5500 Series |
| 2001-2007 GMC Sierra Pickups |
| 2006-2007 GMC Savana Vans |
| 2003-2007 GMC TopKick C4500/C5500 Series |
| with 6.6L Duramax™ Diesel Engine (VINs 1, 2, 6, D -- RPOs LB7, LLY, LMM, LBZ) |
This bulletin is being revised to update the model years and add Condition and Correction content. Please discard Corporate Bulletin Number 04-06-04-001B (Section 06 -- Engine/Propulsion System).
Some customers may comment on any of the following various intermittent driveability conditions:
| • | No crank |
| • | Crank but no start |
| • | Hard to start |
| • | MIL/SES Illuminated with EGR DTCs, cam sensor DTCs, fuel pressure DTCs, turbocharger DTCs, injection circuit DTCs |
| • | Hesitation |
| • | Lack of power |
| • | Surge |
| • | Misfire |
| • | Fuel knock |
| • | No serial data communication |
| • | IPC indicates no oil pressure |
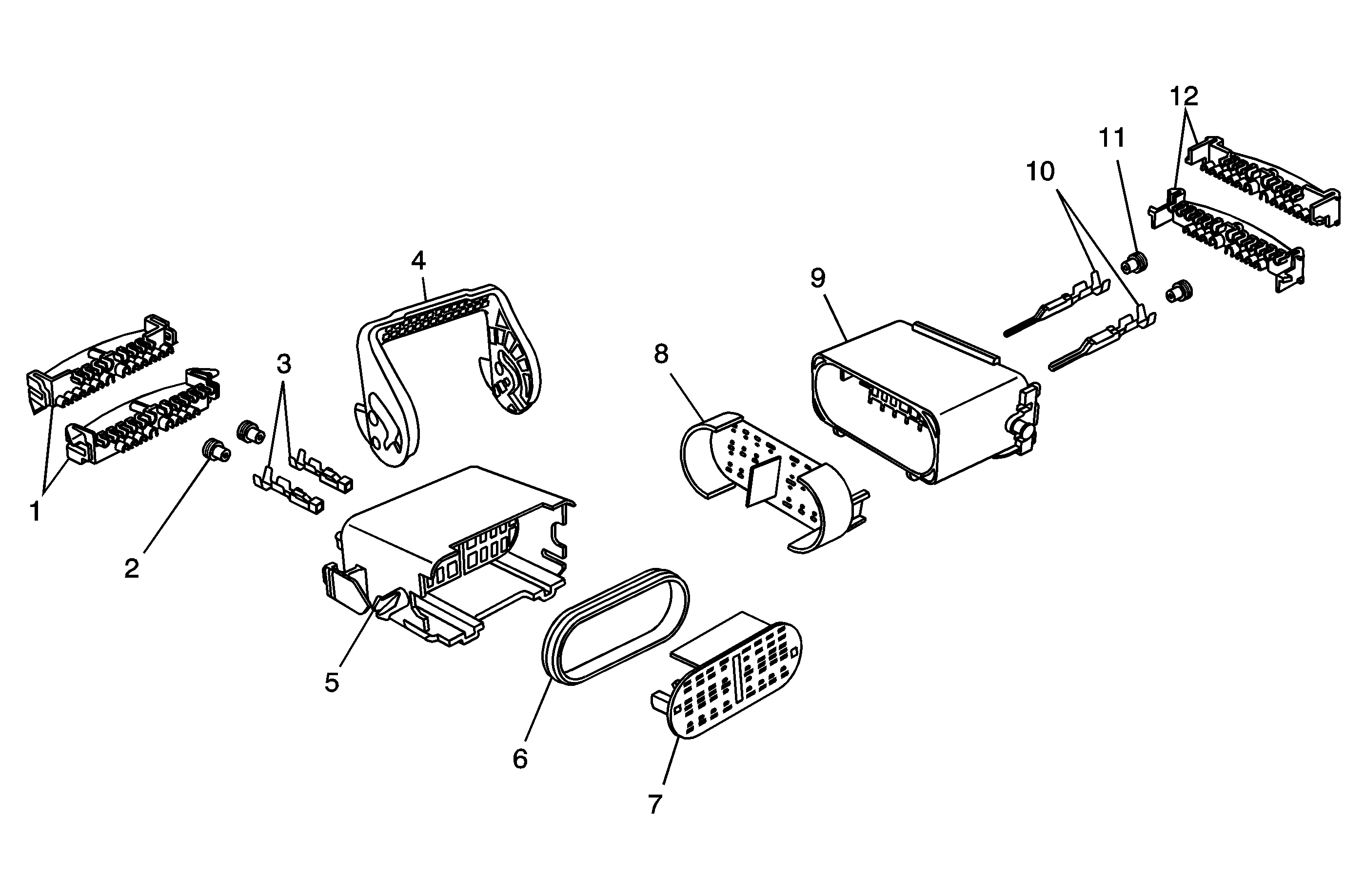
Various engine faults or DTCs may occur due to backed out pins in the following main engine harness connectors:
| • | C107 and C118 (38-way) Engine Harness to the Engine Chassis Harness Connector |
| • | C108 and C119 (24-way) Engine Harness to the Engine Chassis Harness Connector |
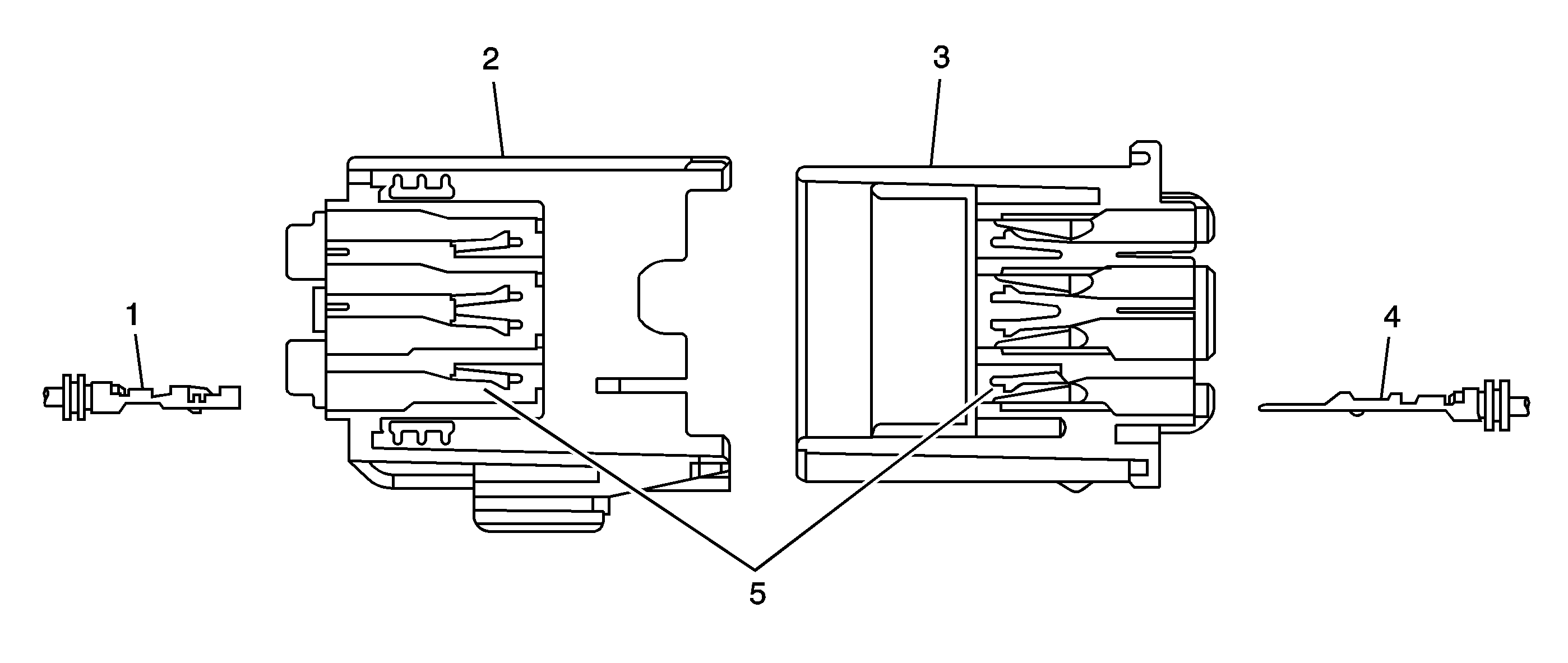
The main engine to chassis connectors utilize a plastic tab formed into the connector body as a terminal lock (5). If a terminal lock (5) is damaged or broken, the terminal (1, 4) will be pushed partially out of the connector body (2, 3) during assembly and will make poor or no contact with its mating terminal. Various and intermittent engine control faults may occur.
Notice: When reconnecting the engine to chassis connectors, slide the Primary Lock Reinforcement partially out of the male side connectors to support the ends of the male pins upon installation. Guide the chassis side connectors straight into the engine connectors when using the lever lock to avoid terminal misalignment. Failure to do so may cause terminal lock breakage.
Inspect the terminals in the male and female sides of the connectors for broken terminal locks by removing the terminal position assurance (TPA) comb at the back of the connector (if equipped) and gently pushing and pulling on the wire in question. If the wire moves within the connector and does not lock into position, the connector body should be replaced.
The following connectors are all located at the engine harness to engine chassis harness that is mounted to the top of the driver side valve cover.
| • | C107 and C118 (38-way) Engine Harness to the Engine Chassis Harness Connector |
| • | C108 and C119 (24-way) Engine Harness to the Engine Chassis Harness Connector |
If an illustration is needed to locate the connector in question, please refer to SI and build your vehicle publication to view. Then select the following areas:
The 6.6L diesel engine utilizes a 24-way and a 38-way Packard Lever Lock GT Series sealed connector for the engine to chassis connection. Connector components can be serviced using the J 38125 Terminal Kit. Connector bodies are available through GMSPO. The following components are available from the J 38125 Terminal Kit:
Component Type | Service P/N | J 38125 Location | Connectors | |||
|---|---|---|---|---|---|---|
15366099 | 15336173 | 15443822 | 15317380 | |||
Terminals | ||||||
GT150 Female | 12191819 | Tray 8 | OK | N/A | OK | N/A |
GT150 Male | 15326269 | Tray 19 | N/A | OK | N/A | OK |
GT280 Female - 0.75-1.0 mm2 (approx. 18-16 gauge) wire | 15304716 | Tray 8 | 15304719 | N/A | OK | N/A |
GT280 Male - 0.75-1.0 mm2 (approx. 18-16 gauge) wire | 15304728 | Tray 8 | N/A | 15304731 | N/A | OK |
GT280 Female - 1.5-2.0 mm2 (approx. 14 gauge) wire | 15304717 | Tray 8 | 15304720 | N/A | OK | N/A |
GT280 Male - 1.5-2.0 mm2 (approx. 14 gauge) wire | 15304729 | Tray 8 | N/A | 15304732 | N/A | OK |
Cable Seals | ||||||
GT150 White | 15366021 | Tray 4 | OK | OK | OK | OK |
GT280 Tan | 15366067 | Tray 20 | OK | OK | 15366063 | 15366063 |
-- | M/P 280 | -- | 12041351 is a M/P 280 Seal - Not for GT 280 Use | |||
GT280 Orange | 15366065 | Tray 20 | OK | OK | 15366061 | 15366061 |
Cavity Plugs | ||||||
GT150 Dark Red | M/P 150 | Tray 3 | 15305171 | 15305171 | 15305171 | 15305171 |
GT280 Green | M/P 280 | Tray 18 | 15305170 | 15305170 | 15305172 | 15305172 |
Important: If the correct terminals are not found, verify that the tray numbers have been updated.
Part Number | Description |
|---|---|
15366099 | Connector Body, 24-way female(C108 and C119) |
15336173 | Connector Body, 24-way male (C108 and C119) |
88987930 | Connector Body, 38-way female(C107 and C118) |
15317380 | Connector Body, 38-way male(C107 and C118) |
For vehicles repaired under warranty, use:
Labor Operation | Description | Labor Time |
|---|---|---|
N6608 | Wiring and/or Connector - Emissions System - Repair or Replace | Use Published Labor Operation Time |