GM Service Manual Online
For 1990-2009 cars only

Object Number: 1892832  Size: SF

Callout

Component Name

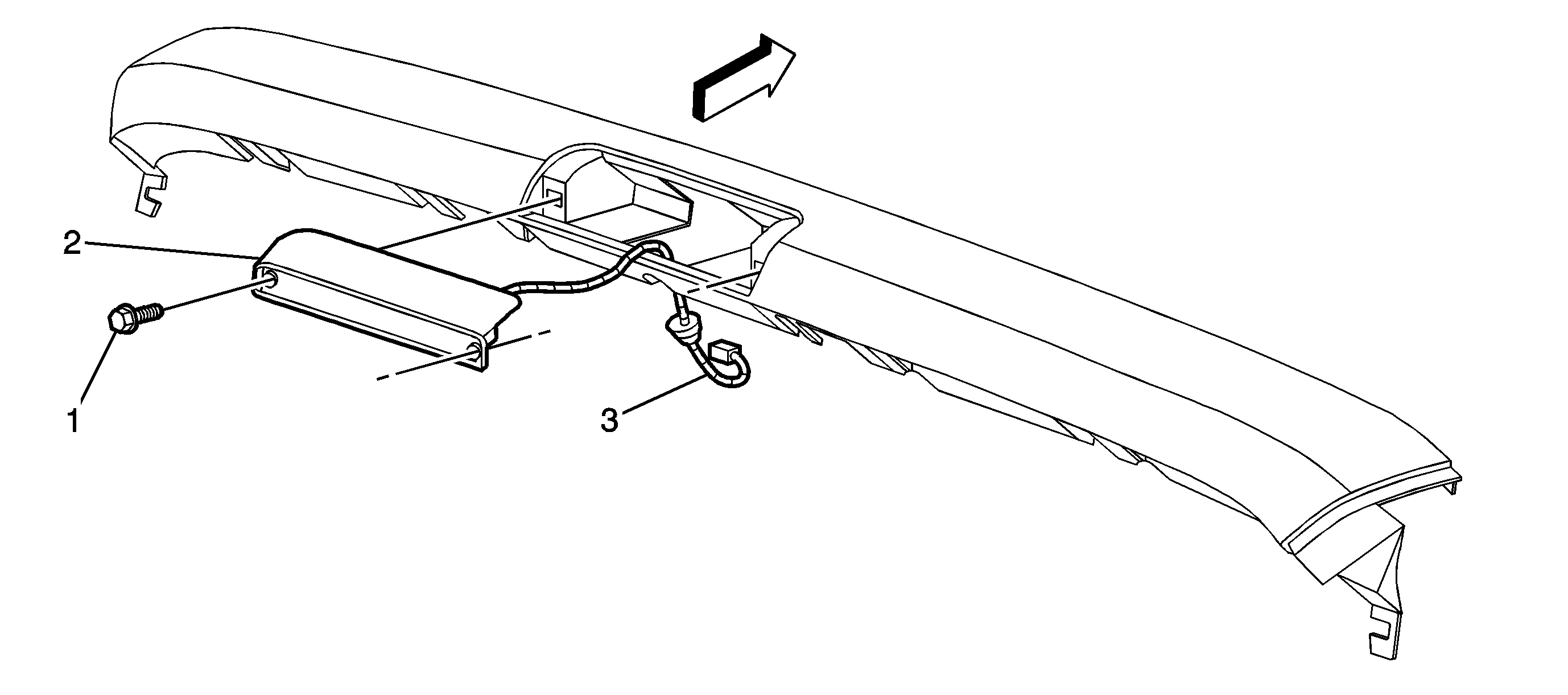
1

High Mounted Stop Lamp Screw (Qty: 2)

Notice: Refer to Fastener Notice in the Preface section.

Tighten
1.5 N·m (13 lb in)

2

High Mounted Stop Lamp

Tip
Disengage the bulb socket from the lamp assembly.

3

High Mounted Stop Lamp Electrical Harness