GM Service Manual Online
For 1990-2009 cars only

Caution: Always use the J 42435-B Compressed Natural Gas (CNG) Fuel Tank Venting Kit in conjunction with the General Motors approved Fuel Tank Venting service procedure to vent CNG fuel tanks. Failure to use the J 42435-B and follow the approved Fuel Tank Venting procedure could result in death, serious injury or vehicle and component damage.

The J 42435-B is required for the following reasons:

   • Natural gas fuel vapor can also contain water vapor.
   • The pressure drop associated with venting high pressure gaseous fuel can cause fuel vapor, tank and line temperatures to reach -73°C (-100°F) or colder.
   • The below freezing temperature can cause the water vapor to freeze
   • The J 42435-B vent hose contains an orifice which is intended to freeze before the CNG high pressure lock-off (HPL) tank valve freezes.
   •  The J 42435-B pressure gauge can indicate a restricted orifice if fuel flow ceases.
   • Internal fuel tank ice build-up may result when venting the CNG fuel tank without the J 42435-B.
      - Internal fuel tank ice build-up can completely restrict the venting of fuel.
      - Venting may cease indefinitely depending upon ambient temperature conditions.
      - The ceasing of fuel tank venting may falsely indicate that the fuel tank pressure has been completely vented.
      - CNG fuel tanks with exceptionally high water content are suceptible to internal fuel tank ice build-up even with the use of the J 42435-B.
The CNG fuel tank is completely vented when all of the following conditions have been met:
  1. Venting natural gas is no longer audible from the vent stack.
  2. Close the J 42435-B ¼-turn valve and stabilize the fuel tank and line assembly at a temperature greater than 7°C (45°F) for at least 4 hours.
  3.         If the ambient temperature is less than 7°C (45°F), warm the fuel tank and vent line assembly manually, either with warm water or by placing the tank and line assembly into a warm environment.
  4. The J 42435-B pressure gauge indicates 0 kPa (0 psi).

Important: 

   • If possible, operate the vehicle on CNG until most of the fuel tank pressure has been depleted.
   • Venting of natural gas to the atmosphere may be prohibited in some areas. Before venting the compressed natural gas (CNG) fuel tank, contact the authority having jurisdiction to ensure that all local, state and federal regulations are observed.
   • Transportation of a pressurized CNG fuel tank is prohibited by law. The CNG fuel tank must be vented prior to consignment.
   • Storing a pressurized CNG fuel tank outside of the vehicle may be prohibited. Contact the authority having jurisdiction prior to removing and storing a pressurized CNG fuel tank.
   • A pressurized CNG fuel tank must be properly restrained and protected from unauthorized access when outside of the vehicle. Restrain the fuel tank to a shipping pallet or with the CNG fuel tank brackets from the vehicle and move to a secure area.
   • Protect the tank from ultra-violet (UV) radiation and physical damage while removed from the vehicle. Inspect for damage any CNG fuel tank that has been removed from the vehicle prior to installation.
   • Venting cannot be stopped once the high pressure lock-off (HPL) tank valve has been opened with the manual vent tool. The J 42435-B contains a ¼ turn valve that allows the vent operation to be paused temporarily.
   • Venting the CNG fuel tank with the manual vent tool will damage the HPL. Venting the internal tank pressure is only necessary for the following:
      - When required by the authority having jurisdiction
      - HPL replacement
      - Internal tank cleaning
      - Tank replacement
      - Tank shipping
      - Tank storage outside of the vehicle (varies by local ordinance)

Tools Required

J 42435-B CNG Tank Vent Kit

  1. Remove the CNG fuel tank shield. Refer to Fuel Tank Shield Replacement .
  2. Relieve the fuel system pressure. Refer to Fuel Pressure Relief .
  3. Disconnect the negative battery cable. Refer to Battery Negative Cable Disconnection and Connection in Engine Electrical in the G van service manual.

  4. Object Number: 296443  Size: SH
  5. Disconnect the fuel outlet line (4) from the tank.
  6. Install a cap (3) supplied from the J 42435-B on to the fuel line fitting of the fuel outlet port (4).
  7. Tighten
    Tighten the cap to 37 N·m (27 lb ft).

  8. Remove the fuel tank pressure (FTP) sensor if the front tank is being vented.
  9. Install a fitting (1) supplied from the J 42435-B into the FTP port. The rear tank is already capped at this port.
  10. Tighten
    Tighten the fitting to 48 N·m (35 lb ft).

  11. Install a cap (2) supplied from the J 42435-B on to the FTP port fitting.
  12. Tighten
    Tighten the cap to 37 N·m (27 lb ft).

  13. Disconnect the fuel inlet line from the tank.

  14. Object Number: 296445  Size: SH
  15. Connect the female end of the vent hose to the fuel line fitting.
  16. Caution: When venting the Compressed Natural Gas (CNG) fuel tank take the following precautions in order to prevent fire and personal injury:

       • Use the proper grounding procedure to an earth ground in order to prevent a build-up of static electricity which can lead to an electrical discharge.
       • Use the J 42435-B CNG Tank Vent Kit with a vent stack.
       • Vent the CNG fuel tank in a well ventilated work area.
       • Keep sparks, flames, and smoking material away from the area.
       • Wear the appropriate hearing protection during the venting procedure. A sudden pressure loss from an uncontrolled gas leak can cause hearing damage.

  17. Connect the male end of the vent hose (1) to a vent stack. Refer to the J 42435-B CNG Tank Vent Kit container for instructions on how to properly construct a vent stack.
  18. Connect the ground strap to the FTP port fitting and to the vent stack earth ground (2).

  19. Object Number: 296440  Size: SH

    Important: If you were required to close the manual lock-down screw during the Fuel Pressure Relief the tank may begin to vent when the lock-down screw is opened.

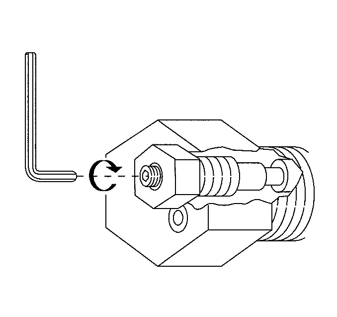
  20. Ensure that the manual lock-down screw of the manual shut-off fitting is open by rotating the allen screw counterclockwise until fully seated.
  21. If the tank begins venting when the manual lock-down screw is opened do not proceed to the next step until the tank stops venting.
  22. Remove the manual shut-off fitting from the HPL.
  23. Obtain the manual vent tool supplied from the J 42435-B CNG Tank Vent Kit.
  24. Rotate the screw on the manual vent tool counter-clockwise in order to fully retract the plunger.
  25. Install the manual vent tool into the HPL port with the plunger fully retracted.
  26. Tighten
    Tighten the manual vent tool to 12 N·m (108 lb in).


    Object Number: 296441  Size: SH
  27. Slowly turn the manual vent tool screw clockwise until the plunger is fully extended. Do not leave the tank unattended during venting.
  28. Open the J 42435-B ¼ turn valve.
  29. The tank should always contain some pressure and begin to vent.

  30. The CNG fuel tank is completely vented when all of the following conditions have been met:
  31. 21.1. Venting natural gas is no longer audible from the vent stack.
    21.2. Close the J 42435-B ¼-turn valve and stabilize the fuel tank and line assembly at a temperature greater than 7°C (45°F) for at least 4 hours.

    If the ambient temperature is less than 7°C (45°F), warm the fuel tank and vent line assembly manually, either with warm water or by placing the tank and J 42435-B line assembly into a warm environment.

    21.3. The J 42435-B pressure gauge indicates 0 kPa (0 psi).

    Object Number: 296443  Size: SH
  32. When the tank is completely vented remove the vent line from the fuel fitting.
  33. Remove the fitting (1) and cap (2) from the FTP port.
  34. Remove the fuel fitting from the fuel outlet port (4).
  35. Remove the manual vent tool.
  36. If the tank is to be re-used replace the high pressure lock-off. Refer to High Pressure Lock-Off Solenoid Replacement .
  37. If both tanks require venting repeat this procedure on the other tank.