GM Service Manual Online
For 1990-2009 cars only

Fuel Tank Replacement - Front KL8

Tools Required

    • J 45878 Combustible Gas Detector
    • J 45397-2 CNG Tank Lifting Tool
    • J 45529 CNG Tank Lifting Bar

Removal Procedure

  1. Relieve the CNG fuel system pressure. Refer to Fuel Pressure Relief .
  2. Caution: Unless directed otherwise, the ignition and start switch must be in the OFF or LOCK position, and all electrical loads must be OFF before servicing any electrical component. Disconnect the negative battery cable to prevent an electrical spark should a tool or equipment come in contact with an exposed electrical terminal. Failure to follow these precautions may result in personal injury and/or damage to the vehicle or its components.

  3. Disconnect the negative battery cable. Refer to Battery Negative Cable Disconnection and Connection in Engine Electrical in the G/H Van Service Manual.
  4. Raise and properly support the vehicle. Refer to Lifting and Jacking the Vehicle in General Information in the G/H Van Service Manual.
  5. Remove the fuel tank cover. Refer to Fuel Tank Cover Replacement .

  6. Object Number: 893544  Size: SH
  7. Disconnect the fuel outlet line (2) from the high pressure lock-off (HPL) solenoid.
  8. Disconnect the electrical connector (3) at the high pressure lock-off solenoid.
  9. Attach the J 45397-2 to a transmission jack.
  10. Support the tank assembly with the J 45397-2 and transmission jack.

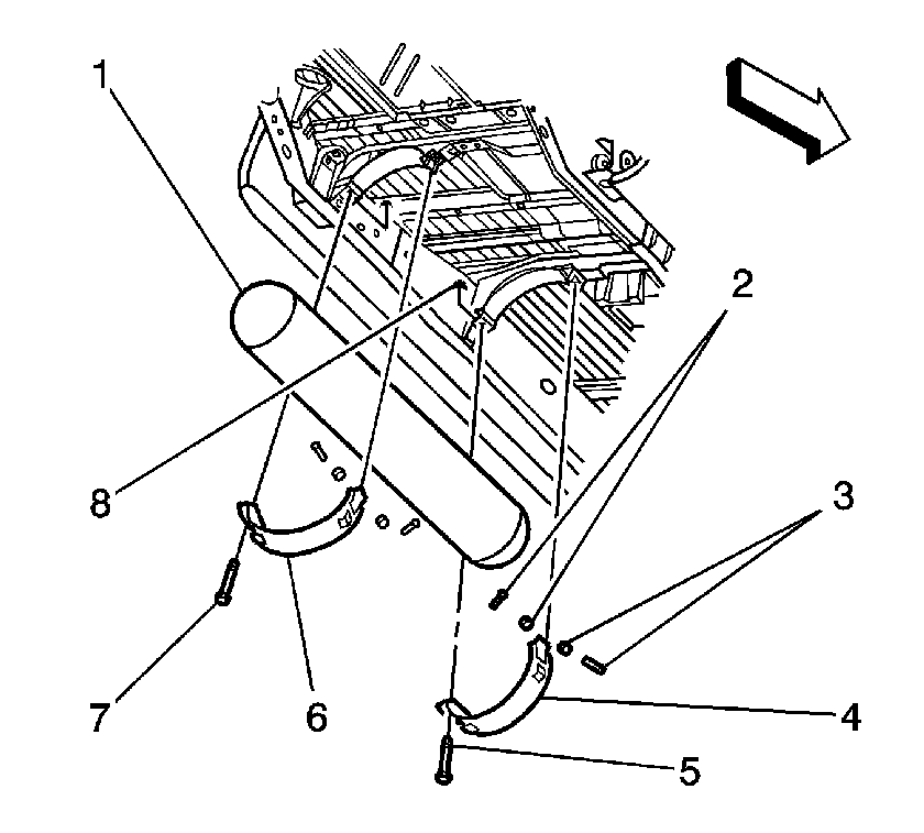
  11. Object Number: 893872  Size: SH
  12. Remove the tank assembly retaining bolts (5,7).
  13. Rotate the tank straps (4,6) away from the tank.
  14. Lower the tank (1) from the vehicle with the transmission jack.
  15. Lift the tank from the J 45397-2 using the J 45529 and a suitable overhead lifting device.
  16. Vent the CNG fuel from the CNG fuel tank if necessary. Refer to Fuel Tank Venting .

Installation Procedure

  1. Position the tank assembly beneath the vehicle.
  2. Raise the tank assembly onto the tank frame mounts.
  3. Rotate the tank straps (4,6) against the tank.

  4. Object Number: 893872  Size: SH

    Notice: Use the correct fastener in the correct location. Replacement fasteners must be the correct part number for that application. Fasteners requiring replacement or fasteners requiring the use of thread locking compound or sealant are identified in the service procedure. Do not use paints, lubricants, or corrosion inhibitors on fasteners or fastener joint surfaces unless specified. These coatings affect fastener torque and joint clamping force and may damage the fastener. Use the correct tightening sequence and specifications when installing fasteners in order to avoid damage to parts and systems.

  5. Install the mounting bolts (5,7).
  6. Tighten
    Tighten the mounting bolts to 39 N·m (29 lb ft).


    Object Number: 893544  Size: SH
  7. Connect the fuel outlet line (2) to the high pressure lock-off using a new O-ring. Lubricate the O-ring with petroleum jelly or equivalent.
  8. Tighten
    Tighten the fitting to 37 N·m (27 lb ft).

  9. Connect the electrical connector (3) at the high pressure lock-off solenoid.
  10. Connect the negative battery cable. Refer to Battery Negative Cable Disconnection and Connection in Engine Electrical in the G/H Van Service Manual.
  11. Prime the CNG fuel system by cycling the ignition ON and OFF several times.
  12. Start the engine and use the J 45878 in order to inspect for CNG fuel system leaks at each serviced fitting.
  13. Install the fuel tank cover. Refer to Fuel Tank Cover Replacement .