GM Service Manual Online
For 1990-2009 cars only

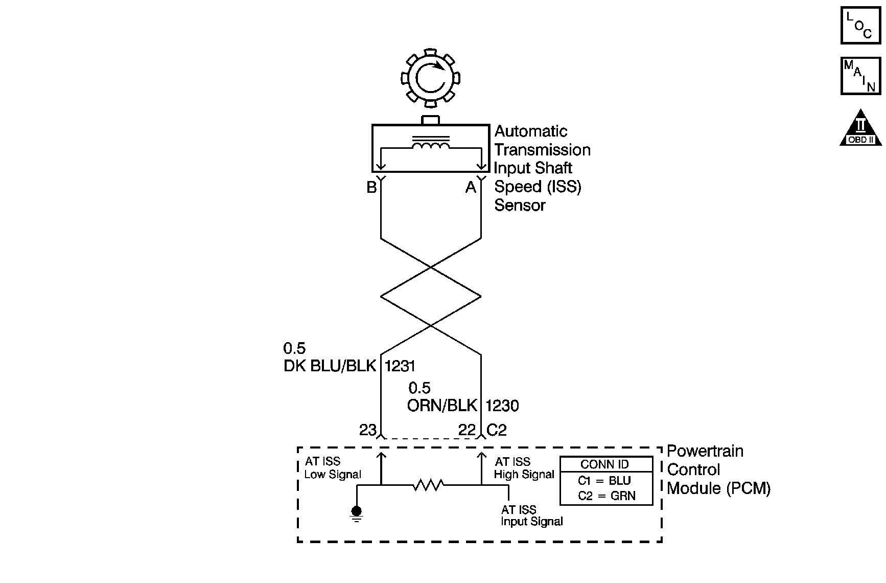
Object Number: 888916  Size: MF
Master Electrical Component List
Automatic Transmission Controls Schematics
OBD II Symbol Description Notice

Circuit Description

The automatic transmission input shaft speed (AT ISS) sensor provides transmission input speed to the powertrain control module (PCM). The AT ISS sensor is a permanent magnet generator. The sensor mounts into the transmission case and maintains a slight air gap between the sensor and the forward clutch housing. The PM generator produces an AC voltage as the forward clutch housing rotor teeth pass through the sensor's magnetic field. The AC voltage level increases as the turbine shaft speed increases. The PCM converts the AC voltage into a digital signal. The PCM determines actual turbine speed using the digital signal. The PCM uses the input speed to calculate torque converter slip speed, and gear ratios.

When the PCM detects a low or no input speed during high vehicle and high engine speeds, then DTC P0717 sets. DTC P0717 is a type C DTC. For California emissions vehicles, DTC P0717 is a type B DTC.

Conditions for Running the DTC

    • No VSS DTCs P0502 or P0503.
    • No TFP manual valve position switch DTC P1810.
    • The system voltage is 8-18 volts.
    • TFP manual valve position switch is not indicating PARK or NEUTRAL.
    • The vehicle speed is greater than 12 km/h (7 mph).

Conditions for Setting the DTC

The input speed is less than 100 RPM for at least 5 seconds.

Action Taken When the DTC Sets

    • For California emission equipped vehicles, the PCM illuminates the malfunction indicator lamp (MIL) during the second consecutive trip in which the Conditions for Setting the DTC are met. For Federal emission equipped vehicles, the MIL is not illuminated.
    • The PCM defaults the transmission to maximum line pressure.
    • The PCM freezes shift adapts.
    • The PCM records the operating conditions when the Conditions for Setting the DTC are met. The PCM stores this information as Freeze Frame, California only, and Failure Records, California and Federal.
    • The PCM stores the DTC P0717 in PCM history during the second consecutive trip, California, or the first trip, Federal, in which the Conditions for Setting the DTC are met.

Conditions for Clearing the MIL/DTC

    • For California emissions, the PCM turns OFF the MIL during the third consecutive trip in which the diagnostic test runs and passes.
    • A scan tool can clear the MIL/DTC.
    • For California emissions, the PCM clears the DTC from PCM history if the vehicle completes 40 warm-up cycles without an emission related diagnostic fault occurring.
    • For Federal emissions, the PCM clears the DTC from PCM history if the vehicle completes 40 warm-up cycles without a non-emission related diagnostic fault occurring.
    • The PCM cancels the DTC default actions when the fault no longer exists and the ignition switch is OFF long enough in order to power down the PCM.

Diagnostic Aids

DTC P0717 defaults to an elevated line pressure condition which may result in partial TCC apply. This may produce an idle surge that could stall the engine.

Test Description

The numbers below refer to the step numbers on the diagnostic table.

  1. This step tests for proper circuit operation up to the PCM connection.

  2. This step tests for proper operation of the AT ISS sensor.

Step

Action

Value(s)

Yes

No

1

Did you perform the Diagnostic System Check - Engine Controls?

--

Go to Step 2

Go to Diagnostic System Check - Engine Controls in Engine Controls - 4.8L, 5.3L, and 6.0L

2

  1. Install a scan tool.
  2. Turn ON the ignition, with the engine OFF.
  3. Important: Before clearing the DTC, use the scan tool in order to record the Freeze Frame and Failure Records for reference. Using the Clear Info function erases the Freeze Frame and Failure Records from the PCM.

  4. Record the DTC Freeze Frame and Failure Records.
  5. Clear the DTC.
  6. Raise and support the rear axle assembly.
  7. Start the engine.
  8. Place the transmission in any drive range.

With the drive wheels rotating, does the scan tool Transmission ISS increase with the drive wheel speed?

--

Go to Intermittent Conditions in Engine Controls - 4.8L, 5.3L, and 6.0L

Go to Step 3

3

  1. Turn OFF the ignition.
  2. Disconnect the PCM connector C2.
  3. Using the DMM and the J 35616 GM Terminal Test Kit, measure the resistance between harness connector terminal C2-22 and C2-23.

Does the resistance measure within the specified range?

1,420-2,140 ohms

Go to Step 4

Go to Step 6

4

Measure the resistance from terminal C2-22 to ground.

Does the resistance measure greater than the specified value?

10 M ohms

Go to Step 5

Go to Step 8

5

  1. Connect the PCM connector C2.
  2. Disconnect the engine wiring harness from the ISS sensor assembly.
  3. Turn ON the ignition, with the engine OFF.
  4. Test the high signal circuit (CKT 1230) for a short to voltage.
  5. Test the low signal circuit (CKT 1231) for a short to voltage.
  6. Refer to Testing for a Short to Voltage and Wiring Repairs in Wiring Systems.

Did you find and correct the condition?

--

Go to Step 13

Go to Step 12

6

  1. Disconnect the engine wiring harness from the ISS sensor assembly.
  2. Measure the resistance of the ISS sensor assembly.

Does the resistance measure within the specified range?

1,420-2,140 ohms

Go to Step 7

Go to Step 11

7

Was the resistance measured in Step 3 greater than the specified value?

2,140 ohms

Go to Step 9

Go to Step 10

8

  1. Test the high signal circuit (CKT 1230) for a short to ground.
  2. Test the low signal circuit (CKT 1231) for a short to ground.
  3. Refer to Testing for Short to Ground and Wiring Repairs in Wiring Systems.

Did you find and correct the condition?

--

Go to Step 13

--

9

  1. Test the high signal circuit (CKT 1230) for an open.
  2. Test the low signal circuit (CKT 1231) for an open.
  3. Refer to Testing for Continuity and Wiring Repairs in Wiring Systems.

Did you find and correct the condition?

--

Go to Step 13

--

10

Test the high signal circuit (CKT 1230) and the low signal circuit (CKT 1231) for a short together.

Refer to Circuit Testing and Wiring Repairs in Wiring Systems.

Did you find and correct the condition?

--

Go to Step 13

--

11

Replace the ISS sensor assembly.

Refer to Vehicle Input Speed Sensor Replacement .

Did you complete the replacement?

--

Go to Step 13

--

12

Replace the PCM.

Refer to Powertrain Control Module Replacement in Engine Controls - 4.8L, 5.3L, and 6.0L.

Did you complete the replacement?

--

Go to Step 13

--

13

Perform the following procedure in order to verify the repair:

  1. Select DTC.
  2. Select Clear Info.
  3. Operate the vehicle under the following condition:
  4. The transmission input speed is greater than 450 RPM for 2 seconds.

  5. Select Specific DTC.
  6. Enter DTC P0717.

Has the test run and passed?

--

Go to Step 14

Go to Step 2

14

With the scan tool, observe the stored information, capture info and DTC info.

Does the scan tool display any DTCs that you have not diagnosed?

--

Go to Diagnostic Trouble Code (DTC) List in Engine Controls - 4.8L, 5.3L, and 6.0L

System OK