GM Service Manual Online
For 1990-2009 cars only

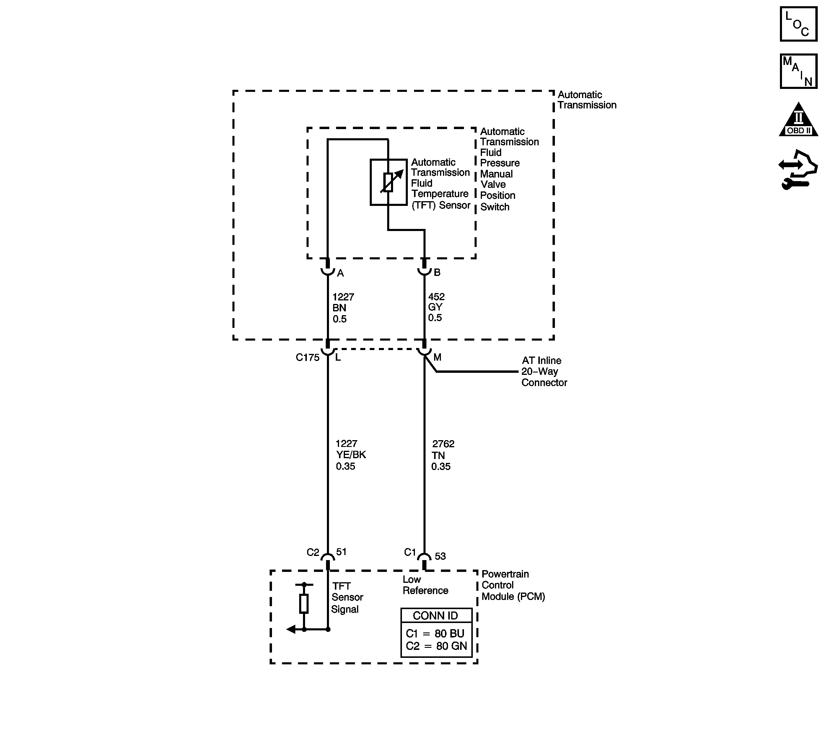
Object Number: 1427727  Size: LF
Master Electrical Component List
Automatic Transmission Controls Schematics
OBD II Symbol Description Notice
Control Module References

Circuit Description

The automatic transmission fluid temperature (TFT) sensor is part of the automatic transmission fluid pressure (TFP) manual valve position switch. The TFT sensor is a resistor, or thermistor, which changes value based on temperature. The sensor has a negative-temperature coefficient. This means that as the temperature increases, the resistance decreases, and as the temperature decreases, the resistance increases. The powertrain control module (PCM) supplies a 5-volt reference signal to the sensor on the TFT sensor signal circuit and measures the voltage drop in the circuit. When the transmission fluid is cold, the sensor resistance is high and the PCM detects high signal voltage. As the fluid temperature warms to a normal operating temperature, the resistance becomes less and the signal voltage decreases. The PCM uses this information to control shift quality and torque converter clutch apply.

When the PCM detects a continuous open or short to voltage in the TFT signal circuit or the TFT sensor, then DTC P0713 sets. DTC P0713 is a type C DTC.

DTC Descriptor

This diagnostic procedure supports the following DTC:

DTC P0713 Transmission Fluid Temperature (TFT) Sensor Circuit High Voltage

Conditions for Running the DTC

    • The system voltage is 10-18 volts.
    • The ignition is ON.

Conditions for Setting the DTC

The TFT sensor indicates a signal voltage greater than 4.92 volts for 400 seconds (6.8 minutes).

Action Taken When the DTC Sets

    • The PCM does not illuminate the malfunction indicator lamp (MIL).

       Important: The actions listed below are in order of highest to lowest priority.

    • The PCM determines a default TFT using one of the following:
       - If any ECT DTCs P0117 or P0118 are set, then the default TFT is equal to 135°C (275°F).
       - If the ECT is 125°C (257°F) or more, then the default TFT is equal to 135°C (275°F).
       - If the engine run time is less than 300 seconds and:
   • No intake air temperature (IAT) DTCs P0112 or P0113 are set and IAT is available, then the default TFT is equal to IAT.
   • Any IAT DTCs P0112 or P0113 are set or IAT is NOT available, then the default TFT is equal to 90°C (194°F).
       - If the engine run time is greater than 300 seconds and no IAT DTCs P0112 or P0113 are set and IAT is available and ECT is between 40 and 125°C (104 and 257°F) and:
   • IAT at startup is less than 15°C (59°F), then the default TFT is equal to the ECT plus 5°C (8°F).
   • IAT at startup is greater than 35°C (95°F), then the default TFT is equal to the ECT plus 10°C (16°F).
   • IAT at startup is between 15 and 35°C (59 and 95°F), then the default TFT is equal to the ECT.
       - If the engine run time is greater than 300 seconds and any IAT DTCs P0112 or P0113 are set or IAT is NOT available, then the default TFT is equal to the ECT.
       - If the engine run time is greater than 300 seconds and ECT is less than 40°C (104°F) or more, then the default TFT is equal to 60°C (140°F).
    • The PCM freezes Transmission Adaptive Functions from being updated.
    • The PCM records the operating conditions when the Conditions for Setting the DTC are met. The PCM stores this information as Failure Records.
    • The PCM stores DTC P0713 in PCM history.

Conditions for Clearing the DTC

    • A scan tool can clear the DTC.
    • The PCM clears the DTC from PCM history if the vehicle completes 40 warm-up cycles without a non-emission-related diagnostic fault occurring.
    • The PCM cancels the DTC default actions when the fault no longer exists and/or the ignition switch is OFF long enough in order to power down the PCM.

Test Description

The numbers below refer to the step numbers on the diagnostic table.

  1. This step tests the TFT sensor signal circuit for being shorted to another circuit within the transmission. If the TFT sensor signal circuit shorts to another circuit, which is carrying voltage greater than five volts, the TFT sensor would become open.

  2. This step tests the TFT sensor signal circuit for being shorted to voltage, which would be the cause for the open in the TFT sensor.

DTC P0713

Step

Action

Values

Yes

No

1

Did you perform the Diagnostic System Check - Vehicle?

--

Go to Step 2

Go to Diagnostic System Check - Vehicle in Vehicle DTC Information

2

  1. Install a scan tool.
  2. Turn ON the ignition, with the engine OFF.
  3. Important: Before clearing the DTC, use the scan tool in order to record the DTC Failure Records. Using the Clear Info function erases the Failure Records from the PCM.

  4. Record the DTC Failure Records.
  5. Clear the DTC.
  6. Select Trans. Fluid Temp. on the scan tool.

Does the scan tool display a Trans. Fluid Temp. less than the specified value?

-39°C (-38°F)

Go to Step 3

Go to Testing for Intermittent Conditions and Poor Connections in Wiring Systems

3

  1. Turn OFF the ignition.
  2. Disconnect the AT inline 20-way connector. Additional DTCs may set.
  3. Install the J 44152 Jumper Harness (20 pins) on the transmission side of the AT inline 20-way connector.
  4. Using the DMM and the J 35616 GM Terminal Test Kit, measure the resistance between the TFT sensor signal and low reference circuits of the J 44152 . Refer to Testing for Continuity in Wiring Systems.

Refer to Automatic Transmission Inline 20-Way Connector End View .

Does the resistance measure less than the specified value?

100 K ohms

Go to Step 7

Go to Step 4

4

    • Test the signal circuit of the TFT sensor for an open between the AT inline 20-way connector and the TFT sensor.
    • Test the low reference circuit of the TFT sensor for an open between the AT inline 20-way connector and the TFT sensor.

Refer to Testing for Continuity in Wiring Systems.

Did you find an open condition?

--

Go to Step 8

Go to Step 5

5

Measure the resistance between the TFT sensor signal circuit and all other terminals of the J 44152 .

Does the resistance measure less than the specified value?

1,000 ohms

Go to Step 10

Go to Step 6

6

Test the signal circuit of the TFT sensor for a short to voltage between the PCM and the AT inline 20-way connector. Refer to Testing for a Short to Voltage and Wiring Repairs in Wiring Systems.

Did you find and correct the condition?

--

Go to Step 9

Go to Step 9

7

    • Test the signal circuit of the TFT sensor for an open between the PCM and the AT inline 20-way connector.
    • Test the low reference circuit of the TFT sensor for an open between the PCM connector and the AT inline 20-way connector.

Refer to Testing for Continuity and Wiring Repairs in Wiring Systems.

Did you find and correct an open condition?

--

Go to Step 12

Go to Step 11

8

Replace the automatic transmission wiring harness. Refer to Valve Body and Pressure Switch Replacement .

Did you complete the replacement?

--

Go to Step 12

--

9

Replace the TFT sensor. Refer to Valve Body and Pressure Switch Replacement .

Did you complete the replacement?

--

Go to Step 12

--

10

  1. Replace the automatic transmission wiring harness.
  2. Replace the TFT sensor.

Refer to Valve Body and Pressure Switch Replacement .

Did you complete the replacements?

--

Go to Step 12

--

11

Replace the PCM. Refer to Control Module References in Computer/Integrating Systems for replacement, setup and programming.

Did you complete the replacement?

--

Go to Step 12

--

12

Perform the following procedure in order to verify the repair:

  1. Select DTC.
  2. Select Clear Info.
  3. Operate the vehicle under the following conditions:
  4. • Turn ON the ignition, with the engine OFF.
    • The Trans. Fluid Temp. must be greater than -40°C (-40°F) for 6 seconds.
  5. Select Specific DTC.
  6. Enter DTC P0713.

Has the test run and passed?

--

Go to Step 13

Go to Step 2

13

With the scan tool, observe the stored information, capture info, and DTC Info.

Does the scan tool display any DTCs that you have not diagnosed?

--

Go to Diagnostic Trouble Code (DTC) List - Vehicle in Vehicle DTC Information

System OK