GM Service Manual Online
For 1990-2009 cars only
Figure 1:

Left Side of the Engine (4.3L)


Object Number: 882655  Size: LF
(1)S101
(2)A/C Compressor Clutch Connector (C60)
(3)Throttle Position (TP) Sensor Connector
(4)Idle Air Control (IAC) Valve Connector
(5)A/C High Pressure Switch Connector (C60)
Figure 2:

Right Side of the Engine (4.8L/5.3L/6.0L)


Object Number: 886066  Size: MF
(1)Crankshaft Position (CKP) Sensor Connector
(2)A/C High Pressure Switch Connector (C60)
(3)A/C Compressor Clutch Connector (C60)
(4)Engine Oil Level Switch Connector
(5)Starter Motor
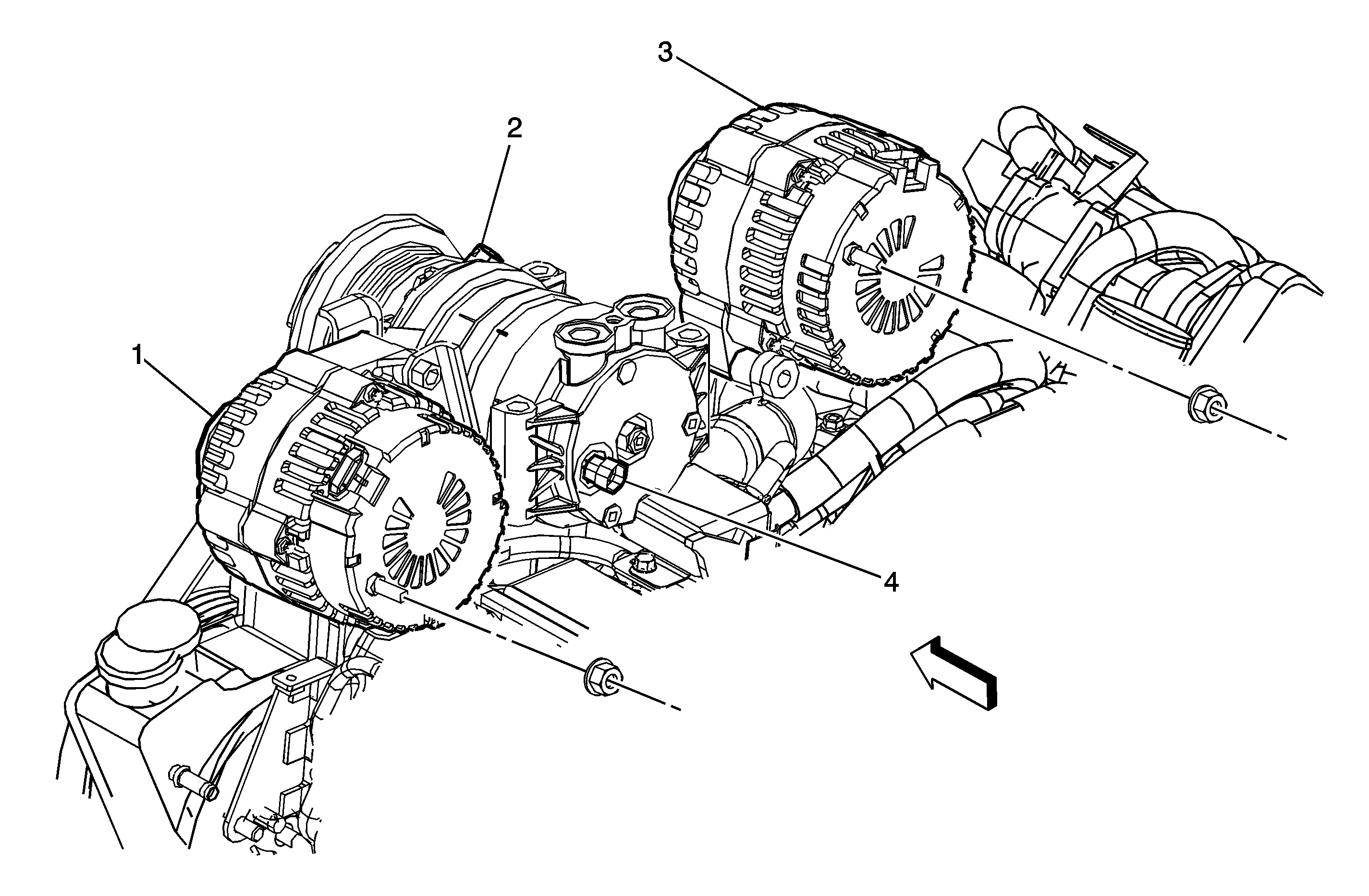
Figure 3:

Upper Front of the Engine (6.6L)


Object Number: 1625884  Size: MF
(1)Generator - Auxiliary (KD9/YF2)
(2)A/C Compressor Clutch Connector (C60)
(3)Generator
(4)A/C High Pressure Switch (C60)
Figure 4:

RF of the Engine Compartment (6.6L)


Object Number: 1609254  Size: MF
(1)Fender - Front Right
(2)Battery
(3)Vacuum Pump
Figure 5:

Rear of the Engine Compartment


Object Number: 886081  Size: MF
(1)Blower Motor Resistor Assembly
(2)Blower Motor
(3)Mass Air Flow (MAF)/Intake Air Temperature (IAT) Sensor
(4)A/C Low Pressure Switch (C60)
Figure 6:

Left Side Frame (6.6L)


Object Number: 1607995  Size: MF
(1)Fuel Level Sensor Connector
(2)Battery - Secondary
(3)G305
(4)Coolant Heater - Fuel Pump (K08)
(5)Coolant Heater (K08)
(6)Fuel Pump Assembly
Figure 7:

Coolant Heater (K08)


Object Number: 1644965  Size: MF
(1)Coolant Heater Control
(2)Glow Plug
(3)Air Temperature Sensor (Coolant Sensor)
(4)Combustion Sensor
(5)Air Temperature Sensor (Overheat Sensor)
(6)Fuel Pump
(7)Blower Motor
(8)C106
Figure 8:

Instrument Panel


Object Number: 1631556  Size: LF
(1)Turn Signal/Multifunction Switch
(2)Instrument Panel Cluster (IPC)
(3)HVAC Control Assembly
(4)Radio
(5)Auxiliary Power Outlet 2
(6)Traction Control Switch (JL4)
(7)Inflatable Restraint PASSENGER AIR BAG ON/OFF Indicator (Light Duty w/o YF7)
(8)High Idle Switch (UF3)
(9)Inflatable Restraint I/P Disable Switch (Heavy Duty)
(10)Cigar Lighter (DT4)/Auxiliary Power Outlet 1 (w/o DT4)
(11)Blower Motor Switch - Auxiliary (C36)
(12)Tow/Haul Switch
(13)Headlamp and Panel Dimmer Switch
Figure 9:

Right Side of the I/P


Object Number: 375645  Size: MF
(1)Recirculation Actuator
(2)Air Temperature Actuator
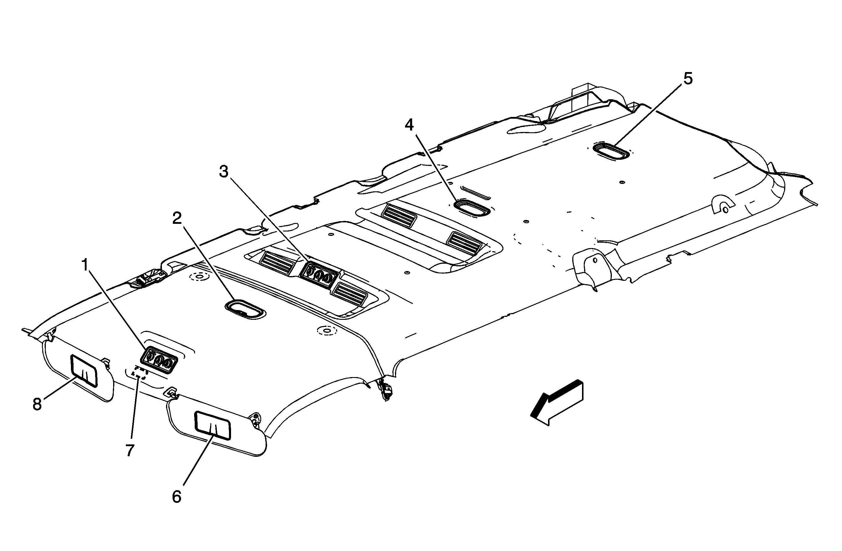
Figure 10:

Headliner


Object Number: 1662592  Size: MF
(1)HVAC Control Assembly - Front Auxiliary (C69)
(2)Courtesy /Reading Lamp - Front
(3)HVAC Control Assembly - Rear Auxiliary (C69 w/Rear Auxiliary Controls)
(4)Courtesy /Reading Lamp - Mid (Passenger)
(5)Courtesy /Reading Lamp - Rear (Passenger)/Dome Lamp - Rear (Cargo)
(6)Vanity Mirror - Right (DH6)
(7)HVAC Control Processor - Auxiliary (C69 w/Rear Auxiliary Controls)
(8)Vanity Mirror - Left (DH6)
Figure 11:

Auxiliary Heater and A/C Harness Routing - Front (C36/C69)


Object Number: 885010  Size: LF
(1)Blower Motor Resistor Assembly Connector - Auxiliary
(2)C409
(3)C407
(4)Blower Motor Connector - Auxiliary
(5)Air Temperature Actuator Connector - Auxiliary (C69)
(6)S413
Figure 12:

Auxiliary Heater and A/C Harness Routing - Rear (C36/C69)


Object Number: 885012  Size: LF
(1)Blower Motor Connector - Auxiliary
(2)Medium Speed Blower Motor Relay - Auxiliary
(3)C407
(4)C409
(5)Low Speed Blower Motor Relay Connector - Auxiliary
(6)S412
(7)S405
(8)S411 (C69)
(9)High Speed Blower Motor Relay Connector - Auxiliary
(10)Mode Actuator Connector - Auxiliary (C69)