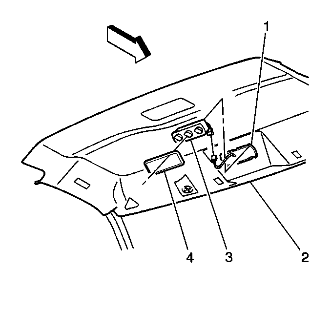
Removal Procedure
- Remove the front control switch bezel
(4) from the headliner.
- Remove the front control switch (3) by unsnapping the retainers
from the headliner.
- Disconnect the electrical connector.
Installation Procedure
- Connect the electrical connector.
- Install the front control switch (3) by snapping the retainers
to the headliner.
- Install the front control switch bezel (4) to the headliner.