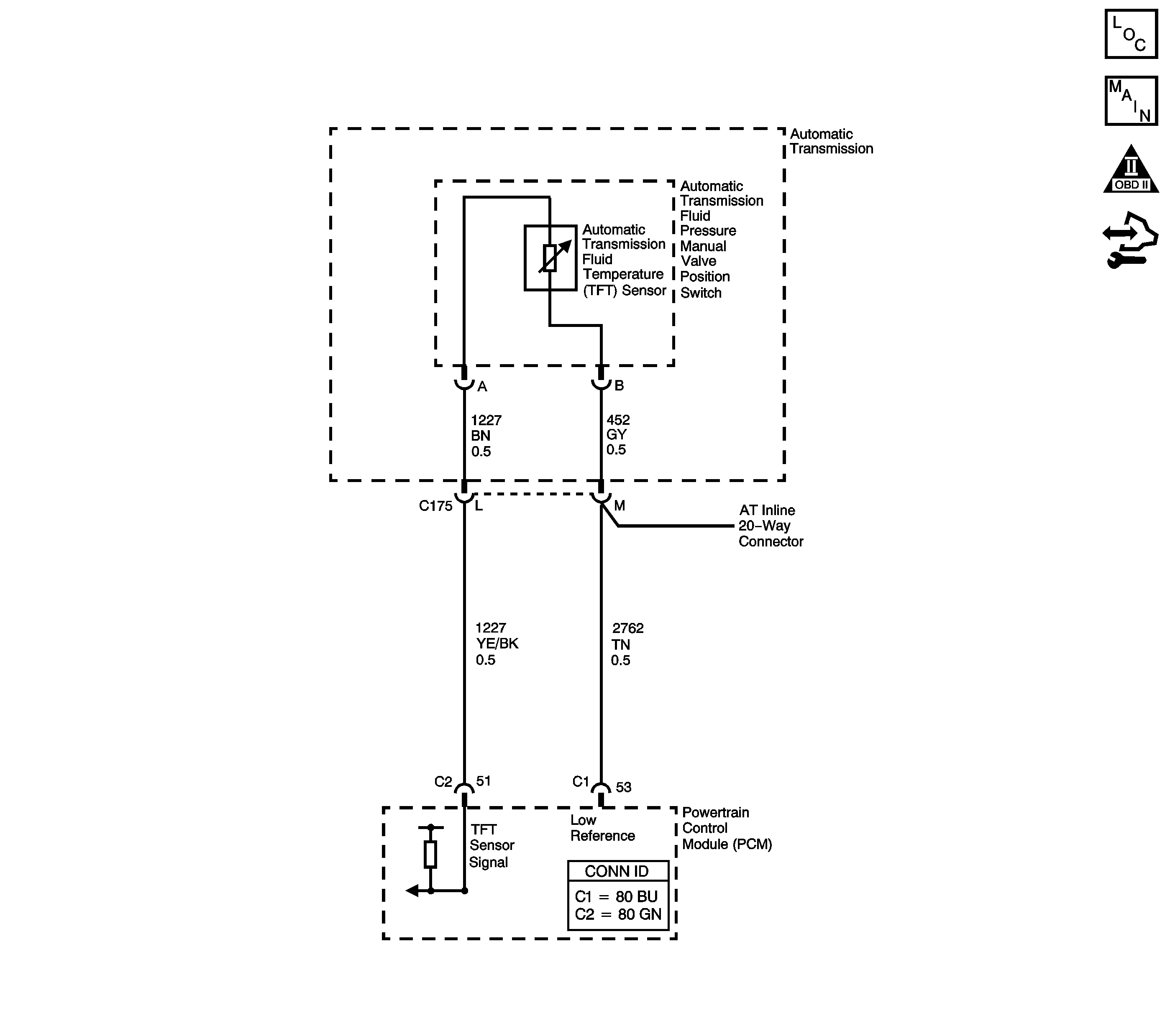
The automatic transmission fluid temperature (TFT) sensor is part of the automatic transmission fluid pressure (TFP) manual valve position switch. The TFT sensor is a resistor, or thermistor, which changes value based on temperature. The sensor has a negative-temperature coefficient. This means that as the temperature increases, the resistance decreases, and as the temperature decreases, the resistance increases. The powertrain control module (PCM) supplies a 5-volt reference signal to the sensor on the TFT sensor signal circuit and measures the voltage drop in the circuit. When the transmission fluid is cold, the sensor resistance is high and the PCM detects high signal voltage. As the fluid temperature warms to a normal operating temperature, the resistance becomes less and the signal voltage decreases. The PCM uses this information to control shift quality and torque converter clutch apply.
When the PCM detects a continuous short to ground in the TFT signal circuit or in the TFT sensor, then DTC P0712 sets. DTC P0712 is a type C DTC.
This diagnostic procedure supports the following DTC:
DTC P0712 Transmission Fluid Temperature (TFT) Sensor Circuit Low Voltage
| • | The system voltage is 10-18 volts. |
| • | The ignition is ON. |
The TFT sensor indicates a signal voltage less than 0.25 volts for 10 seconds.
| • | The PCM does not illuminate the malfunction indicator lamp (MIL). |
| Important: The actions listed below are in order of highest to lowest priority. |
| • | The PCM determines a default TFT using one of the following: |
| - | If any ECT DTCs P0117 or P0118 are set, then the default TFT is equal to 135°C (275°F). |
| - | If the ECT is 125°C (257°F) or more, then the default TFT is equal to 135°C (275°F). |
| - | If the engine run time is less than 300 seconds and: |
| • | No intake air temperature (IAT) DTCs P0112 or P0113 are set and IAT is available, then the default TFT is equal to IAT. |
| • | Any IAT DTCs P0112 or P0113 are set or IAT is NOT available, then the default TFT is equal to 90°C (194°F). |
| - | If the engine run time is greater than 300 seconds and no IAT DTCs P0112 or P0113 are set and IAT is available and ECT is between 40-125°C (104-257°F) and: |
| • | IAT at startup is less than 15°C (59°F), then the default TFT is equal to the ECT plus 5°C (8°F). |
| • | IAT at startup is greater than 35°C (95°F), then the default TFT is equal to the ECT plus 10°C (16°F). |
| • | IAT at startup is between 15-35°C (59-95°F), then the default TFT is equal to the ECT. |
| - | If the engine run time is greater than 300 seconds and any IAT DTCs P0112 or P0113 are set or IAT is NOT available, then the default TFT is equal to the ECT. |
| - | If the engine run time is greater than 300 seconds and ECT is less than 40°C (104°F) or more, then the default TFT is equal to 60°C (140°F). |
| • | The PCM freezes Transmission Adaptive Functions. |
| • | The PCM records the operating conditions when the Conditions for Setting the DTC are met. The PCM stores this information as Failure Records. |
| • | The PCM stores DTC P0712 in PCM history. |
| • | A scan tool can clear the DTC. |
| • | The PCM clears the DTC from PCM history if the vehicle completes 40 warm-up cycles without a non-emission-related diagnostic fault occurring. |
| • | The PCM cancels the DTC default actions when the fault no longer exists and/or the ignition switch is OFF long enough in order to power down the PCM. |
| • | The scan tool displays the transmission fluid temperature in degrees. After the transmission is operating, the fluid temperature should rise steadily to a normal operating temperature, then stabilize. |
| • | Verify the customer's driving habits, trailer towing, etc. Trailer towing should occur in D3. |
The numbers below refer to the step numbers on the diagnostic table.
This step tests for a short to ground condition.
This step tests for an internal fault within the transmission by creating an open.
Step | Action | Values | Yes | No |
|---|---|---|---|---|
1 | Did you perform the Diagnostic System Check - Vehicle? | -- | Go to Step 2 | |
2 | Inspect for correct transmission fluid level. Refer to Transmission Fluid Check . Did you perform the fluid checking procedure? | -- | Go to Step 3 | Go to Transmission Fluid Check |
Important: Before clearing the DTC, use the scan tool in order to record the Failure Records. Using the Clear Info function erases the Failure Records from the PCM. Does the scan tool displays a TFT Sensor signal voltage greater than the specified value? | 0.2 V | Go to Testing for Intermittent Conditions and Poor Connections | Go to Step 4 | |
Does the scan tool displays a TFT Sensor signal voltage greater than the specified value? | 4.92 V | Go to Step 5 | Go to Step 7 | |
5 |
Refer to Automatic Transmission Inline 20-Way Connector End View . Does the resistance measure within the specified range? | 3,088-3,942 ohms at 20°C (68°F) 159-198 ohms at 100°C (212°F) | Go to Testing for Intermittent Conditions and Poor Connections | Go to Step 6 |
6 | Test the signal circuit of the TFT sensor for a short to ground between the AT inline 20-way connector and the TFT sensor. Refer to Testing for Short to Ground . Did you find a short to ground condition? | -- | Go to Step 9 | Go to Step 8 |
7 | Test the signal circuit of the TFT sensor for a short to ground between the PCM and the AT inline 20-way connector. Refer to Testing for Short to Ground and Wiring Repairs . Did you find and correct the condition? | -- | Go to Step 11 | Go to Step 10 |
8 | Replace the TFT sensor, this sensor is part of the TFP manual valve position switch. Refer to Valve Body and Pressure Switch Replacement . Did you complete the replacement? | -- | Go to Step 11 | -- |
9 | Replace the AT wiring harness. Refer to Valve Body and Pressure Switch Replacement . Did you complete the replacement? | -- | Go to Step 11 | -- |
10 | Replace the PCM. Refer to Control Module References for replacement, setup and programming. Did you complete the replacement? | -- | Go to Step 11 | -- |
11 | Perform the following procedure in order to verify the repair:
Has the test run and passed? | -- | Go to Step 12 | Go to Step 2 |
12 | With the scan tool, observe the stored information, capture info, and DTC Info. Does the scan tool display any DTCs that you have not diagnosed? | -- | System OK |