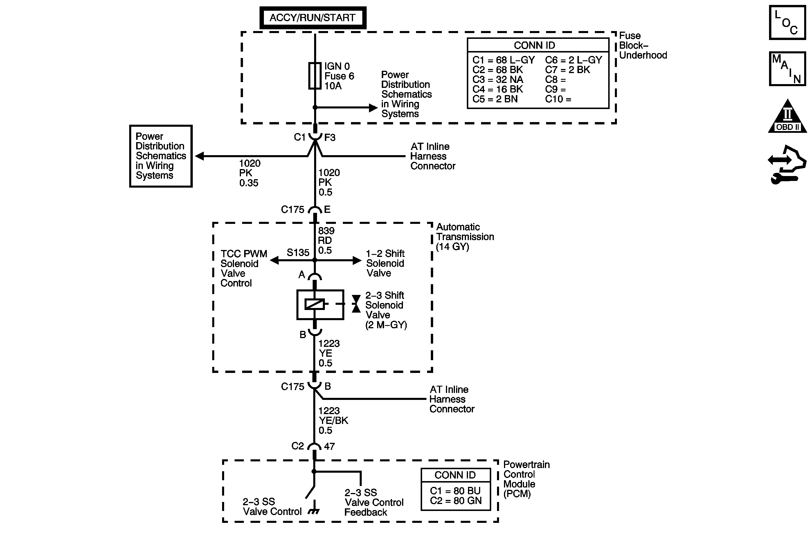
The 2-3 shift solenoid (SS) valve controls fluid acting on the 2-3 shift valve. The 2-3 SS valve is a normally open exhaust valve used with the 1-2 SS valve in order to allow four different shifting combinations. The 2-3 SS valve attaches to the control valve body within the transmission. The ignition voltage goes directly to the 2-3 SS valve. The powertrain control module (PCM) controls the 2-3 SS valve by providing a ground path through the control circuit.
If the PCM detects a continuous open or short in the 2-3 SS valve circuit or the 2-3 SS valve, then DTC P0758 sets. DTC P0758 is a type C DTC. For California emissions vehicles, DTC P0758 is a type A DTC.
This diagnostic procedure supports the following DTC:
DTC P0758 2-3 Shift Solenoid Control Circuit
The engine is running greater than 400 RPM for greater than 7 seconds.
One of the following conditions occur for 4.3 seconds out of 5 seconds:
| • | The PCM commands the 2-3 SS valve ON, and the voltage input remains high, B+. |
| • | The PCM commands the 2-3 SS valve OFF, and the voltage input remains low, 0 volts. |
| • | The PCM illuminates the malfunction indicator lamp (MIL) for California emission vehicles. |
| • | The PCM commands a soft landing to second gear. |
| • | The PCM commands maximum line pressure. |
| • | The PCM freezes transmission adaptive functions. |
| • | The PCM records the operating conditions when the Conditions for Setting the DTC are met. The PCM stores this information as Freeze Frame, California only, and Failure Records, California and Federal. |
| • | The PCM stores DTC P0758 in PCM history. |
| • | For California emissions, the PCM turns OFF the MIL during the third consecutive trip in which the diagnostic test runs and passes. |
| • | A scan tool can clear the MIL/DTC. |
| • | For California emissions, the PCM clears the DTC from PCM history if the vehicle completes 40 warm-up cycles without an emission related diagnostic fault occurring. |
| • | For Federal emissions, the PCM clears the DTC from PCM history if the vehicle completes 40 warm-up cycles without a non-emission related diagnostic fault occurring. |
| • | The PCM cancels the DTC default actions when the fault no longer exists and the ignition switch is OFF long enough in order to power down the PCM. |
| • | Refer to Shift Solenoid Valve State and Gear Ratio . |
| • | DTC P0758 defaults to an elevated line pressure condition which may result in partial torque converter clutch (TCC) apply. This may produce an idle surge that could stall the engine. |
The numbers below refer to the step numbers on the diagnostic table.
This step tests the function of the 2-3 SS valve and the internal wiring harness.
This step tests the power to the 2-3 SS valve from the ignition through the fuse.
This step tests the ability of the PCM and the wiring to control the ground circuit.
This step measures the resistance of the automatic transmission (AT) wiring harness assembly and the 2-3 SS valve.
Step | Action | Value | Yes | No | ||||||
|---|---|---|---|---|---|---|---|---|---|---|
1 | Did you perform the Diagnostic System Check - Vehicle? | -- | Go to Step 2 | |||||||
2 |
Important: Before clearing the DTC, use the scan tool in order to record the Freeze Frame and Failure Records. Using the Clear Info function erases the Freeze Frame and Failure Records from the PCM. Is DTC P0758 or P2761 also set? | -- | Go to Step 3 | Go to Step 4 | ||||||
3 | Inspect the IGN 0 fuse for an open. Refer to Circuit Protection - Fuses . Is the fuse open? | -- | Go to Step 12 | Go to Step 5 | ||||||
Use the scan tool in order to command the 2-3 SS valve ON and OFF three times while listening to the bottom of the transmission pan, a stethoscope may be necessary. Does the solenoid click when commanded? | -- | Go to Testing for Intermittent Conditions and Poor Connections | Go to Step 5 | |||||||
Does the test lamp illuminate? | -- | Go to Step 6 | Go to Step 15 | |||||||
Does the test lamp turn ON and OFF with each command? | -- | Go to Step 8 | Go to Step 7 | |||||||
7 | Is the test lamp always ON? | -- | Go to Step 16 | Go to Step 17 | ||||||
Does the resistance measure within the specified range? | 19-31 ohms | Go to Step 9 | Go to Step 10 | |||||||
9 | Measure the resistance from the 2-3 SS valve control circuit to ground, and from the ignition 0 voltage circuit to ground of the AT inline 20-way connector. Do both readings measure greater than the specified value? | 250 K ohms | Go to Testing for Intermittent Conditions and Poor Connections | Go to Step 11 | ||||||
10 |
Does the resistance measure within the specified range? | 19-31 ohms | Go to Step 18 | Go to Step 19 | ||||||
11 |
Do both readings measure greater than the specified value? | 250 K ohms | Go to Step 18 | Go to Step 19 | ||||||
12 |
Important: The condition that affects this circuit may exist in other connecting branches of the circuit. Refer to Power Distribution Schematics for complete circuit distribution. Test the Ignition 0 voltage circuit of the 2-3 SS valve for a short to ground between the fuse block and the AT inline 20-way connector. Refer to Testing for Short to Ground and Wiring Repairs . Did you find and correct the condition? | -- | Go to Step 21 | Go to Step 13 | ||||||
13 |
Important: The condition that affects this circuit may exist in other connecting branches of the circuit. Refer to Power Distribution Schematics for complete circuit distribution. Test the Ignition 1 voltage circuit of the 2-3 SS valve for a short to ground between the AT inline 20-way connector and the 2-3 SS valve. Refer to Testing for Short to Ground . Did you find a short to ground condition? | -- | Go to Step 18 | Go to Step 14 | ||||||
14 |
Did you complete the replacement? | -- | Go to Step 21 | -- | ||||||
15 |
Important: The condition that affects this circuit may exist in other connecting branches of the circuit. Refer to Power Distribution Schematics for complete circuit distribution. Test the Ignition 0 voltage circuit of the 2-3 SS valve for an open. Refer to Testing for Continuity and Wiring Repairs . Did you find and correct the condition? | -- | Go to Step 21 | -- | ||||||
16 | Test the control circuit of the 2-3 SS valve for a short to ground between the PCM connector C2 and the AT inline 20-way connector. Refer to Testing for Short to Ground and Wiring Repairs . Did you find and correct the condition? | -- | Go to Step 21 | Go to Step 20 | ||||||
17 | Test the control circuit of the 2-3 SS valve for an open or short to power between the PCM connector C2 and the AT inline 20-way connector. Refer to Circuit Testing and Wiring Repairs . Did you find and correct the condition? | -- | Go to Step 21 | Go to Step 20 | ||||||
18 | Replace the AT wiring harness assembly. Refer to Valve Body and Pressure Switch Replacement . Did you complete the replacement? | -- | Go to Step 21 | -- | ||||||
19 | Replace the 2-3 SS valve. Refer to Valve Body and Pressure Switch Replacement . Did you complete the replacement? | -- | Go to Step 21 | -- | ||||||
20 | Replace the PCM. Refer to Control Module References for replacement, setup, and programming. Did you complete the replacement? | -- | Go to Step 21 | -- | ||||||
21 | Perform the following procedure in order to verify the repair:
Has the test run and passed? | -- | Go to Step 22 | Go to Step 2 | ||||||
22 | With the scan tool, observe the stored information, capture info and DTC info. Does the scan tool display any DTCs that you have not diagnosed? | -- | System OK |