GM Service Manual Online
For 1990-2009 cars only
Figure 1:

TCM, Power, and Ground


Object Number: 1558377  Size: FS
Master Electrical Component List
Transmission General Description
Control Module References
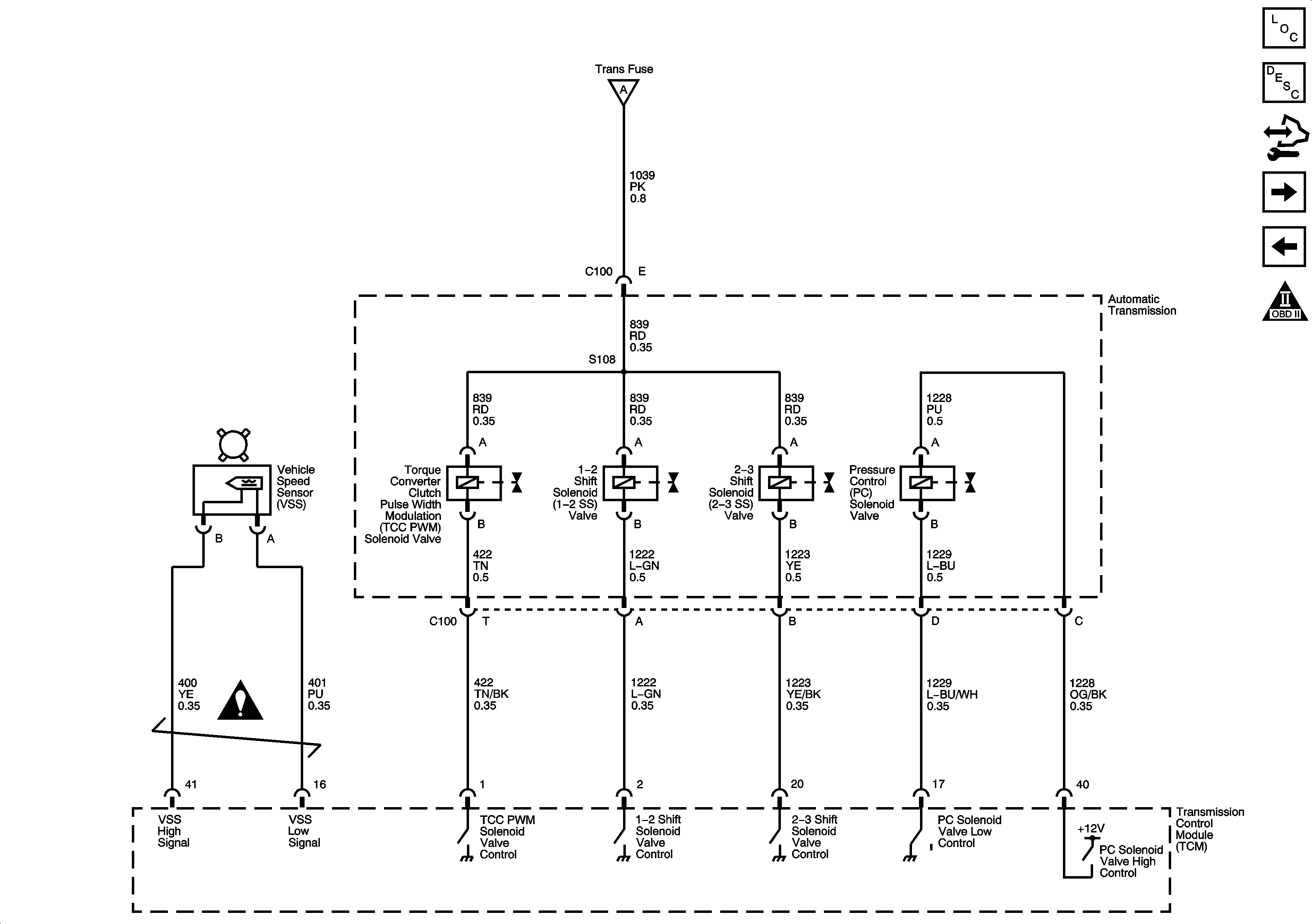
Transmission Solenoid and VSS
Automatic Transmission Schematic Icons
Body Control Module - RAP, DRIVERS DOOR UNLOCK PCB, DOOR UNLOCK PCB, DOOR LOCK PCB and INTERIOR LAMPS PCB Relays, RDO, PWR WINDW, DR LCK, INT LIGHT, ECM / TCM, SDM, S ROOF and SPARE Fuses
Power, Ground, MIL, and DLC
Power, Ground, MIL, and DLC
Underhood Fuse Block - B+ Bus
Power, Ground, MIL, and DLC
Power, Ground, MIL, and DLC
High Speed GMLAN
Center High Mounted Stop Lamp, B+
Transmission Solenoid and VSS
G103, G105, G017, and G108
Figure 2:

Transmission Solenoids and VSS


Object Number: 1558378  Size: FS
Master Electrical Component List
Transmission General Description
Control Module References
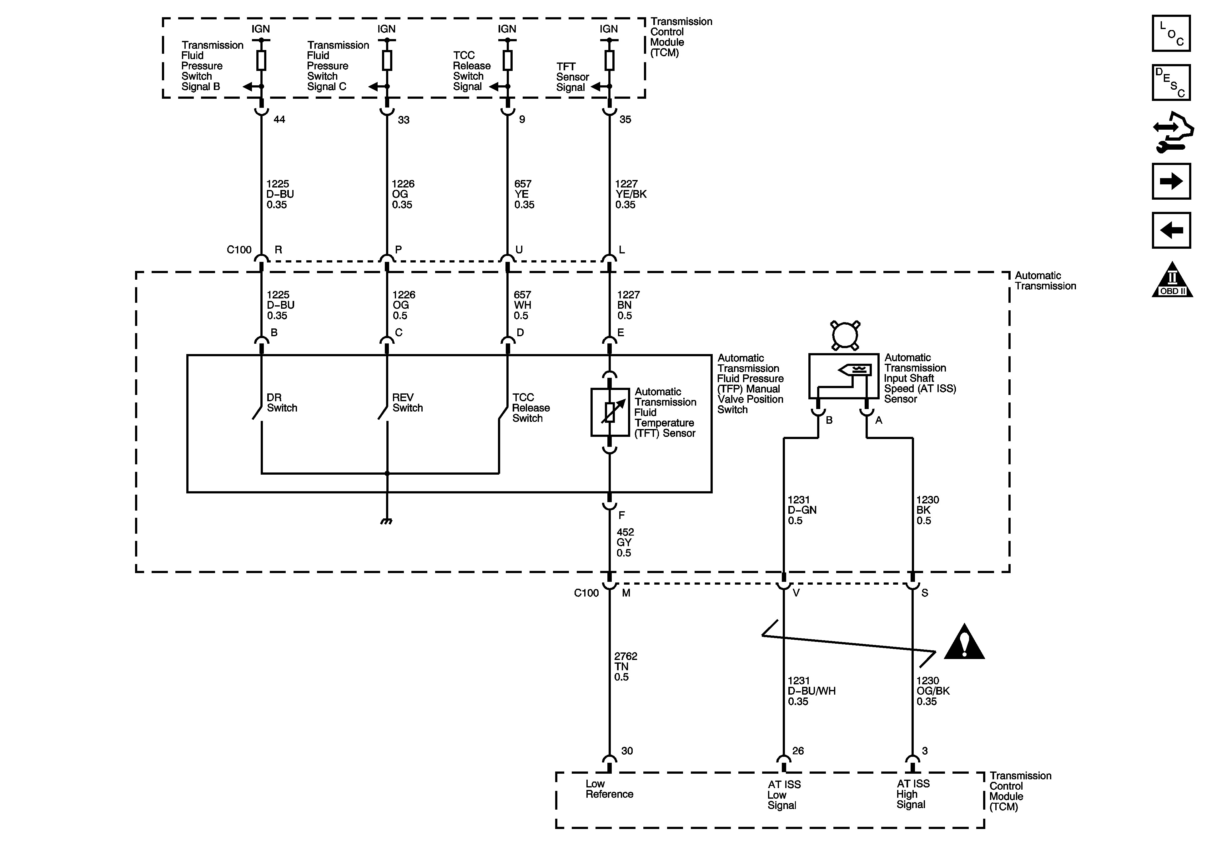
Transmission Switches, TFT, and A/T ISS Sensors
TCM Power and Ground
Automatic Transmission Schematic Icons
TCM Power and Ground
Automatic Transmission Schematic Icons
Figure 3:

Transmission Switches, TFT, and A/T ISS Sensors


Object Number: 1558379  Size: FS
Master Electrical Component List
Transmission General Description
Control Module References
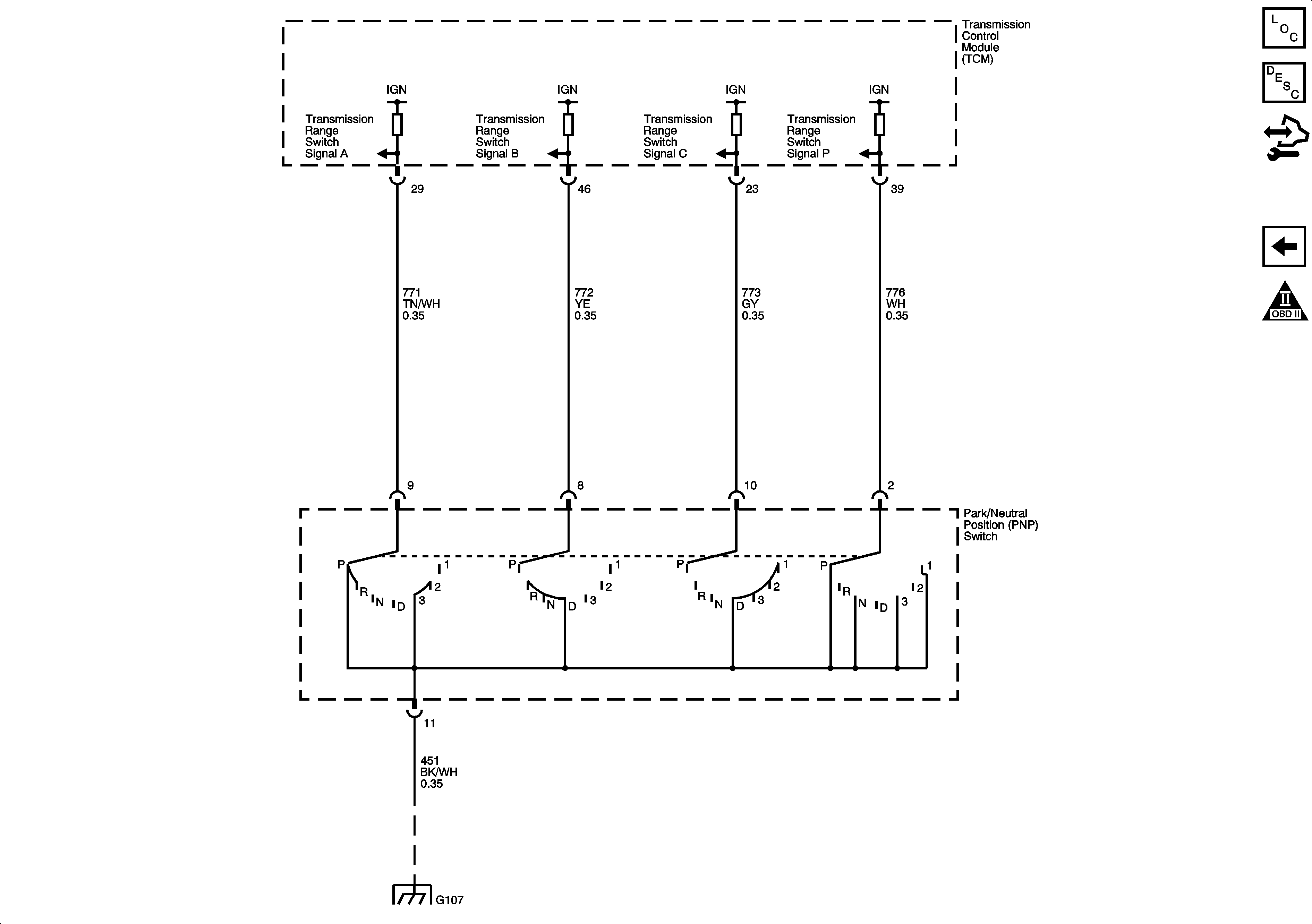
PNP Switch
Transmission Solenoid and VSS
Automatic Transmission Schematic Icons
Automatic Transmission Schematic Icons
Figure 4:

PNP Switch


Object Number: 1558380  Size: FS
Master Electrical Component List
Transmission General Description
Control Module References
Transmission Switches, TFT, and A/T ISS Sensors
Automatic Transmission Schematic Icons
G103, G105, G017, and G108