GM Service Manual Online
For 1990-2009 cars only

Windshield Wiper Motor Replacement Linked


Object Number: 1629255  Size: SF

Callout

Component Name

Preliminary Procedures

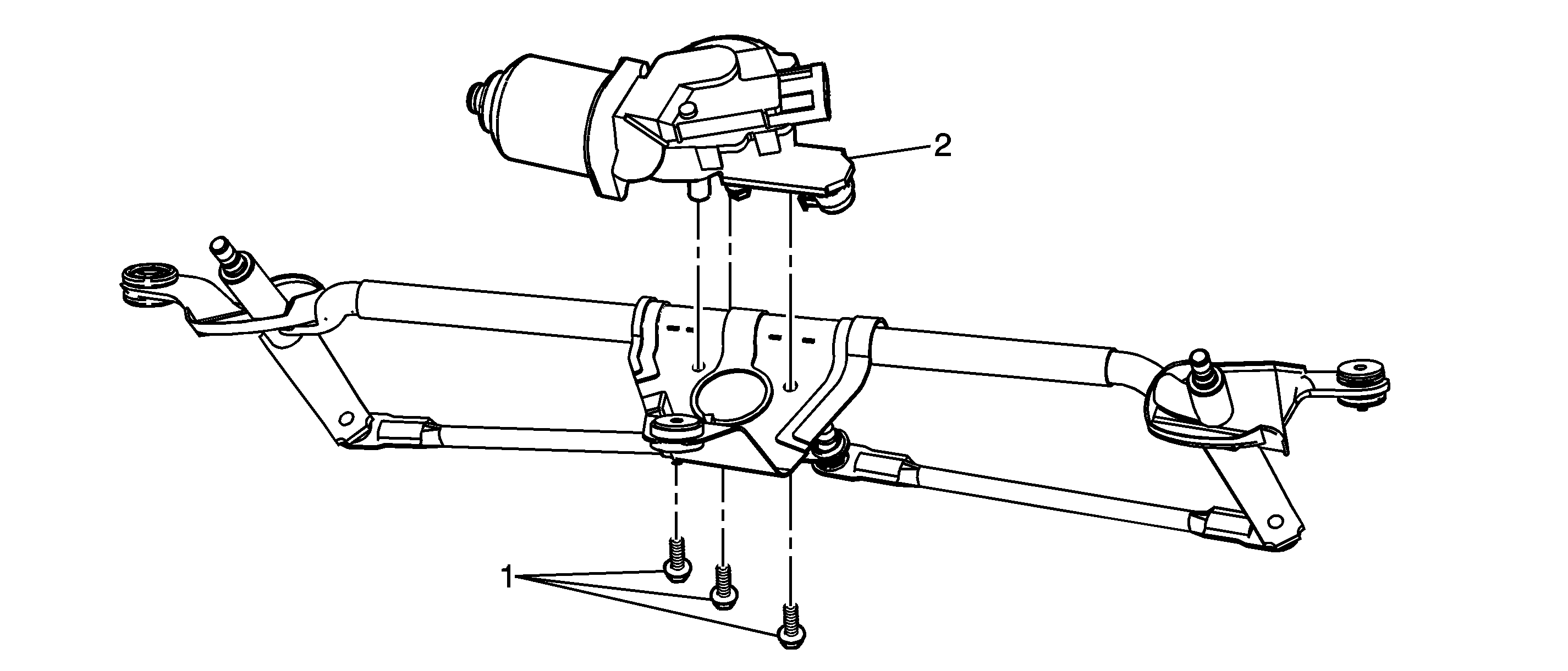
  1. Remove the wiper transmission assembly. Refer to XXXXX .
  2. Disconnect the wiper motor electrical connector.

1

Windshield Wiper Motor Bolts (Qty: 3)

Tighten
6 N·m (53 lb in)

2

Windshield Washer Wiper Motor

Tip

  1. Do not apply electrical power to a new wiper motor prior to installation of that motor.
  2. Use the J 39232 or equivalent to separate the transmission arm from the wiper motor crank arm pivot.
  3. Use the J 39529 or equivalent to install the transmission arm onto the wiper motor crank arm pivot.
  4. Align the wiper motor crank arm in alignment with the transmission arm links.