GM Service Manual Online
For 1990-2009 cars only

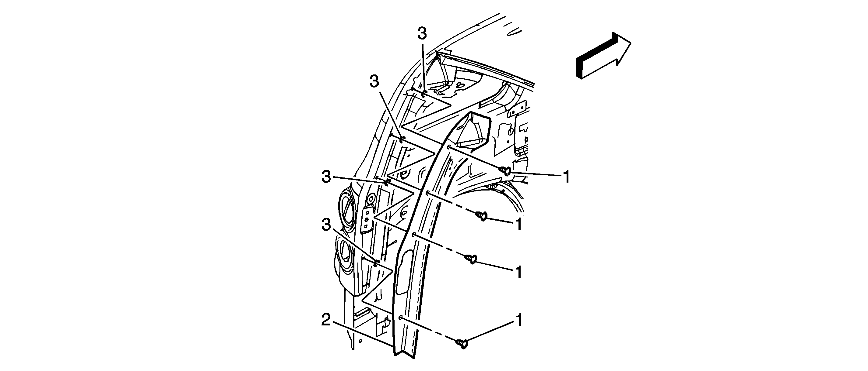
Object Number: 1606599  Size: SF

Callout

Component Name

Notice: Refer to Fastener Notice in the Preface section.

Fastener Tightening Specifications: Refer to Fastener Tightening Specifications .

Preliminary Procedures

  1. Disconnect the liftgate strut from the bodyside.
  2. Move the liftgate weatherstrip enough to allow access to remove the molding.

1

Screw, Quarter Upper Rear Trim Panel (Qty: 4)

Tighten
3 N·m (25 lb in)

2

Panel Assembly, Quarter Upper Rear Trim

Tip
The panel has double side tape to help retain to the body.

3

Nut, Quarter Upper Rear Trim (Qty: 4)