GM Service Manual Online
For 1990-2009 cars only

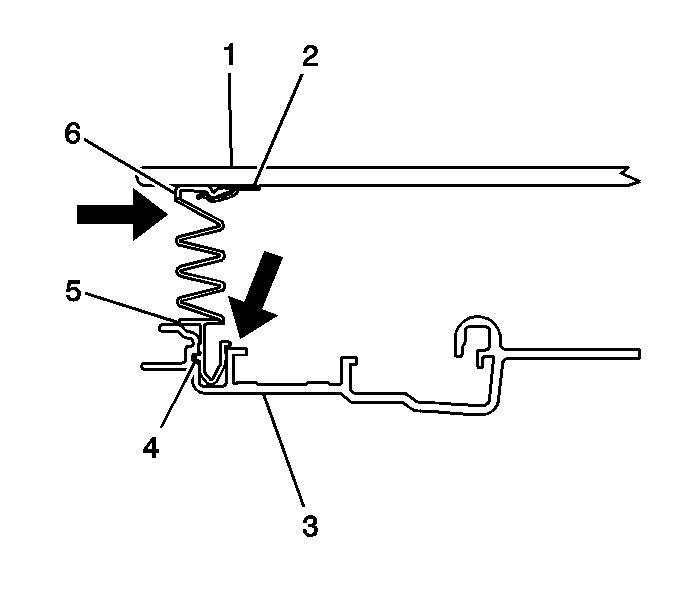
Removal Procedure


    Object Number: 802868  Size: SH
  1. Open the sunshade to the full rearward position.
  2. Open the sunroof window (1) to the vent position.
  3. Detach both sides of the sunroof side opening closeout panel covers (6) from the sunroof window clips (2).
  4. Open the sunroof to the full open position.
  5. Using a flat-bladed tool, press the locking tab (4) outward, from inside the roof opening, in order to detach the side opening closeout panel cover from the sunroof track channel (3).
  6. With the lock tab (4) depressed, lift the front edge of the side opening closeout panel cover from the track, working towards the rear of the sunroof opening.
  7. Repeat the steps for the entire length of the side opening closeout panel cover (6).
  8. Remove the sunroof side opening closeout panel cover from the sunroof module track assembly.

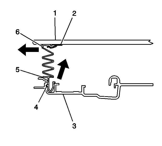
Installation Procedure


    Object Number: 802869  Size: SH
  1. Place in position, the new sunroof side opening closeout panel cover (6) to the sunroof module track assembly (3).
  2. Hold the lower part (5) of the side opening closeout panel cover firmly and press the locking tab (4) into the track assembly.
  3. Ensure the entire length of the side opening closeout panel cover (6) is secure to the sunroof assembly track.
  4. Close the sunroof window (1).
  5. Open the sunroof window to the vent position.
  6. Secure the sunroof side opening closeout panel cover (6) to the 3 clips (2) located on the inside edge of the sunroof window.
  7. Close the sunroof window.
  8. Cycle the sunroof window to the vent position and full open positions in order to ensure the sunroof side opening closeout panel covers are secure to the attachment clips.
  9. Close the sunroof window.
  10. Close the sunshade.