GM Service Manual Online
For 1990-2009 cars only

Object Number: 1592550  Size: MF

Callout

Component Name

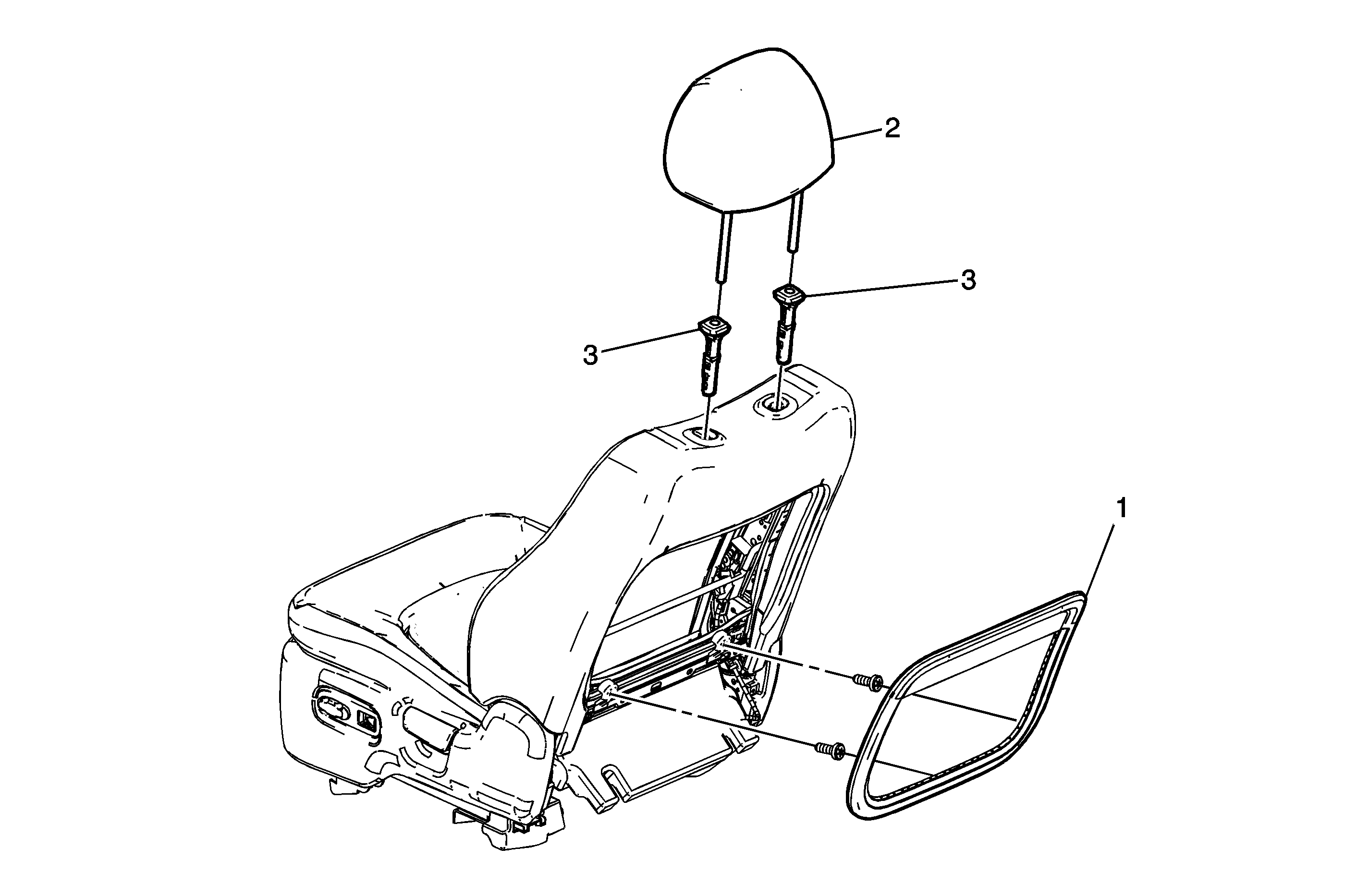
1

Panel, Seat Back

Refer to Driver Seat and Passenger Seat Back Cushion Finish Panel Replacement .

2

Restraint, Front Seat Head

Tip
Depress the button on the outboard head restraint guide and pull up to raise and remove the head restraint.

3

Guide, Front Seat Head Restraint (Qty: 2)

Tip
Reach up and into the top of the seat back, while pressing the tabs on the bottom of the head restraint guide, pull the guide from the seat back frame.