GM Service Manual Online
For 1990-2009 cars only

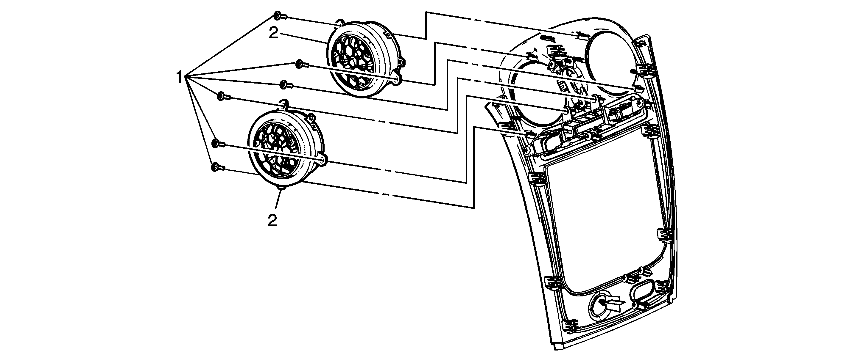
Object Number: 1628076  Size: SF

Callout

Component Name

Notice: Refer to Fastener Notice in the Preface section.

Fastener Tightening Specifications: Refer to Fastener Tightening Specifications .

Preliminary Procedure

Remove the instrument panel (I/P) accessory trim plate. Refer to Instrument Panel Accessory Trim Plate Replacement .

1

Screw, Center Air Outlet Assembly (Qty: 3)

Tighten
1.5 N·m (13 lb in)

2

Center Air Outlet Assembly

Tip
Remove the air outlet from the back side of the accessory trim plate.