GM Service Manual Online
For 1990-2009 cars only

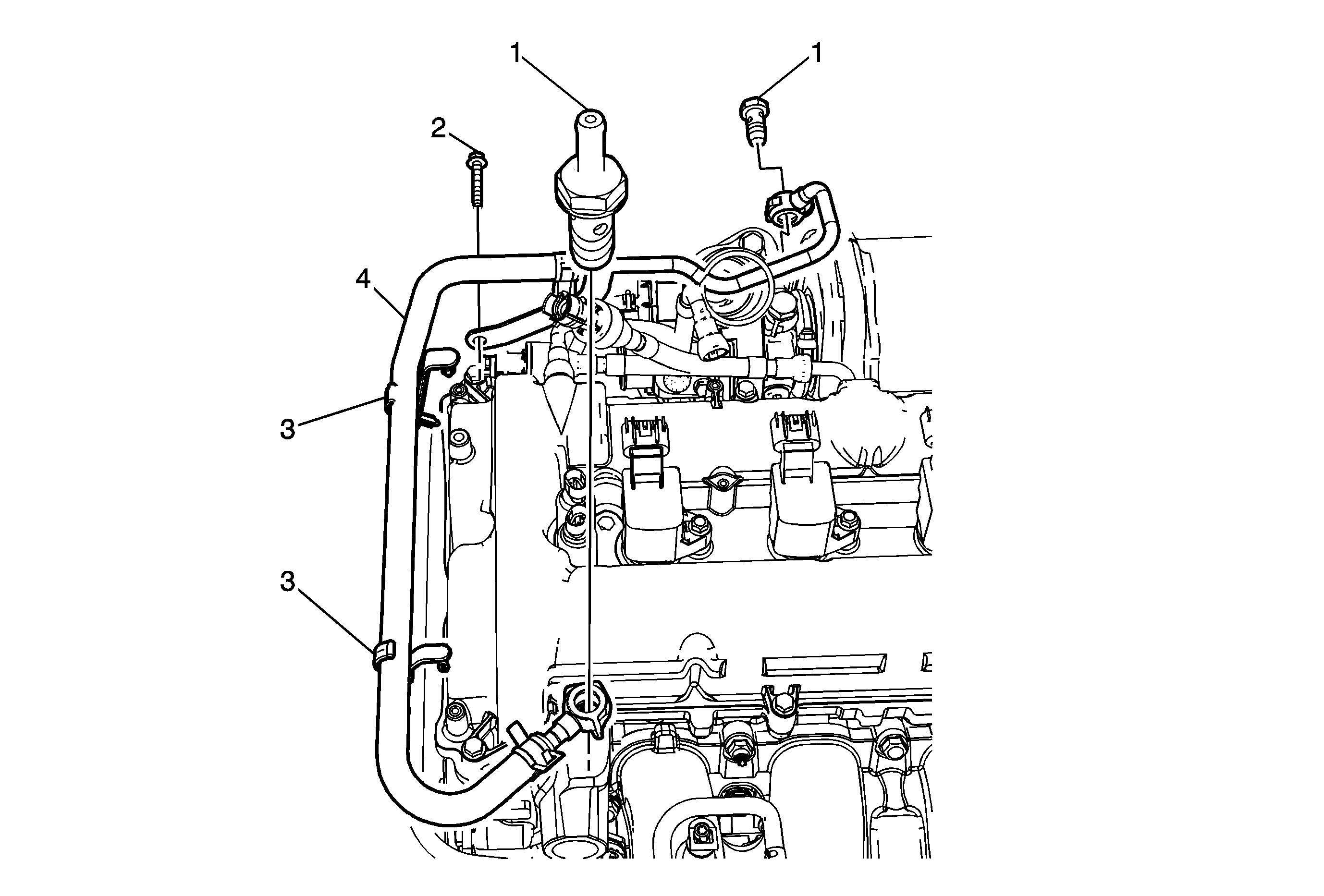
Object Number: 2009539  Size: MF

Callout

Component Name

Preliminary Procedures

  1. Remove the air cleaner outlet duct. Refer to Air Cleaner Outlet Duct Replacement.
  2. Remove the charge air cooler inlet duct pipe. Refer to Charge Air Cooler Inlet Pipe Replacement
  3. Remove the air cleaner assembly. Refer to Air Cleaner Assembly Replacement.
  4. Drain the cooling system. Refer to Cooling System Draining and Filling.

1

Turbo Coolant Feed Pipe Fitting (Qty: 2)

Notice: Refer to Fastener Notice in the Preface section.

Procedure

Install new gaskets to both banjo bolt fittings.

Tighten
35 N·m (26 lb ft)

2

Coolant Feed Pipe Bracket Bolt

Tighten
10 N·m (89 lb in)

3

Turbo Cooler Feed Pipe Clip

4

Turbocharger Coolant Feed Pipe