GM Service Manual Online
For 1990-2009 cars only

Accessories Part Number

19157234

Kit Usage

This kit is designed to add 2-way remote start with extended range and enhanced functionality.

These instructions only apply to 2008 model year and beyond vehicles. There is a different RCDLR and antenna location for the 2007 model year.

Kit Contents

Qty

Description

1

Remote Control Door Lock, 2-Way Remote Start and Information Display Receiver (2-Way RCDLR)

1

2-Way Remote Start and Door Lock Transmitter (With Information Display)

1

2-Way Remote Start, Door Lock and Information Display Antenna

1

Factory Style 1-way Transmitter

1

Service Part ID Label

1

2-Way Advanced Remote Start Owner Manual

Special Tools

    • Scan Tool with capability of communicating on GMLAN
    • Service Programming System (SPS - TIS2WEB or equivalent)
    • J-46079 Tire Pressure Monitor Diagnostic Tool
    • Surface Cleaner (50 percent isopropyl alcohol, FS-1082 hi-flash naphtha or equivalent)
    • Glass Primer and Adhesion Promoter GM P/N 12378555 (Canadian P/N 88901239)

Procedure

    Note: Please review this entire procedure before trying to perform it.

  1. Using the Scan Tool, perform the Copy and Paste TPM Information procedure. This will extract the TPM Tire Type information as well as the sensor data from the existing RCDLR prior to its replacement and store this information in the scan tool. After RCDLR replacement, the tire type and sensor data stored in the scan tool is written to the new RCDLR, negating the need to perform the tire type setup and sensor learn procedure. This must be performed BEFORE removing the old RCDLR. Refer to Remote Control Door Lock Receiver Programming and Setup .
  2. Physically replace the factory Remote Control Door Lock Receiver (RCDLR) with the 2-way RCDLR included in the kit. Refer to Remote Control Door Lock Receiver Replacement. Do not program or reassemble yet.

  3. Object Number: 2037272  Size: SH
  4. Clean the inside of the right rear quarter glass with a surface cleaner (50 percent isopropyl alcohol, FS-1082 hi-flash naphtha or equivalent).
  5. Dry the glass thoroughly using a lint-free cloth.

  6. Object Number: 2037725  Size: SH

    Note: 

       • The adhesion promoter must be used to assure adequate bonding of the antenna.
       • Mask off or protect areas before applying the adhesion promoter.

  7. Apply Glass Adhesion Promoter GM P/N 12378555 (Canadian P/N 88901239) to the rear quarter window in the area where you will install the antenna. Follow the Glass Adhesion Promoter instructions on the product label. Use a = 90 mm (3 9/16 in).
  8. Note: 

       • Position the antenna according to the figure provided.
       • Do not touch the adhesive pad on the antenna.

  9. Remove the protective film from the adhesive pad on the antenna.
  10. Align the antenna to the glass blackout area according to the figure, using a = 90 mm (3 9/16 in).
  11. Press firmly all along the adhesive pad of the antenna, including all four corners of the adhesive pad, in order to ensure proper adhesion to the glass.
  12. Hold pressure on the antenna for 10-30 seconds.
  13. Ensure that no gaps occur between the antenna adhesive pad and the glass.

  14. Object Number: 2037726  Size: MF

    Object Number: 2037727  Size: MF

    Note: 

       • Do not bend the roof side rail inflatable restraint module brackets during installation of the antenna.
       • Route the antenna cable above the roof side rail inflatable restraint module along the passenger side of the vehicle.

  15. Route the antenna cable (1) behind the roof side rail inflatable restraint module bracket (2) and secure to the roof along the passenger side of the vehicle with five adhesive wire-wraps (3).

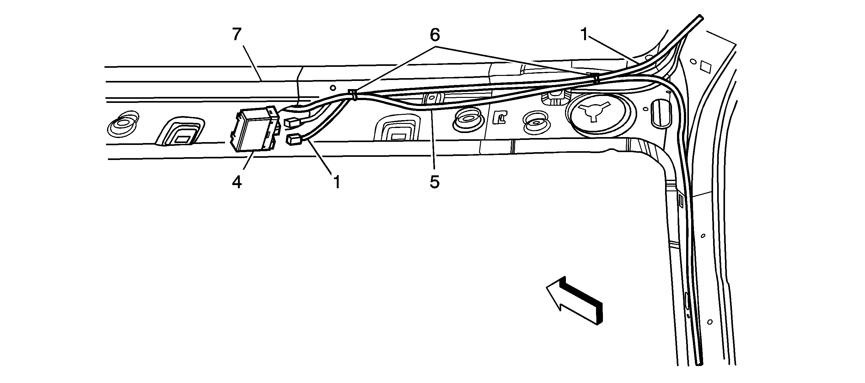
  16. Object Number: 2037728  Size: SF
  17. Secure the antenna cable (1) to the main body wiring harness (5) at the front header (7) with two tie wraps (6).
  18. Connect the antenna (1) to the 2-Way RCDLR (4).
  19. Reassemble. Refer to Remote Control Door Lock Receiver Replacement.
  20. Program the new RCDLR. Refer to Remote Control Door Lock Receiver Programming and Setup. Program the 2-way transmitter and the factory styled 1-way transmitter included in the kit to the 2-way RCDLR.
  21. Turn the ignition off for 1 minute.
  22. Discard the vehicle factory transmitters, as they will no longer be functional.
  23. Apply the service part ID label to the bottom of the existing Service Parts ID Label. This label is for future transmitter service part identification.
  24. 18.1. The surface temperature should not be less than 65°F (21°C).
    18.2. Clean the surface with a suitable solvent (50 percent isopropyl alcohol, FS-1062 hi-flash naphtha or equivalent).
    18.3. Dry the surface with a clean cloth.
    18.4. Peel the liner from the backside of the label, being careful not to touch the adhesive or allow dirt or any foreign material to come in contact with it.
    18.5. Carefully align the label to the surface, press firmly, and smooth out.
  25. Turn the ignition on.
  26. Using the scan tool, retrieve any diagnostic trouble codes (DTCs) from all of the modules.
  27. Clear all DTCs.
  28. Remove the scan tool.
  29. Operate the 2-way and factory style 1-way transmitters in order to verify correct system operation. Refer to Remote Vehicle Start within Keyless Entry System Description and Operation. Press a command button with the vehicle ignition ON in order to synchronize the 2-Way transmitter clock to the vehicle clock.
  30. Drive the vehicle above 25 mph for at least two minutes. This is to update the tire pressure displays.
  31. Add the transmitters to the customer key rings.
  32. Place the 2-Way Advanced Remote Start owner manual in instrument panel compartment.
  33. Keep the vehicle dry. Allow 6-8 hours, at 15°C (60°F), for the antenna adhesive to cure after installation.