GM Service Manual Online
For 1990-2009 cars only
Connector 1: X100 Engine to Transmission Side
Connector 2: X105 Body Harness to the Engine Harness
Connector 3: X109 Body Harness to the Engine Harness (LNF)
Connector 4: X113 Engine Harness to the Body Harness (LNF)
Connector 5: X121 Forward Lamp Harness to the Body Harness
Connector 6: X160 Engine Harness to the Fuel Injector Harness (LE8/LE9)
Connector 7: X162 Engine Harness to the Injector Harness (LNF)
Connector 8: X170 Body Harness to the Right Front Wheel Speed Sensor Harness (JM4)
Connector 9: X171 Body Harness to the Left Front Wheel Speed Sensor Harness (JM4/JL4)
Connector 10: X200 Body Harness to the I/P Harness
Connector 11: X203 Body Harness to the I/P Harness
Connector 12: X206 A-Pillar Harness to the I/P Harness
Connector 13: X207 I/P Harness to Driver Information Center Jumper Harness (LNF without UAF)
Connector 14: X210 I/P Harness to the HVAC Jumper Harness
Connector 15: X211 Inflatable Restraint I/P Harness to the Body Harness
Connector 16: X221 Body Harness to Left I/P Jumper Harness (Panel Van)
Connector 17: X222 Body Harness to Right I/P Jumper Harness (Panel Van)
Connector 18: X314 Body Harness to the Passenger Seat Harness (KA1)
Connector 19: X315 Body Harness to the Driver Seat Harness
Connector 20: X316 Body Harness to the Passenger Seat Harness
Connector 21: X319 Driver Seat Harness to the Driver Power Seat Jumper Harness (AJ6)
Connector 22: X397 Headliner Harness to the Sunroof Harness (CF5)
Connector 23: X401 EVAP Canister Purge, Rear Wheel Speed Sensor, and Fuel Controls Harness to Body Harness
Connector 24: X403 Battery Harness to the Body Harness
Connector 25: X404 Body Harness to the Headliner Harness (UE1)
Connector 26: X405 Body Harness to the Headliner Harness (without UE1)
Connector 27: X406 Rear Provisional to Body Harness (Panel Van)
Connector 28: X500 Body Harness to the Left Front Door Harness
Connector 29: X600 Body Harness to the Passenger Door Harness
Connector 30: X700 Body Harness to the Left Rear Door Harness
Connector 31: X800 Body Harness to the Right Rear Door Harness
Connector 32: X900 Liftgate Harness to the Body Harness
Connector 33: X902 Body Harness to the Liftgate Harness
Connector 34: X903 Liftgate Harness to the Center High Mounted Stop Lamp Jumper Harness

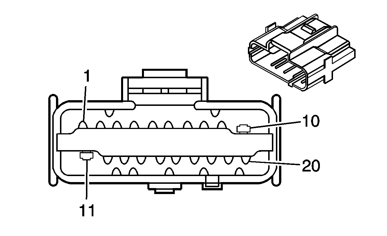
X100 Engine to Transmission Side


Object Number: 1922568  Size: CH

Object Number: 1922569  Size: CH

Connector Part Information

  • OEM: 15472125
  • Service: 89046897
  • Description: 20-Way F Micro-Pack 100 Series (GY)

Connector Part Information

  • OEM: 15443076
  • Service: 12160782
  • Description: 20-Way M Micro-Pack 100 Series (GY)

Terminal Part Information

  • Pins: A-E, L, M, P, R-V
  • Terminal/Tray: See Terminal Repair Kit
  • Core/Insulation Crimp: See Terminal Repair Kit
  • Release Tool/Test Probe: See Terminal Repair Kit

Terminal Part Information

  • Pins: A-E, L, M, P, R-V
  • Terminal/Tray: See Terminal Repair Kit
  • Core/Insulation Crimp: See Terminal Repair Kit
  • Release Tool/Test Probe: See Terminal Repair Kit

X100 Engine to Transmission Side

Pin

Wire

Circuit

Function

Pin

Wire

Circuit

Function

A

0.35 L-GN

1222

1-2 Shift Solenoid Valve Control

A

0.5 L-GN

1222

1-2 Shift Solenoid Valve Control

B

0.35 YE/BK

1223

2-3 Shift Solenoid Valve Control

B

0.5 YE

1223

2-3 Shift Solenoid Valve Control

C

0.35 OG/BK

1228

Pressure Control (PC) Solenoid Valve High Control

C

0.5 PU

1228

PC Solenoid Valve High Control

D

0.35 L-BU/WH

1229

PC Solenoid Valve Low Control

D

0.5 L-BU

1229

PC Solenoid Valve Low Control

E

0.8 PK

1039

Ignition 1 Voltage

E

0.35 RD

839

Ignition 1 Voltage

F-K

--

--

Not Available

F-K

--

--

Not Available

L

0.35 YE/BK

1227

Transmission Fluid Temperature (TFT) Sensor Signal

L

0.5 BN

1227

TFT Sensor Signal

M

0.35 TN

2762

Low Reference

M

0.5 GY

452

Low Reference

N

--

--

Not Used

N

--

--

Not Used

P

0.35 OG

1226

TFP Switch Signal C

P

0.5 OG

1226

TFP Switch Signal C

R

0.35 D-BU

1225

TFP Switch Signal B

R

0.35 D-BU

1225

TFP Switch Signal B

S

0.35 OG/BK

1230

Input Speed Sensor (ISS) High Signal

S

0.5 BK

1230

ISS High Signal

T

0.35 TN/BK

422

Torque Convertor Clutch Pulse Width Modulated (TCC PWM) Solenoid Valve Control

T

0.5 TN

422

TCC PWM Solenoid Valve Control

U

0.35 YE

657

TCC Release Switch Signal

U

0.5 WH

657

TCC Release Switch Signal

V

0.35 D-BU/WH

1231

ISS Low Signal

V

0.5 D-GN

1231

ISS Low Signal

W

--

--

Not Available

W

--

--

Not Available

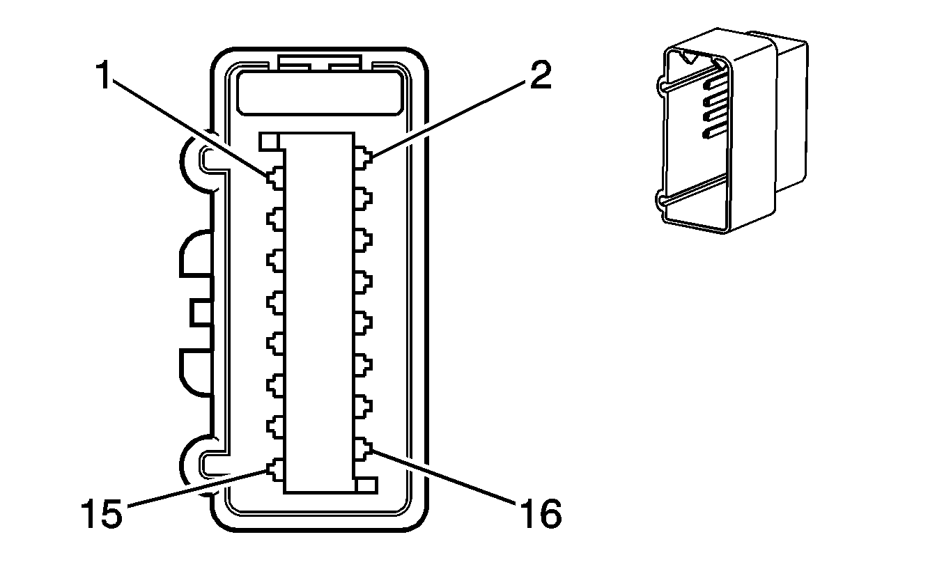
X105 Body Harness to the Engine Harness


Object Number: 831372  Size: CH

Object Number: 831369  Size: CH

Connector Part Information

  • OEM: 15326849
  • Service: See Catalog
  • Description: 12-Way F GT150 Series Sealed (BK)

Connector Part Information

  • OEM: 15326854
  • Service: See Catalog
  • Description: 12-Way M GT150 Series Sealed (BK)

Terminal Part Information

  • Terminal/Tray: See Terminal Repair Kit
  • Core/Insulation Crimp: See Terminal Repair Kit
  • Release Tool/Test Probe: See Terminal Repair Kit

Terminal Part Information

  • Terminal/Tray: See Terminal Repair Kit
  • Core/Insulation Crimp: See Terminal Repair Kit
  • Release Tool/Test Probe: See Terminal Repair Kit

X105 Body Harness to the Engine Harness

Pin

Wire

Circuit

Function

Pin

Wire

Circuit

Function

A

0.35 TN/BK

2500

High Speed GMLAN Serial Data Bus (+)

A

0.35 TN/BK

2500

High Speed GMLAN Serial Data Bus (+)

B

0.35 TN

2501

High Speed GMLAN Serial Data Bus (-)

B

0.35 TN

2501

High Speed GMLAN Serial Data Bus (-)

C

0.35 D-GN

335

Cooling Fan Relay Control

C

0.35 D-GN

335

Cooling Fan Relay Control

D

0.35 L-BU

6289

IAT Sensor Signal (LE8/LE9)

D

0.35 L-BU

6289

IAT Sensor Signal (LE8/LE9)

0.35 TN

891

Boost Gage Signal (LNF)

0.35 TN

891

Boost Gage Signal (LNF)

E

0.5 PU

401

VSS Low Signal (MU3)

E

0.5 PU

401

VSS Low Signal (MU3)

0.35 PU/WH

6356

VSS Low Signal (M86)

0.5 PU/WH

6356

VSS Low Signal (M86)

F

0.5 YE

400

VSS High Signal (MU3)

F

0.5 YE

400

VSS High Signal (MU3)

0.35 BN/WH

6354

VSS High Signal (M86)

0.5 BN/WH

6354

VSS High Signal (M86)

G

0.35 TN/BK

2500

High Speed GMLAN Serial Data Bus (+)

G

0.35 TN/BK

2500

High Speed GMLAN Serial Data Bus (+)

H

0.35 TN

2501

High Speed GMLAN Serial Data Bus (-)

H

0.35 TN

2501

High Speed GMLAN Serial Data Bus (-)

J

0.35 D-GN

6307

Clutch Start Neutral Start Signal (MN5)

J

0.35 D-GN

6307

Clutch Start Neutral Start Signal (MN5)

K

0.35 OG/BK

380

A/C Refrigerant Pressure Sensor Signal (LE8/LE9)

K

0.5 OG/BK

380

A/C Refrigerant Pressure Sensor Signal (LE8/LE9)

0.5 PU

3120

HO2S High Signal (Bank 1 Sensor 2) (LNF)

0.5 PU

3120

HO2S High Signal (Bank 1 Sensor 2) (LNF)

L

0.35 YE

492

MAF Sensor Signal (LE8/LE9)

L

0.35 YE

492

MAF Sensor Signal (LE8/LE9)

0.5 TN/WH

3121

HO2S Low Signal (Bank 1 Sensor 2) (LNF)

0.5 TN/WH

3121

HO2S Low Signal (Bank 1 Sensor 2) (LNF)

M

0.5 GY/WH

3122

HO2S Heater Low Control (Bank 1Sensor 2) (LNF)

M

0.5 GY/WH

3122

HO2S Heater Low Control (Bank 1Sensor 2) (LNF)

X109 Body Harness to the Engine Harness (LNF)


Object Number: 831375  Size: CH

Object Number: 1394019  Size: CH

Connector Part Information

  • OEM: 15326939
  • Service: See Catalog
  • Description: 12-Way F GT 150 280 Series, Sealed (BK)

Connector Part Information

  • OEM: 15336034
  • Service: See Catalog
  • Description: 12-Way M GT 150/280 Series Sealed (BK)

Terminal Part Information

  • Terminal/Tray: See Terminal Repair Kit
  • Core/Insulation Crimp: See Terminal Repair Kit
  • Release Tool/Test Probe: See Terminal Repair Kit

Terminal Part Information

  • Terminal/Tray: See Terminal Repair Kit
  • Core/Insulation Crimp: See Terminal Repair Kit
  • Release Tool/Test Probe: See Terminal Repair Kit

X109 Body Harness to the Engine Harness (LNF)

Pin

Wire

Circuit

Function

Pin

Wire

Circuit

Function

A

2 BK/WH

451

Ground

A

2 BK/WH

451

Ground

B

0.35 BN/WH

419

MIL Control

B

0.35 BN/WH

419

MIL Control

C

0.35 TN

2760

Low Reference

C

0.35 TN

2760

Low Reference

D

0.35 L-BU

6289

Induction Air Temperature Sensor Signal

D

0.35 L-BU

6289

Induction Air Temperature Sensor Signal

E

0.35 YE

492

MAF Sensor Signal

E

0.35 YE

492

MAF Sensor Signal

F-H

--

--

Not Used

F-H

--

--

Not Used

J

0.35 GY

2700

5-Volt Reference

J

0.5 GY

2700

5-Volt Reference

K

0.35 TN

5514

Low Reference

K

0.5 TN

5514

Low Reference

L

0.35 OG/BK

380

A/C Refrigerant Pressure Sensor Signal

L

0.5 OG/BK

380

A/C Refrigerant Pressure Sensor Signal

X113 Engine Harness to the Body Harness (LNF)


Object Number: 1856772  Size: CH

Object Number: 1856773  Size: CH

Connector Part Information

  • OEM: 7123-4210-30
  • Service: See Catalog
  • Description: 1-Way F 375 Series, Sealed (BK)

Connector Part Information

  • OEM: 7222-4210-30
  • Service: See Catalog
  • Description: 1-Way M Y Type, Sealed (BK)

Terminal Part Information

  • Terminal/Tray: See Terminal Repair Kit
  • Core/Insulation Crimp: See Terminal Repair Kit
  • Release Tool/Test Probe: See Terminal Repair Kit

Terminal Part Information

  • Terminal/Tray: See Terminal Repair Kit
  • Core/Insulation Crimp: See Terminal Repair Kit
  • Release Tool/Test Probe: See Terminal Repair Kit

X113 Engine Harness to the Body Harness (LNF)

Pin

Wire

Circuit

Function

Pin

Wire

Circuit

Function

A

5 L-BU

409

Cooling Fan Motor Supply Voltage

A

5 L-BU

409

Cooling Fan Motor Supply Voltage

X121 Forward Lamp Harness to the Body Harness


Object Number: 1552599  Size: CH

Object Number: 1625657  Size: CH

Connector Part Information

  • OEM: E-5225-001
  • Service: 88988066
  • Description: 8-Way F Sealed (BK)

Connector Part Information

  • OEM: E-5222-001
  • Service: 88988067
  • Description: 8-Way M (BK)

Terminal Part Information

  • Pins: 1-7
  • Terminal/Tray: 7116-4102-08/9
  • Core/Insulation Crimp: E/1
  • Release Tool/Test Probe: 12094430/J-35616-2A (GY)

Terminal Part Information

  • Pins: 1-7
  • Terminal/Tray: 7114-4102-08/9
  • Core/Insulation Crimp: E/1
  • Release Tool/Test Probe: 12094430/J-35616-3 (GY)

X121 Forward Lamp Harness to the Body Harness

Pin

Wire

Circuit

Function

Pin

Wire

Circuit

Function

1

0.5 YE

1834

Inflatable Restraint Front End Sensor Signal

1

0.5 YE

1834

Inflatable Restraint Front End Sensor Signal

2

0.35 TN/OG

5045

Inflatable Restraint Front End Sensor Low Reference

2

0.35 TN/OG

5045

Inflatable Restraint Front End Sensor Low Reference

3

0.35 PK/BK

109

Hood Ajar Switch Signal (AP3)

3

0.35 PK/BK

109

Hood Ajar Switch Signal (AP3)

4

0.35 PU

5531

Hood Closed Switch Signal (AP3)

4

0.35 PU

5531

Hood Closed Switch Signal (AP3)

5

0.35 D-GN/WH

636

Ambient Air Temperature Sensor Signal

5

0.35 D-GN/WH

636

Ambient Air Temperature Sensor Signal

6

0.35 YE

61

Low Reference

6

0.35 YE

61

Low Reference

7

0.35 PU

359

DRL Voltage

7

0.35 PU

359

DRL Voltage

8

--

--

Not Used

8

--

--

Not Used

X160 Engine Harness to the Fuel Injector Harness (LE8/LE9)


Object Number: 646400  Size: CH

Object Number: 684916  Size: CH

Connector Part Information

  • OEM: 15326835
  • Service: 88986452
  • Description: 8-Way F GT 150 Series Sealed (BK)

Connector Part Information

  • OEM: 15326840
  • Service: 15326840
  • Description: 8-Way M GT 150 Series Sealed (BK)

Terminal Part Information

  • Terminal/Tray: 12191819/8
  • Core/Insulation Crimp: E/A
  • Release Tool/Test Probe: 15315247/J-35616-2A (GY)

Terminal Part Information

  • Terminal/Tray: See Terminal Repair Kit
  • Core/Insulation Crimp: See Terminal Repair Kit
  • Release Tool/Test Probe: See Terminal Repair Kit

X160 Engine Harness to the Fuel Injector Harness (LE8/LE9)

Pin

Wire

Circuit

Function

Pin

Wire

Circuit

Function

A

0.5 TN

1744

Fuel Injector (1) Control

A

0.5 TN

1744

Fuel Injector (1) Control

B

0.5 L-GN/BK

1745

Fuel Injector (2) Control

B

0.5 L-GN/BK

1745

Fuel Injector (2) Control

C

0.5 PK/BK

1746

Fuel Injector (3) Control

C

0.5 PK/BK

1746

Fuel Injector (3) Control

D

0.5 L-BU/BK

844

Fuel Injector (4) Control

D

0.5 L-BU/BK

844

Fuel Injector (4) Control

E

0.5 PK/WH

5292

Ignition 1 Voltage

E

0.5 PK

139

Ignition 1 Voltage

F

0.35 OG/BK

469

Low Reference

F

0.5 OG/BK

469

Low Reference

G

0.35 L-GN

432

Manifold Absolute Pressure Sensor Signal

G

0.5 L-GN

432

Manifold Absolute Pressure Sensor Signal

H

0.35 GY

2704

5-Volt Reference

H

0.5 GY

2704

5-Volt Reference

X162 Engine Harness to the Injector Harness (LNF)


Object Number: 1825165  Size: CH

Object Number: 1825167  Size: CH

Connector Part Information

  • OEM: 33472-1216
  • Service: See Catalog
  • Description: 12-Way F MX150 Series (BK)

Connector Part Information

  • OEM: 33482-1206
  • Service: See Catalog
  • Description: 12-Way M MX150 Series (BK)

Terminal Part Information

  • Terminal/Tray: See Terminal Repair Kit
  • Core/Insulation Crimp: See Terminal Repair Kit
  • Release Tool/Test Probe: See Terminal Repair Kit

Terminal Part Information

  • Terminal/Tray: See Terminal Repair Kit
  • Core/Insulation Crimp: See Terminal Repair Kit
  • Release Tool/Test Probe: See Terminal Repair Kit

X162 Engine Harness to the Injector Harness (LNF)

Pin

Wire

Circuit

Function

Pin

Wire

Circuit

Function

1

1.0 BN

4801

Direct Fuel Injector (DFI) High Voltage Control Cylinder 1

1

1.0 BN

4801

Direct Fuel Injector (DFI) High Voltage Control Cylinder 1

2

1.0 D-BU

4802

Direct Fuel Injector (DFI) High Voltage Control Cylinder 2

2

1.0 D-BU

4802

Direct Fuel Injector (DFI) High Voltage Control Cylinder 2

3

1.0 D-GN

4803

Direct Fuel Injector (DFI) High Voltage Control Cylinder 3

3

1.0 D-GN

4803

Direct Fuel Injector (DFI) High Voltage Control Cylinder 3

4

1.0 L-BU

4804

Direct Fuel Injector (DFI) High Voltage Control Cylinder 4

4

1.0 L-BU

4804

Direct Fuel Injector (DFI) High Voltage Control Cylinder 4

5

0.35 TN

808

Low Reference

5

0.5 TN

808

Low Reference

6

--

--

Not Used

6

--

--

Not Used

7

1.0 BN/WH

4901

Direct Fuel Injector (DFI) High Voltage Supply Cylinder 1

7

1.0 BN/WH

4901

Direct Fuel Injector (DFI) High Voltage Supply Cylinder 1

8

1.0 D-BU/WH

4902

Direct Fuel Injector (DFI) High Voltage Supply Cylinder 2

8

1.0 D-BU/WH

4902

Direct Fuel Injector (DFI) High Voltage Supply Cylinder 2

9

1.0 D-GN/WH

4903

Direct Fuel Injector (DFI) High Voltage Supply Cylinder 3

9

1.0 D-GN/WH

4903

Direct Fuel Injector (DFI) High Voltage Supply Cylinder 3

10

1.0 L-BU/WH

4904

Direct Fuel Injector (DFI) High Voltage Supply Cylinder 4

10

1.0 L-BU/WH

4904

Direct Fuel Injector (DFI) High Voltage Supply Cylinder 4

11

0.35 GY

598

5-Volt Reference

11

0.5 GY

598

5-Volt Reference

12

0.35 YE

2918

FRP Sensor Signal

12

0.5 YE

2918

FRP Sensor Signal

X170 Body Harness to the Right Front Wheel Speed Sensor Harness (JM4)


Object Number: 1625659  Size: CH

Object Number: 1625662  Size: CH

Connector Part Information

  • OEM: E-3550-000
  • Service: 89046838
  • Description: 2-Way F 1.5 mm Sealed (BK)

Connector Part Information

  • OEM: E-3385
  • Service: 88988344
  • Description: 2-Way M 1.5 mm Sealed (BK)

Terminal Part Information

  • Terminal/Tray: 7116-4102-08/9
  • Core/Insulation Crimp: E/1
  • Release Tool/Test Probe: 12094430/J-35616-2A (GY)

Terminal Part Information

  • Terminal/Tray: See Terminal Repair Kit
  • Core/Insulation Crimp: See Terminal Repair Kit
  • Release Tool/Test Probe: See Terminal Repair Kit

X170 Body Harness to the Right Front Wheel Speed Sensor Harness (JM4/JL4)

Pin

Wire

Circuit

Function

Pin

Wire

Circuit

Function

1

0.5 D-GN

872

Right Front Wheel Speed Sensor Signal

1

0.8 D-GN

872

Right Front Wheel Speed Sensor Signal

2

0.5 TN

833

Right Front Wheel Speed Sensor Low Reference

2

0.8 TN

833

Right Front Wheel Speed Sensor Low Reference

X171 Body Harness to the Left Front Wheel Speed Sensor Harness (JM4/JL4)


Object Number: 1625659  Size: CH

Object Number: 1625662  Size: CH

Connector Part Information

  • OEM: E-3550-000
  • Service: 89046838
  • Description: 2-Way F 1.5 mm Sealed (BK)

Connector Part Information

  • OEM: E-3385
  • Service: 88988344
  • Description: 2-Way M 1.5 mm Sealed (BK)

Terminal Part Information

  • Terminal/Tray: See Terminal Repair Kit
  • Core/Insulation Crimp: See Terminal Repair Kit
  • Release Tool/Test Probe: See Terminal Repair Kit

Terminal Part Information

  • Terminal/Tray: See Terminal Repair Kit
  • Core/Insulation Crimp: See Terminal Repair Kit
  • Release Tool/Test Probe: See Terminal Repair Kit

X171 Body Harness to the Left Front Wheel Speed Sensor Harness (JM4/JL4)

Pin

Wire

Circuit

Function

Pin

Wire

Circuit

Function

1

0.8 D-GN

872

Left Front Wheel Speed Sensor Signal

1

0.8 D-GN

872

Left Front Wheel Speed Sensor Signal

2

0.5 YE

873

Left Front Wheel Speed Sensor Low Reference

2

0.8 TN

833

Left Front Wheel Speed Sensor Low Reference

X200 Body Harness to the I/P Harness


Object Number: 1625664  Size: CH

Object Number: 1625666  Size: CH

Connector Part Information

  • OEM: E-3587-001
  • Service: 88988780
  • Description: 16-Way F 1.5 mm (BK)

Connector Part Information

  • OEM: E-3590-001
  • Service: 88988782
  • Description: 16-Way M 1.5 mm Sealed (BK)

Terminal Part Information

  • Pins: 1-8, 11-15
  • Terminal/Tray: 7116-4100-08/9
  • Core/Insulation Crimp: E/C
  • Release Tool/Test Probe: 12094430/J-35616-2A (GY)
  • Pins: 9, 10
  • Terminal/Tray: 7116-4101-08/9
  • Core/Insulation Crimp: See Terminal Repair Kit
  • Release Tool/Test Probe: 12094430/J-35616-2A (GY)

Terminal Part Information

  • Pins: 1-15
  • Terminal/Tray: 7114-4100-08/9
  • Core/Insulation Crimp: E/C
  • Release Tool/Test Probe: 15315247/J-35616-3 (GY)

X200 Body Harness to the I/P Harness

Pin

Wire

Circuit

Function

Pin

Wire

Circuit

Function

1

0.35 PK/BK

2062

Cellular Telephone Voice Signal (UE1)

1

0.35 PK/BK

2062

Cellular Telephone Voice Signal (UE1)

2

0.35 OG/BK

2061

Cellular Telephone Voice Low Reference (UE1)

2

0.35 OG/BK

2061

Cellular Telephone Voice Low Reference (UE1)

3

0.5 Bare

813

Drain Wire (UE1)

3

0.5 Bare

813

Drain Wire (UE1)

4

0.5 RD/WH

1340

Battery Positive Voltage (U2K)

4

0.5 RD/WH

1340

Battery Positive Voltage (U2K)

5

0.35 TN/WH

372

Audio Common (U2K)

5

0.35 TN/WH

372

Audio Common (U2K)

6

0.5 Bare

814

Drain Wire (U2K)

6

0.5 Bare

814

Drain Wire (U2K)

7

0.35 BN/WH

367

Left Audio Signal (+) (U2K)

7

0.35 BN/WH

367

Left Audio Signal (+) (U2K)

8

0.35 D-GN/WH

368

Right Audio Signal (+) (U2K)

8

0.35 D-GN/WH

368

Right Audio Signal (+) (U2K)

9

0.35 D-GN

117

Right Front Speaker Output (-) (UW5)

9

0.35 D-GN

117

Right Front Speaker Output (-) (UW5)

0.35 D-GN

117

Right Front Speaker Output (-) (UW5)

10

0.35 L-GN

200

Right Front Speaker Output (+) (UW5)

10

0.35 L-GN

200

Right Front Speaker Output (+) (UW5)

0.35 L-GN

200

Right Front Speaker Output (+) (UW5)

11

0.35 L-BU

115

Right Rear Speaker Output (-) (UW5)

11

0.5 L-BU

115

Right Front Speaker Output (+) (UW5)

12

0.35 D-BU

46

Right Rear Speaker Output (+) (UW5)

12

0.5 D-BU

46

Right Rear Speaker Output (+) (UW5)

13

0.35 PK/BK

1503

Passenger Heated Seat High/Low Signal (KA1)

13

0.35 PK/BK

1503

Passenger Heated Seat High/Low Signal (KA1)

14

0.35 TN

1686

Passenger Heated Seat Low Temperature Indicator Control (KA1)

14

0.35 TN

1686

Passenger Heated Seat Low Temperature Indicator Control (KA1)

15

0.35 YE

1685

Passenger Heated Seat High Temperature Indicator Control (KA1)

15

0.35 YE

1685

Passenger Heated Seat High Temperature Indicator Control (KA1)

16

--

--

Not Used

16

--

--

Not Used

X203 Body Harness to the I/P Harness


Object Number: 1480294  Size: CH

Object Number: 1243534  Size: CH

Connector Part Information

  • OEM: 15448129
  • Service: 15359287
  • Description: 40-Way F GT (BK)

Connector Part Information

  • OEM: 15416976
  • Service: 89047197
  • Description: 40-Way M GT Unsealed (BK)

Terminal Part Information

  • Pins: A1-A8, B1-B6, B8-B12, C1-C9, C11, D1-D6, D8
  • Terminal/Tray: See Terminal Repair Kit
  • Core/Insulation Crimp: See Terminal Repair Kit
  • Release Tool/Test Probe: See Terminal Repair Kit

Terminal Part Information

  • Pins: A1, A2, A7, A8, B1-B6, B8-B12, D8, C1, C2, C5-C9, C11, D1, D2
  • Terminal/Tray: 15304702/19
  • Core/Insulation Crimp: Pins: A7, B4, D8 : E/4
  • Core/Insulation Crimp: Pins: A1, A2, A8, B1-B3, B5, B6, B8-B12, C1, C2, C5-C9, C11, D1, D2 : E/C
  • Release Tool/Test Probe: 15315247/J-35616-3 (GY)
  • Pins: A3, A5, A6, D3, D4
  • Terminal/Tray: 15304722/8
  • Core/Insulation Crimp: E/C
  • Release Tool/Test Probe: 15315247/J-35616-5 (PU)
  • Pins: A4, D5, D6
  • Terminal/Tray: 15304724/8
  • Core/Insulation Crimp: See Terminal Repair Kit
  • Release Tool/Test Probe: 15315247/J-35616-5 (PU)
  • Pins: C3, C4
  • Terminal/Tray: See Terminal Repair Kit
  • Core/Insulation Crimp: See Terminal Repair Kit
  • Release Tool/Test Probe: See Terminal Repair Kit

X203 Body Harness to the I/P Harness

Pin

Wire

Circuit

Function

Pin

Wire

Circuit

Function

A1

0.35 L-BU

1162

Accelerator Pedal Position (2) Signal

A1

0.35 L-BU

1162

Accelerator Pedal Position (2) Signal

A2

0.35 D-BU

1161

Accelerator Pedal Position (1) Signal

A2

0.35 D-BU

1161

Accelerator Pedal Position (1) Signal

A3

0.35 WH/BK

1164

5-Volt Reference

A3

0.35 WH/BK

1164

5-Volt Reference

A4

0.8 RD/WH

40

Battery Positive Voltage

A4

0.8 RD/WH

40

Battery Positive Voltage

0.8 RD/WH

40

Battery Positive Voltage

A5

0.35 D-BU/WH

7361

Manual Transmission Clutch Position Sensor Supply (M86)

A5

0.35 D-BU/WH

7361

Manual Transmission Clutch Position Sensor Supply (M86)

0.35 GY

2709

5-Volt Reference (MU3)

0.5 GY

2709

5-Volt Reference (MU3)

0.35 GY

2709

5-Volt Reference (MU3)

A6

0.35 GY

1056

Steering Wheel Position Sensor 5V Reference Voltage (JL4)

A6

0.35 GY

1056

Steering Wheel Position Sensor 5V Reference Voltage (JL4)

A7

0.35 L-GN

6338

Manual Transmission Clutch Position Sensor Signal Position (M86/MU3)

A7

0.35 L-GN

6338

Manual Transmission Clutch Position Sensor Signal Position (M86/MU3)

A8

0.35 OG/D-GN

7360

Manual Transmission Clutch Position Sensor Return (M86)

A8

0.35 OG/D-GN

7360

Manual Transmission Clutch Position Sensor Return (M86)

0.35 TN

2759

Low Reference (MU3)

0.5 TN

2759

Low Reference (MU3)

B1

0.35 PU

1272

Low Reference

B1

0.35 PU

1272

Low Reference

B2

0.35 BN

1271

Low Reference

B2

0.35 BN

1271

Low Reference

B3

0.35 TN

1274

5-Volt Reference

B3

0.35 TN

1274

5-Volt Reference

B4

0.5 RD/WH

140

Battery Positive Voltage

B4

0.5 RD/WH

140

Battery Positive Voltage

B5

0.35 TN/BK

2500

High Speed GMLAN Serial Data Bus (+)

B5

0.35 TN/BK

2500

High Speed GMLAN Serial Data Bus (+)

B6

0.35 TN

2501

High Speed GMLAN Serial Data Bus (-)

B6

0.35 TN

2501

High Speed GMLAN Serial Data Bus (-)

B7

0.35 L-BU

1788

Traction Control Switch Signal (JL4/JL9)

B7

0.35 L-BU

1788

Traction Control Switch Signal (JL4/JL9)

B8

0.35 YE

43

Window Switch Power

B8

0.35 YE

43

Window RAP Power

B9

0.35 PK

353

I/P Module Suppression Indicator Control

B9

0.35 PK

353

I/P Module Suppression Indicator Control

0.35 TN/BK

6658

Right Rear Door Unlatch Switch Signal (Panel Van)

0.35 TN/BK

6658

Right Rear Door Unlatch Switch Signal (Panel Van)

B10

0.35 PK

1501

Driver Heated Seat High/Low Signal (KA1)

B10

0.35 PK

1501

Driver Heated Seat High/Low Signal (KA1)

B11

0.35 L-BU

1662

Driver Heated Seat Low Indicator Control (KA1)

B11

0.35 L-BU

1662

Driver Heated Seat Low Indicator Control (KA1)

B12

0.35 D-GN

1661

Driver Heated Seat High Indicator Control (KA1)

B12

0.35 D-GN

1661

Driver Heated Seat High Indicator Control (KA1)

C1

0.35 BN/WH

419

MIL Control

C1

0.35 BN/WH

419

MIL Control

C2

0.35 PK

314

Radio On Signal (UQ3)

C2

0.35 PK

314

Radio On Signal (UQ3)

C3

0.35 YE

116

Left Rear Speaker Output (-) (UW5)

C3

0.5 YE

116

Left Rear Speaker Output (-) (UW5)

0.35 L-GN

1948

Right Front Low Level Audio Signal (-) (UQ3)

0.35 L-GN

1948

Right Front Low Level Audio Signal (-) (UQ3)

C4

0.35 BN

199

Left Rear Speaker Output (+) (UW5)

C4

0.5 BN

199

Left Rear Speaker Output (+) (UW5)

0.35 L-GN/WH

512

Right Front Low Level Audio Signal (+) (UQ3)

0.35 L-GN/WH

512

Right Front Low Level Audio Signal (+) (UQ3)

C5

0.35 BN

1999

Left Rear Low Level Audio Signal (-) (UQ3)

C5

0.35 BN

1999

Left Rear Low Level Audio Signal (-) (UQ3)

C6

0.35 BN/WH

599

Left Rear Low Level Audio Signal (+) (UQ3)

C6

0.35 BN/WH

599

Left Rear Low Level Audio Signal (+) (UQ3)

C7

0.35 TN

1946

Right Rear Low Level Audio Signal (-) (UQ3)

C7

0.35 TN

1946

Right Rear Low Level Audio Signal (-) (UQ3)

C8

0.35 D-BU

546

Right Rear Low Level Audio Signal (+) (UQ3)

C8

0.35 D-BU

546

Right Rear Low Level Audio Signal (+) (UQ3)

C9

0.35 L-GN

1011

Remote Radio Control Signal (UQ3)

C9

0.35 L-GN

1011

Remote Radio Control Signal (UQ3)

C10

0.35 L-GN/WH

5702

Door Latch Motor Control (Panel Van)

C10

0.35 L-GN/WH

5702

Door Latch Motor Control (Panel Van)

C11

0.35 D-GN

5060

Low Speed GMLAN Serial Data (ASF)

C11

0.35 D-GN

5060

Low Speed GMLAN Serial Data (ASF)

C12

0.35 OG/BK

556

Steering Wheel Position Sensor Low Reference (JL4)

C12

0.35 OG/BK

556

Steering Wheel Position Sensor Low Reference (JL4)

D1

0.35 PK/WH

1970

Headlamp Low Beam Relay Control

D1

0.35 PK/WH

1970

Headlamp Low Beam Relay Control

D2

0.35 L-GN

1715

Windshield Wiper Switch High Signal

D2

0.35 L-GN

1715

Windshield Wiper Switch High Signal

D3

0.5 PK/BK

6434

CAN Bus High #2 Serial Data (JL4)

D3

0.5 PK/BK

6434

CAN Bus High #2 Serial Data (JL4)

0.5 PK/BK

6434

CAN Bus High #2 Serial Data (JL4)

D4

0.5 GY/BK

6435

CAN Bus Low #2 Serial Data (JL4)

D4

0.5 GY/BK

6435

CAN Bus Low #2 Serial Data (JL4)

0.5 GY/BK

6435

CAN Bus Low #2 Serial Data (JL4)

D5

0.35 GY

118

Left Front Speaker Output (-) (UW5)

D5

0.35 GY

118

Left Front Speaker Output (-) (UW5)

0.35 GY

118

Left Front Speaker Output (-) (UW5)

0.35 D-GN

1947

Left Front Low Level Audio Signal (-) (UQ3)

0.35 D-GN

1947

Left Front Low Level Audio Signal (-) (UQ3)

D6

0.35 TN

201

Left Front Speaker Output (+) (UW5)

D6

0.35 TN

201

Left Front Speaker Output (+) (UW5)

0.35 TN

201

Left Front Speaker Output (+) (UW5)

0.35 TN

511

Left Front Low Level Audio Signal (+) (UQ3)

0.35 TN

511

Left Front Low Level Audio Signal (+) (UQ3)

D7

0.5 D-GN/WH

1932

Ignition Lock Cylinder Control Actuator Signal (MN5)

D7

0.35 D-GN/WH

1932

Ignition Lock Cylinder Control Actuator Signal (MN5)

D8

0.35 L-GN/BK

5703

Driver Door Latch Enable Control (Panel Van)

D8

0.35 L-GN/BK

5703

Driver Door Latch Enable Control (Panel Van)

X206 A-Pillar Harness to the I/P Harness


Object Number: 1552606  Size: CH

Object Number: 1552603  Size: CH

Connector Part Information

  • OEM: E-03507-001
  • Service: 88986063
  • Description: 4-Way F GT 2.8 mm Series (BK)

Connector Part Information

  • OEM: E-3504-001
  • Service: 88988137
  • Description: 4-Way M GT 2.8 mm Series (BK)

Terminal Part Information

  • Terminal/Tray: Service as Harness
  • Core/Insulation Crimp: N/A
  • Release Tool/Test Probe: N/A

Terminal Part Information

  • Terminal/Tray: See Terminal Repair Kit
  • Core/Insulation Crimp: See Terminal Repair Kit
  • Release Tool/Test Probe: See Terminal Repair Kit

X206 A-Pillar Harness to the I/P Harness

Pin

Wire

Circuit

Function

Pin

Wire

Circuit

Function

1

0.5 BK/WH

651

Ground

1

0.5 BK/WH

651

Ground

2

0.35 D-GN/RD

5060

Low Speed GMLAN Serial Data

2

0.35 D-GN/RD

5060

Low Speed GMLAN Serial Data

3

0.35 PK

314

Radio On Signal

3

0.35 PK

314

Radio On Signal

0.35 PK

314

Radio On Signal (UQ3)

4

0.5 RD/WH

1140

Battery Positive Voltage

4

0.5 RD/WH

1140

Battery Positive Voltage

X207 I/P Harness to Driver Information Center Jumper Harness (LNF without UAF)


Object Number: 646374  Size: CH

Object Number: 715111  Size: CH

Connector Part Information

  • OEM:15332145
  • Service: 15306407
  • Description: 8-Way F GT 150 Series (BK)

Connector Part Information

  • OEM: 15332150
  • Service: 88986250
  • Description: 8-Way M GT 150 Series (BK)

Terminal Part Information

  • Terminal/Tray:12191812/ 19
  • Core/Insulation Crimp: E/C
  • Release Tool/Test Probe: 15315247/J-35616-2A (GY)

Terminal Part Information

  • Terminal/Tray:1530470/ 19
  • Core/Insulation Crimp: E/C
  • Release Tool/Test Probe: 15315247/J-35616-3 (GY)

X207 I/P Harness to Driver Information Center Jumper Harness (LNF without UAF)

Pin

Wire

Circuit

Function

Pin

Wire

Circuit

Function

A

0.35 TN/BK

2500

High-Speed GMLAN Serial Data Bus (+)

A

0.35 TN/BK

2500

High-Speed GMLAN Serial Data Bus (+)

B

0.35 TN

2501

Low Speed GMLAN Serial Data Bus (-)

B

0.35 TN

2501

Low Speed GMLAN Serial Data Bus (-)

C-D

--

--

Not Used

C-D

--

--

Not Used

E

0.35 TN/BK

2500

High-Speed GMLAN Serial Data Bus (+)

E

0.35 TN/BK

2500

High-Speed GMLAN Serial Data Bus (+)

F

0.35 TN

2501

Low Speed GMLAN Serial Data Bus (-)

F

0.35 TN

2501

Low Speed GMLAN Serial Data Bus (-)

X210 I/P Harness to the HVAC Jumper Harness


Object Number: 695495  Size: CH

Object Number: 646366  Size: CH

Connector Part Information

  • OEM: 15326870
  • Service: 88953160
  • Description: 2-Way F GT 280 Series (BK)

Connector Part Information

  • OEM: 15326874
  • Service: 15306379
  • Description: 2-Way M GT 280 Series (BK)

Terminal Part Information

  • Terminal/Tray: 15304713/19
  • Core/Insulation Crimp: F/D
  • Release Tool/Test Probe: 15315247/J-35616-4A (PU)

Terminal Part Information

  • Terminal/Tray: See Terminal Repair Kit
  • Core/Insulation Crimp: See Terminal Repair Kit
  • Release Tool/Test Probe: See Terminal Repair Kit

X210 I/P Harness to the HVAC Jumper Harness

Pin

Wire

Circuit

Function

Pin

Wire

Circuit

Function

A

3.0 BK

550

Ground

A

3.0 BK

550

Ground

B

3.0 BN

141

Run Ignition 3 Voltage

B

3.0 BN

141

Run Ignition 3 Voltage

X211 Inflatable Restraint I/P Harness to the Body Harness


Object Number: 1625668  Size: CH

Object Number: 1625670  Size: CH

Connector Part Information

  • OEM:19153435
  • Service: 88988342
  • Description: 4-Way F 1.5 mm Sealed (YE)

Connector Part Information

  • OEM: E-2361-000
  • Service: 88988343
  • Description: 4-Way M Sealed (YE)

Terminal Part Information

  • Terminal/Tray: Service as Pigtail
  • Core/Insulation Crimp: N/A
  • Release Tool/Test Probe: N/A

Terminal Part Information

  • Terminal/Tray: Service as Pigtail
  • Core/Insulation Crimp: N/A
  • Release Tool/Test Probe: N/A

X211 Inflatable Restraint I/P Harness to the Body Harness

Pin

Wire

Circuit

Function

Pin

Wire

Circuit

Function

1

0.5 OG

3024

I/P Module Stage 1 Low Control

1

0.5 OG

3024

I/P Module Stage 1 Low Control

2

0.5 YE

3025

I/P Module Stage 1 High Control

2

0.5 YE

3025

I/P Module Stage 1 High Control

3

--

--

Not Used

3

--

--

Not Used

4

0.5 PU

3026

I/P Module Stage 2 Low Control

3

0.5 PU

3026

I/P Module Stage 2 Low Control

5

0.5 GY

3027

I/P Module Stage 2 High Control

4

0.5 GY

3027

I/P Module Stage 2 High Control

X221 Body Harness to Left I/P Jumper Harness (Panel Van)


Object Number: 1552606  Size: CH

Object Number: 1552603  Size: CH

Connector Part Information

  • OEM: E-3507-002
  • Service: 19115610
  • Description: 4-Way F 2.8 mm Series (BK)

Connector Part Information

  • OEM: E-3504-002
  • Service: 19153216
  • Description: 4-Way M 2.8 mm Series (BK)

Terminal Part Information

  • Terminal/Tray: 7114-4110-02/9
  • Core/Insulation Crimp: E/C
  • Release Tool/Test Probe: 12094430/J-35616-35 (VT)

Terminal Part Information

  • Terminal/Tray: 7114-4110-02/9
  • Core/Insulation Crimp: E/C
  • Release Tool/Test Probe: 12094430/J-35616-35 (VT)

X221 Body Harness to Left I/P Jumper Harness (Panel Van)

Pin

Wire

Circuit

Function

Pin

Wire

Circuit

Function

1

0.35 L-BU/BK

6656

Rear Access Panel Release Switch Signal - Left Rear

1

0.35 L-BU/BK

6656

Rear Access Panel Release Switch Signal - Left Rear

2

0.35 GY

8

Instrument Panel Lamps Dimmer Switch Signal

2

0.35 GY

8

Instrument Panel Lamps Dimmer Switch Signal

3

0.35 TN/BK

6658

Rear Access Panel Release Switch Signal - Right Rear

3

0.35 TN/BK

6658

Rear Access Panel Release Switch Signal - Right Rear

0.35 TN/BK

6658

Rear Access Panel Release Switch Signal - Right Rear

4

0.35 BK/WH

1251

Ground

4

0.35 BK/WH

1251

Ground

X222 Body Harness to Right I/P Jumper Harness (Panel Van)


Object Number: 1552606  Size: CH

Object Number: 1552603  Size: CH

Connector Part Information

  • OEM: E-3507-002
  • Service: 19115610
  • Description: 4-Way F 2.8 mm Series (BK)

Connector Part Information

  • OEM: E-3504-002
  • Service: 19153216
  • Description: 4-Way M 2.8 mm Series (BK)

Terminal Part Information

  • Terminal/Tray: 7114-4110-02/9
  • Core/Insulation Crimp: E/C
  • Release Tool/Test Probe: 12094430/J-35616-35 (VT)

Terminal Part Information

  • Terminal/Tray: 7114-4110-02/9
  • Core/Insulation Crimp: E/C
  • Release Tool/Test Probe: 12094430/J-35616-35 (VT)

X222 Body Harness to Right I/P Jumper Harness (Panel Van)

Pin

Wire

Circuit

Function

Pin

Wire

Circuit

Function

1

--

--

Not Used

1

--

--

Not Used

2

0.35 GY

8

Instrument Panel Lamps Dimmer Switch Signal

2

0.35 GY

8

Instrument Panel Lamps Dimmer Switch Signal

3

0.35 TN/BK

6658

Rear Access Panel Release Switch Signal - Right Rear

3

0.35 TN/BK

6658

Rear Access Panel Release Switch Signal - Right Rear

4

0.35 BK/WH

1551

Ground

4

0.35 BK/WH

1551

Ground

X314 Body Harness to the Passenger Seat Harness (KA1)


Object Number: 1554145  Size: CH

Object Number: 1625686  Size: CH

Connector Part Information

  • OEM: E-3575-001
  • Service: 88988108
  • Description: 8-Way F 1.5 mm Unsealed (BK)

Connector Part Information

  • OEM: E-3578-001
  • Service: Serviced by complete seat harness
  • Description: 8-Way M 1.5 mm Unsealed (BK)

Terminal Part Information

  • Pins: 2-4, 6
  • Terminal/Tray: 7116-4100-08/9
  • Core/Insulation Crimp: E/C
  • Release Tool/Test Probe: 12094430/J-35616-2A (GY)
  • Pins: 1, 5
  • Terminal/Tray: 7116-4101-08/9
  • Core/Insulation Crimp: E/A
  • Release Tool/Test Probe: 12094430/J-35616-2A (GY)

Terminal Part Information

  • Pins: 1-6
  • Terminal/Tray: See Terminal Repair Kit
  • Core/Insulation Crimp: See Terminal Repair Kit
  • Release Tool/Test Probe: See Terminal Repair Kit

X314 Body Harness to the Passenger Seat Harness (KA1)

Pin

Wire

Circuit

Function

Pin

Wire

Circuit

Function

1

0.8 BK

1550

Ground

1

0.8 BK

1550

Ground

2

0.35 PK/BK

1503

Passenger Heated Seat High/Low Signal

2

0.35 PK/BK

1503

Passenger Heated Seat High/Low Signal

3

0.35 TN

1686

Passenger Heated Seat Low Temperature Indicator Control

3

0.35 D-BU/WH

1686

Passenger Heated Seat Low Temperature Indicator Control

4

0.35 YE

1685

Passenger Heated Seat High Temperature Indicator Control

4

0.35 BN/WH

1685

Passenger Heated Seat High Temperature Indicator Control

5

1.0 RD/WH

340

Battery Positive Voltage

5

1.0 RD/WH

340

Battery Positive Voltage

6

0.5 PK

1639

Ignition 1 Voltage

6

0.35 PK

1639

Run/Crank Ignition 1 Voltage

7-8

--

--

Not Used

7-8

--

--

Not Used

X315 Body Harness to the Driver Seat Harness


Object Number: 1625691  Size: CH

Object Number: 1625693  Size: CH

Connector Part Information

  • OEM: E-4411-001
  • Service: 89047203
  • Description: 12-Way F 2.8 mm Unsealed (BK)

Connector Part Information

  • OEM: E-4402-001
  • Service: Service by complete seat harness
  • Description: 12-Way M Unsealed (BK)

Terminal Part Information

  • Pins: 1, 5, 7
  • Terminal/Tray: 1326030-8/17
  • Core/Insulation Crimp: Pins: 1, 5 : A/4
  • Core/Insulation Crimp: Pins: 7 : 4/D
  • Release Tool/Test Probe: 12094429/J-35616-4A (PU)
  • Pins: 2-4, 6
  • Terminal/Tray: 1326030-6/17
  • Core/Insulation Crimp: Pins: 2, 3, 4 : E/C
  • Core/Insulation Crimp: Pins: 6 : E/2
  • Release Tool/Test Probe: 12094429/J-35616-4A (PU)

Terminal Part Information

  • Pins: 1-7
  • Terminal/Tray: See Terminal Repair Kit
  • Core/Insulation Crimp: See Terminal Repair Kit
  • Release Tool/Test Probe: See Terminal Repair Kit

X315 Body Harness to the Driver Seat Harness

Pin

Wire

Circuit

Function

Pin

Wire

Circuit

Function

1

3.0 BK

1250

Ground (KA1/AJ6)

1

2.0 BK

1250

Ground (KA1/AJ6)

2

0.35 PK

1501

Driver Heated Seat High/Low Signal (KA1)

2

0.35 PK

1501

Driver Heated Seat High/Low Signal (KA1)

3

0.35 L-BU

1662

Driver Heated Seat Low Temperature Indicator Control (KA1)

3

0.35 L-BU

1662

Driver Heated Seat Low Temperature Indicator Control (KA1)

4

0.35 D-GN

1661

Driver Heated Seat High Temperature Indicator Control (KA1)

4

0.35 D-GN

1661

Driver Heated Seat High Temperature Indicator Control (KA1)

5

1.0 RD/WH

340

Battery Positive Voltage (KA1)

5

1.0 RD/WH

340

Battery Positive Voltage (KA1)

6

0.35 PK

1639

Ignition 1 Voltage (KA1)

6

0.5 PK

1639

Run/Crank Ignition 1 Voltage (KA1)

7

2.0 RD/BK

342

Battery Positive Voltage (AJ6)

7

3.0 RD/BK

342

Battery Positive Voltage (AJ6)

8-12

--

--

Not Used

8-12

--

--

Not Used

X316 Body Harness to the Passenger Seat Harness


Object Number: 1626506  Size: CH

Object Number: 1626519  Size: CH

Connector Part Information

  • OEM: E-3425-001
  • Service: 88988346
  • Description: 8-Way F 110 Series Unsealed (BK)

Connector Part Information

  • OEM: E-3421
  • Service: 88988345
  • Description: 8-Way M 2.8 mm Unsealed (BK)

Terminal Part Information

  • Terminal/Tray: 7116-4110-02/9
  • Core/Insulation Crimp: E/C
  • Release Tool/Test Probe: 12094430/J-35616-4A (PU)

Terminal Part Information

  • Terminal/Tray: See Terminal Repair Kit
  • Core/Insulation Crimp: See Terminal Repair Kit
  • Release Tool/Test Probe: See Terminal Repair Kit

X316 Body Harness to the Passenger Seat Harness

Pin

Wire

Circuit

Function

Pin

Wire

Circuit

Function

1

0.35 PK

1339

Ignition 1 Voltage

1

0.35 PK

1339

Ignition 1 Voltage

2

0.35 TN/BK

723

Module Enable Signal (ASF)

2

0.35 TN/BK

723

Module Enable Signal (ASF)

3

0.35 PK

353

Module Suppression Indicator Control (ASF)

3

0.35 PK

353

Module Suppression Indicator Control (ASF)

4

0.35 PK

915

14-Volt Reference (ASF)

4

0.35 PK

915

14-Volt Reference (ASF)

5

0.35 YE

914

Low Reference (ASF)

5

0.35 YE

914

Low Reference (ASF)

6

0.35 D-BU

913

Passenger Seat Belt Tension Sensor Signal (ASF)

6

0.35 BU

913

Passenger Seat Belt Tension Sensor Signal (ASF)

7

0.35 PK

5018

Occupant Sensor Serial Data (ASF)

7

0.35 PK

5018

Occupant Sensor Serial Data (ASF)

8

0.35 BK/WH

1551

Ground

8

0.35 BK/WH

1551

Ground

X319 Driver Seat Harness to the Driver Power Seat Jumper Harness (AJ6)


Object Number: 845625  Size: CH

Object Number: 1626541  Size: CH

Connector Part Information

  • OEM: 7282-5560-40
  • Service: Service by complete seat harness
  • Description: 8-Way F 2.8 mm/0.11 inch (GY)

Connector Part Information

  • OEM: 7283-5560-40
  • Service: Service by complete seat harness
  • Description: 8-Way M 2.8 mm/0.11 inch (GY)

Terminal Part Information

  • Terminal/Tray: See Terminal Repair Kit
  • Core/Insulation Crimp: See Terminal Repair Kit
  • Release Tool/Test Probe: See Terminal Repair Kit

Terminal Part Information

  • Terminal/Tray: See Terminal Repair Kit
  • Core/Insulation Crimp: See Terminal Repair Kit
  • Release Tool/Test Probe: See Terminal Repair Kit

X319 Driver Seat Harness to the Driver Power Seat Jumper Harness (AJ6)

Pin

Wire

Circuit

Function

Pin

Wire

Circuit

Function

1

2.0 D-BU

287

Driver Seat Front Vertical Motor Up Control

1

2.0 D-BU

287

Driver Seat Front Vertical Motor Up Control

2

2.0 BK

1250

Ground

2

2.0 BK

1250

Ground

3

2.0 TN

285

Driver Seat Horizontal Motor Forward Control

3

2.0 BN

285

Driver Seat Horizontal Motor Forward Control

4

2.0 RD/BK

342

Battery Positive Voltage

4

2.0 RD/BK

342

Battery Positive Voltage

5

2.0 L-BU

283

Driver Seat Rear Vertical Motor Down Control

5

2.0 L-BU

283

Driver Seat Rear Vertical Motor Down Control

6

2.0 L-GN

284

Driver Seat Horizontal Motor Rearward Control

6

2.0 L-GN

284

Driver Seat Horizontal Motor Rearward Control

7

2.0 YE

282

Driver Seat Rear Vertical Motor Up Control

7

2.0 YE

282

Driver Seat Rear Vertical Motor Up Control

8

2.0 D-GN

286

Driver Seat Front Vertical Motor Down Control

8

2.0 D-GN

286

Driver Seat Front Vertical Motor Down Control

X397 Headliner Harness to the Sunroof Harness (CF5)


Object Number: 1625691  Size: CH

Object Number: 1625693  Size: CH

Connector Part Information

  • OEM: E-4402-001
  • Service: 89047203
  • Description: 12-Way F 2.8 mm Series Unsealed (BK)

Connector Part Information

  • OEM: E-4411-001
  • Service: Serviced by complete sunroof harness
  • Description: 12-Way M Unsealed (BK)

Terminal Part Information

  • Pins: 1, 8
  • Terminal/Tray: 1326030-8/17
  • Core/Insulation Crimp: A/4
  • Release Tool/Test Probe: 12094429/J-35616-4A (PU)
  • Pins: 2-7, 9
  • Terminal/Tray: 1326030-6/17
  • Core/Insulation Crimp: E/C
  • Release Tool/Test Probe: 12094429/J-35616-4A (PU)

Terminal Part Information

  • Terminal/Tray: See Terminal Repair Kit
  • Core/Insulation Crimp: See Terminal Repair Kit
  • Release Tool/Test Probe: See Terminal Repair Kit

X397 Headliner Harness to the Sunroof Harness (CF5)

Pin

Wire

Circuit

Function

Pin

Wire

Circuit

Function

1

2.0 RD/WH

540

Battery Positive Voltage

1

2.0 RD/WH

540

Battery Positive Voltage

2

0.35 L-BU

5027

Sunroof Switch Close Signal

2

0.35 L-BU

5027

Sunroof Switch Close Signal

3

0.35 BN

5028

Sunroof Switch Express Signal

3

0.35 BN

5028

Sunroof Switch Express Signal

4

0.35 OG

5029

Sunroof Switch Open Signal

4

0.35 OG

5029

Sunroof Switch Open Signal

5

0.35 L-GN

5030

Sunroof Switch Close Vent Signal

5

0.35 L-GN

5030

Sunroof Switch Close Vent Signal

6

0.35 PK

5031

Sunroof Switch Express Vent Signal

6

0.35 PK

5031

Sunroof Switch Express Vent Signal

7

0.35 PU

5032

Sunroof Switch Open Vent Signal

7

0.35 PU

5032

Sunroof Switch Open Vent Signal

8

1.0 BK

750

Ground

8

2.0 BK

750

Ground

0.35 WH/GN

945

Ground

9

0.35 TN

755

RAP Relay Coil Control

9

0.35 TN

755

RAP Relay Coil Control

10

--

--

Not Used

10

0.35 WH/RD

943

Config 1

11

--

--

Not Used

11

0.35 WH/BU

944

Config 2

12

--

--

Not Used

12

0.35 WH/GN

945

Config 3

X401 EVAP Canister Purge, Rear Wheel Speed Sensor, and Fuel Controls Harness to Body Harness


Object Number: 1540790  Size: CH

Object Number: 646362  Size: CH

Connector Part Information

  • OEM: 13518322
  • Service: 15305883
  • Description: 4-Way F Metri-Pack 150 Series (GY)

Connector Part Information

  • OEM: 15326715
  • Service: 15326715
  • Description: 16-Way M Metri-Pack Mixed Series (GY)

Terminal Part Information

  • Terminal/Tray: See Terminal Repair Kit
  • Core/Insulation Crimp: See Terminal Repair Kit
  • Release Tool/Test Probe: See Terminal Repair Kit

Terminal Part Information

  • Terminal/Tray: See Terminal Repair Kit
  • Core/Insulation Crimp: See Terminal Repair Kit
  • Release Tool/Test Probe: See Terminal Repair Kit

Connector Part Information

  • OEM: 12162144
  • Service: 12102741
  • Description: 4-Way F Metri-Pack 150 Series (BK)

Terminal Part Information

  • Terminal/Tray: See Terminal Repair Kit
  • Core/Insulation Crimp: See Terminal Repair Kit
  • Release Tool/Test Probe: See Terminal Repair Kit

Connector Part Information

  • OEM: 15317611
  • Service: 15306064
  • Description: 8-Way F Metri-Pack 280 Series (GY)

Terminal Part Information

  • Terminal/Tray: See Terminal Repair Kit
  • Core/Insulation Crimp: See Terminal Repair Kit
  • Release Tool/Test Probe: See Terminal Repair Kit

X401 EVAP Canister Purge, Rear Wheel Speed Sensor, and Fuel Controls Harness to Body Harness

Pin

Wire

Circuit

Function

Pin

Wire

Circuit

Function

A

0.5 RD/WH

1640

Battery Positive Voltage (LE8/LE9)

1A

0.5 RD/WH

1640

Battery Positive Voltage (LE8/LE9)

B

0.5 WH

1310

EVAP Canister Vent Solenoid Control

1B

0.5 WH

1310

EVAP Canister Vent Solenoid Control

C-D

--

--

Not Used

1C-1D

--

--

Not Used

A

0.8 BN

882

Right Rear Wheel Speed Sensor Signal (JL4/JL9)

2A

0.5 BN

882

Right Rear Wheel Speed Sensor Signal (JL4/JL9)

B

0.8 WH

883

Right Rear Wheel Speed Sensor Low Reference (JL4/JL9)

2B

0.5 WH

883

Right Rear Wheel Speed Sensor Low Reference (JL4/JL9)

C

0.8 TN

884

Left Rear Wheel Speed Sensor Signal (JL4/JL9)

2C

0.5 TN

884

Left Rear Wheel Speed Sensor Signal (JL4/JL9)

D

0.8 OG

885

Left Rear Wheel Speed Sensor Low Reference (JL4/JL9)

2D

0.5 OG

885

Left Rear Wheel Speed Sensor Low Reference (JL4/JL9)

A

1.0 BK

650

Ground

3A

0.8 BK

1450

Ground

B

0.5 OG

510

Low Reference

3B

0.35 TN

2759

Low Reference

C

1.0 GY

120

Fuel Pump Supply Voltage

3C

1.0 GY

120

Fuel Pump Supply Voltage

D

0.5 PU

1589

Fuel Level Sensor Signal (Primary)

3D

0.35 PU

1589

Fuel Level Sensor Signal (Primary)

E

--

--

Not Used

3E

--

--

Not Used

F

0.5 GY

2709

5-Volt Reference

3F

0.35 GY

2709

5-Volt Reference

G

0.5 D-GN

890

Fuel Tank Pressure Sensor Signal

3G

0.35 D-GN

890

Fuel Tank Pressure Sensor Signal

H

0.5 TN

2759

Low Reference

3H

0.35 TN

2759

Low Reference

0.35 TN

2759

Low Reference

X403 Battery Harness to the Body Harness


Object Number: 365960  Size: CH

Object Number: 1644503  Size: CH

Connector Part Information

  • OEM: 12160893
  • Service: 15306159
  • Description: 1-Way F MAXI (BK)

Connector Part Information

  • OEM: 12160894
  • Service: See Catalog
  • Description: 1-Way M MAXI (BK)

Terminal Part Information

  • Terminal/Tray: See Terminal Repair Kit
  • Core/Insulation Crimp: See Terminal Repair Kit
  • Release Tool/Test Probe: See Terminal Repair Kit

Terminal Part Information

  • Terminal/Tray: 12110700/24
  • Core/Insulation Crimp: G/3/5
  • Release Tool/Test Probe: 12150860/J-35616-45 (YE)

X403 Battery Harness to the Body Harness

Pin

Wire

Circuit

Function

Pin

Wire

Circuit

Function

A

8.0 RD

1

Battery Positive Voltage

A

5.0 RD

1

Battery Positive Voltage

X404 Body Harness to the Headliner Harness (UE1)


Object Number: 1552602  Size: CH

Object Number: 1626573  Size: CH

Connector Part Information

  • OEM: E-3140-001
  • Service: 89047398
  • Description: 20-Way F (BK)

Connector Part Information

  • OEM: E-3146-007
  • Service: 88988781
  • Description: 20-Way M (BK)

Terminal Part Information

  • Pins: 11
  • Terminal/Tray: 7116-4110-02/9
  • Core/Insulation Crimp: E/C
  • Release Tool/Test Probe: 12094430/J-35616-4A (PU)
  • Pins: 1-5, 7, 8, 12-15
  • Terminal/Tray: 7116-4100-08/9
  • Core/Insulation Crimp: E/C
  • Release Tool/Test Probe: 12094430/J-35616-2A (GY)
  • Pins: 6
  • Terminal/Tray: 7116-4101-08/9
  • Core/Insulation Crimp: E/A
  • Release Tool/Test Probe: 12094430/J-35616-2A (GY)
  • Pins: 10
  • Terminal/Tray: 7116-4112-02/9
  • Core/Insulation Crimp: C/D
  • Release Tool/Test Probe: 12094430/J-35616-35 (VT)

Terminal Part Information

  • Pins: 11
  • Terminal/Tray: 7114-4110-02/9
  • Core/Insulation Crimp: E/C
  • Release Tool/Test Probe: 12094430/J-35616-5 (PU)
  • Pins: 6
  • Terminal/Tray: 7114-4101-08/9
  • Core/Insulation Crimp: C/A
  • Release Tool/Test Probe: 15315247/J-35616-3 (GY)
  • Pins: 1-5, 7, 8, 12-15
  • Terminal/Tray: 7114-4100-08/9
  • Core/Insulation Crimp: E/C
  • Release Tool/Test Probe: 15315247/J-35616-3 (GY)
  • Pins: 10
  • Terminal/Tray: 7114-4112-02/9
  • Core/Insulation Crimp: C/D
  • Release Tool/Test Probe: 12094430/J-35616-5 (PU)

X404 Body Harness to the Headliner Harness (UE1)

Pin

Wire

Circuit

Function

Pin

Wire

Circuit

Function

1

0.35 TN

755

RAP Relay Coil Control (CF5)

1

0.35 TN

755

RAP Relay Coil Control (CF5)

2

0.5 BK/WH

1551

Ground

2

0.5 BK/WH

1551

Ground

3

0.5 GY

157

Courtesy Lamp Control

3

0.5 GY

157

Courtesy Lamp Control

4

0.5 D-BU/WH

149

Courtesy Lamp Supply Voltage

4

0.5 D-BU/WH

149

Courtesy Lamp Supply Voltage

5

0.35 YE/BK

2516

Keypad Green LED Signal

5

0.35 YE/BK

2516

Keypad Green LED Signal

6

1.0 BK

750

Ground

6

1.0 BK

750

Ground

7

0.5 L-GN

24

Backup Lamp Supply Voltage (DD8)

7

0.5 L-GN

24

Backup Lamp Supply Voltage (DD8)

8

0.5 PK

339

Ignition 2/3 Voltage (DD8)

8

0.5 PK

339

Ignition 2/3 Voltage (DD8)

9

--

--

Not Used

9

--

--

Not Used

10

2.0 RD/WH

540

Battery Positive Voltage (CF5)

10

2.0 RD/WH

540

Battery Positive Voltage (CF5)

11

0.35 D-GN/WH

2514

Keypad Signal

11

0.35 D-GN/WH

2514

Keypad Signal

12

0.35 L-GN/BK

2515

Keypad Supply Voltage

12

0.35 L-GN/BK

2515

Keypad Supply Voltage

13

0.35 BN/WH

2517

Keypad Red LED Signal

13

0.35 BN/WH

2517

Keypad Red LED Signal

14

0.5 Bare

1489

Drain Wire

14

0.5 Bare

1489

Drain Wire

15

0.35 GY

655

Cellular Microphone Signal

15

0.35 GY

655

Cellular Microphone Signal

16-20

--

--

Not Used

16-20

--

--

Not Used

X405 Body Harness to the Headliner Harness (without UE1)


Object Number: 1626506  Size: CH

Object Number: 1626519  Size: CH

Connector Part Information

  • OEM: E-3425-001
  • Service: 88988346
  • Description: 8-Way F 110 Series Unsealed (BK)

Connector Part Information

  • OEM: E-3421-001
  • Service: 88988345
  • Description: 8-Way M 2.8 mm Unsealed (BK)

Terminal Part Information

  • Pins: 1-4, 7, 8
  • Terminal/Tray: 7116-4110-02/9
  • Core/Insulation Crimp: E/C
  • Release Tool/Test Probe: 12094430/J-35616-4A (PU)
  • Pins: 6
  • Terminal/Tray: 7116-4111-02/9
  • Core/Insulation Crimp: C/A
  • Release Tool/Test Probe: 12094430/J-35616-4A (PU)
  • Pins: 5
  • Terminal/Tray: 7116-4112-02/9
  • Core/Insulation Crimp: C/D
  • Release Tool/Test Probe: 12094430/J-35616-35 (VT)

Terminal Part Information

  • Pins: 6
  • Terminal/Tray: 7114-4111-02/9
  • Core/Insulation Crimp: C/A
  • Release Tool/Test Probe: 12094430/J-35616-5 (PU)
  • Pins: 1-4, 7, 8
  • Terminal/Tray: 7114-4110-02/9
  • Core/Insulation Crimp: E/C
  • Release Tool/Test Probe: 12094430/J-35616-5 (PU)
  • Pins: 5
  • Terminal/Tray: 7114-4112-02/9
  • Core/Insulation Crimp: C/D
  • Release Tool/Test Probe: 12094430/J-35616-5 (PU)

X405 Body Harness to the Headliner Harness (without UE1)

Pin

Wire

Circuit

Function

Pin

Wire

Circuit

Function

1

0.35 TN

755

RAP Relay Coil Control (CF5)

1

0.35 TN

755

RAP Relay Coil Control (CF5)

2

0.5 BK/WH

1550

Ground

2

0.5 BK/WH

1550

Ground

3

0.5 GY

157

Courtesy Lamp Control

3

0.5 GY

157

Courtesy Lamp Control

4

0.5 D-BU/WH

149

Courtesy Lamp Supply Voltage

4

0.5 D-BU/WH

149

Courtesy Lamp Supply Voltage

5

2.0 RD/WH

540

Battery Positive Voltage (CF5)

5

2.0 RD/WH

540

Battery Positive Voltage (CF5)

6

1.0 BK

750

Ground

6

1.0 BK

750

Ground

7

0.5 L-GN

24

Backup Lamp Supply Voltage (DD8)

7

0.5 L-GN

24

Backup Lamp Supply Voltage (DD8)

8

0.5 PK

339

Ignition 2/3 Voltage (DD8)

8

0.5 PK

339

Ignition 2/3 Voltage (DD8)

X406 Rear Provisional to Body Harness (Panel Van)


Object Number: 365938  Size: CH

Object Number: 295465  Size: CH

Connector Part Information

  • OEM: 12015664
  • Service: 12085487
  • Description: 4-Way F Metri-Pack 630 Series (BK)

Connector Part Information

  • OEM: 12034295
  • Service: 12126015
  • Description: 4-Way M Metri-Pack 630 Series (BK)

Terminal Part Information

  • Terminal/Tray: See Terminal Repair Kit
  • Core/Insulation Crimp: See Terminal Repair Kit
  • Release Tool/Test Probe: See Terminal Repair Kit

Terminal Part Information

  • Pins: A, C
  • Terminal/Tray: 12066493/3
  • Core/Insulation Crimp: B/G
  • Release Tool/Test Probe: 12094430/J-35616-43 (RD)
  • Pins: B, D
  • Terminal/Tray: 12020126/2
  • Core/Insulation Crimp: E/A
  • Release Tool/Test Probe: 12094430/J-35616-43 (RD)

X406 Rear Provisional to Body Harness (Panel Van)

Pin

Wire

Circuit

Function

Pin

Wire

Circuit

Function

A

--

--

--

A

5.0 RD/BK

742

Battery Positive Voltage

B

--

--

--

B

5.0 PK

1739

Ignition 1 Voltage

C

--

--

--

C

5.0 BK

450

Ground

D

--

--

--

D

0.8 D-GN

1301

RAP Fuse Supply Voltage

X500 Body Harness to the Left Front Door Harness


Object Number: 1243531  Size: CH

Object Number: 1243534  Size: CH

Connector Part Information

  • OEM: 15401211
  • Service: 12102900
  • Description: 40-Way F GT Mixed Series (GY)

Connector Part Information

  • OEM: 15416927
  • Service: 88953402
  • Description: 40-Way M GT 150, 280 Series (GY)

Terminal Part Information

  • Terminal/Tray: See Terminal Repair Kit
  • Core/Insulation Crimp: See Terminal Repair Kit
  • Release Tool/Test Probe: See Terminal Repair Kit

Terminal Part Information

  • Terminal/Tray: Service as Harness
  • Core/Insulation Crimp: N/A
  • Release Tool/Test Probe: N/A

X500 Body Harness to the Left Front Door Harness

Pin

Wire

Circuit

Function

Pin

Wire

Circuit

Function

A1-A2

--

--

Not Available

A1-A2

--

--

Not Available

A3

3.0 BK

1250

Ground

A3

3.0 BK

1250

Ground

A4

3.0 D-GN

801

RAP Fuse Supply Voltage

A4

3.0 D-GN

801

RAP Fuse Supply Voltage

A5

--

--

Not Available

A5

--

--

Not Available

A6

1.0 TN

201

Left Front Speaker Output (+) (UQ3)

A6

0.5 TN

201

Left Front Speaker Output (+) (UQ3)

0.35 TN

201

Left Front Speaker Output (+) (UQ3)

0.35 TN

201

Left Front Speaker Output (+) (UW5)

0.35 TN

201

Left Front Speaker Output (+) (UW5)

A7

1.0 GY

118

Left Front Speaker Output (-) (UQ3)

A7

0.5 GY

118

Left Front Speaker Output (-) (UQ3)

0.35 GY

118

Left Front Speaker Output (-) (UQ3)

Left Front Speaker Output (-) (UW5)

0.35 GY

118

Left Front Speaker Output (-) (UW5)

0.35 GY

118

Left Front Speaker Output (-)

A8

0.35 BK/WH

1251

Ground

A8

0.35 BK/WH

1251

Ground

B1

--

--

Not Available

B1

--

--

Not Available

B2

0.35 GY

8

Instrument Panel Lamp Supply Voltage/Instrument Panel Lamps Dimmer Switch Signal

B2

0.35 GY

8

Instrument Panel Lamp Supply Voltage/Instrument Panel Lamps Dimmer Switch Signal

0.35 GY

8

Instrument Panel Lamp Supply Voltage/Instrument Panel Lamps Dimmer Switch Signal

B3

0.35 WH/BK

682

Door Lock Lock/Unlock Signal

B3

0.5 WH

682

Door Lock Lock/Unlock Signal

B4

0.35 RD/WH

440

Battery Positive Voltage

B4

0.35 RD/WH

440

Battery Positive Voltage

B5

0.5 TN/BK

694

All Other Platforms Driver Door Lock Actuator Unlock Control

B5

0.5 TN

694

All Other Platforms Driver Door Lock Actuator Unlock Control

B6

0.5 GY

295

Door Lock Actuator Lock Control

B6

0.5 GY

295

Door Lock Actuator Lock Control

B7

0.35 YE

2131

Side Impact Sensing Module - Left - Voltage

B7

0.35 YE

2131

Side Impact Sensing Module - Left - Voltage

B8

0.35 WH

2132

Side Impact Sensing Module - Left - Signal

B8

0.35 WH

2132

Side Impact Sensing Module - Left - Signal

B9

0.35 PU/WH

889

Passenger Mirror Motor Down Control

B9

0.35 PU/WH

889

Passenger Mirror Motor Down Control

B10

0.35 WH

330

Passenger Mirror Motor Supply Voltage

B10

0.35 WH

330

Passenger Mirror Motor Supply Voltage

B11

0.35 OG/WH

881

Passenger Mirror Motor Right Control

B11

0.35 OG/WH

881

Passenger Mirror Motor Right Control

B12

--

--

Not Available

B12

--

--

Not Available

C1

--

--

Not Available

C1

--

--

Not Available

C2

0.35 L-BU

166

Power Window Master Switch Right Front Up Signal

C2

0.35 L-BU

166

Power Window Master Switch Right Front Up Signal

C3

0.35 TN

167

Power Window Master Switch Right Front Down Signal

C3

0.35 TN

167

Power Window Master Switch Right Front Down Signal

C4

0.35 L-GN

170

Power Window Master Switch Right Rear Up Signal

C4

0.35 L-GN

170

Power Window Master Switch Right Rear Up Signal

C5

0.35 PU

171

Power Window Master Switch Right Rear Down Signal

C5

0.35 PU

171

Power Window Master Switch Right Rear Down Signal

C6

0.35 L-BU/WH

280

Power Window Master Switch Lockout Right Rear Signal

C6

0.35 L-BU/WH

280

Power Window Master Switch Lockout Right Rear Signal

C7

0.35 D-BU

1307

Power Window Master Switch lockout control

C7

0.35 D-BU

1307

Power Window Master Switch lockout control

C8

0.35 PU/WH

169

Power Window Master Switch left rear down signal

C8

0.35 PU/WH

169

Power Window Master Switch left rear down signal

C9

0.35 D-GN/WH

169

Power Window Master Switch left rear up signal

C9

0.35 D-GN/WH

169

Power Window Master Switch left rear up signal

C10

0.35 YE

43

Accessory Voltage

C10

0.35 YE

43

Accessory voltage

C11

0.35 GY

8

Instrument Panel Lamp Supply Voltage/Instrument Panel Lamps Dimmer Switch Signal

C11

0.35 GY

8

Instrument Panel Lamp Supply Voltage/Instrument Panel Lamps Dimmer Switch Signal

C12

--

--

Not Available

C12

--

--

Not Available

D1-D8

--

--

Not Available

D1-D8

--

--

Not Available

X600 Body Harness to the Passenger Door Harness


Object Number: 1625673  Size: CH

Object Number: 1629119  Size: CH

Connector Part Information

  • OEM: 15326082
  • Service: 15326082
  • Description: 18-Way F GT 150 280 Series (BK)

Connector Part Information

  • OEM: 15326081
  • Service: 15326081
  • Description: 18-Way M GT 150 280 Series (BK)

Terminal Part Information

  • Pins: F-H, M, N, R, S, T
  • Terminal/Tray: 12191812/19
  • Core/Insulation Crimp: E/C
  • Release Tool/Test Probe: 15315247/J-35616-2A (GY)
  • Pins: J, W
  • Terminal/Tray: 15304711/8
  • Core/Insulation Crimp: E/A
  • Release Tool/Test Probe: 15315247/J-35616-4A (PU)
  • Pins: A, K
  • Terminal/Tray: 15304713/19
  • Core/Insulation Crimp: 4/4
  • Release Tool/Test Probe: 15315247/J-35616-4A (PU)
  • Pins: C, D
  • Terminal/Tray: See Terminal Repair Kit
  • Core/Insulation Crimp: See Terminal Repair Kit
  • Release Tool/Test Probe: See Terminal Repair Kit

Terminal Part Information

  • Pins: C, D, F-H, M, N, R, S, T
  • Terminal/Tray: 15304702/19
  • Core/Insulation Crimp: Pins: M, N, R : E/4
  • Core/Insulation Crimp: Pins: C, D, F-H, S, T : E/C
  • Release Tool/Test Probe: 15315247/J-35616-3 (GY)
  • Pins: A, J, K, W
  • Terminal/Tray: 15304724/8
  • Core/Insulation Crimp: Pins: A, K : C/D
  • Core/Insulation Crimp: Pins: J, W : See Terminal Repair Kit
  • Release Tool/Test Probe: 15315247/J-35616-5 (PU)

X600 Body Harness to the Passenger Door Harness

Pin

Wire

Circuit

Function

Pin

Wire

Circuit

Function

A

2.0 D-GN

801

RAP Fuse Supply Voltage

 

2.0 D-GN

801

RAP Fuse Supply Voltage

B

--

--

Not Available

B

--

--

Not Available

C

0.35 D-GN

2134

Side Impact Sensing Module Right Signal (ASF)

C

0.35 D-GN

2134

Side Impact Sensing Module Right Signal (ASF)

D

0.35 TN

2133

Side Impact Sensing Module Right Voltage (ASF)

D

0.35 TN

2133

Side Impact Sensing Module Right Voltage (ASF)

E

0.35 L-BU

166

Power Window Master Switch Right Front Up Signal (LNF)

E

0.35 L-BU

166

Power Window Master Switch Right Front Up Signal (LNF)

F

0.35 WH

330

Passenger Mirror Motor Supply Voltage

F

0.35 WH

330

Passenger Mirror Motor Supply Voltage

G

0.35 PU/WH

889

Passenger Mirror Motor Down Control

G

0.35 PU/WH

889

Passenger Right Mirror Motor Down Control

H

0.35 OG/WH

881

Passenger Mirror Motor Right Control

H

0.35 OG/WH

881

Passenger Mirror Motor Right Control

J

0.35 D-GN

117

Right Front Speaker Output (-) (UW5)

J

0.35 D-GN

117

Right Front Speaker Output (-) (UW5)

2.0 D-GN

117

Right Front Speaker Output (-) (UQ3)

0.5 D-GN

117

Right Front Speaker Output (-) (UQ3)

0.35 D-GN

117

Right Front Speaker Output (-) (UQ3)

K

2.0 BK/WH

1551

Ground

K

2.0 BK/WH

1551

Ground

L

0.35 TN

167

Power Window Master Switch Right Front Down Signal (LNF)

L

0.35 TN

167

Power Window Master Switch Right Front Down Signal (LNF)

M

0.5 GY

295

Door Lock Actuator Lock Control

M

0.5 GY

295

Door Lock Actuator Lock Control

N

0.5 TN

294

Door Lock Actuator Unlock Control

N

0.5 TN

294

Door Lock Actuator Unlock Control

P

0.35 YE

43

Accessory Voltage (LNF)

P

0.35 YE

43

Accessory Voltage (LNF)

R

0.35 WH

682

Door Lock Lock/Unlock Signal

R

0.5 WH

682

Door Lock Lock/Unlock Signal

S

0.35 GY

8

Instrument Panel Lamps Dimmer Switch Signal

S

0.35 GY

8

Instrument Panel Lamps Dimmer Switch Signal

0.35 GY

8

Instrument Panel Lamps Dimmer Switch Signal

T-V

--

--

Not Available

T-V

--

--

Not Available

W

0.35 L-GN

200

Right Front Speaker Output (+) (UW5)

W

0.35 L-GN

200

Right Front Speaker Output (+) (UW5)

2.0 L-GN

200

Right Front Speaker Output (+) (UQ3)

0.5 L-GN

200

Right Front Speaker Output (+) (UQ3)

0.35 L-GN

200

Right Front Speaker Output (+) (UQ3)

X700 Body Harness to the Left Rear Door Harness


Object Number: 1625678  Size: CH

Object Number: 1625683  Size: CH

Connector Part Information

  • OEM: 15336212
  • Service: 22715954
  • Description: 14-Way F GT 150 280 Series (BK)

Connector Part Information

  • OEM: 15479759
  • Service: 89047105
  • Description: 14-Way M GT 150 280 Series (GY)

Terminal Part Information

  • Pins: B-D
  • Pins: E-F (Panel Van)
  • Terminal/Tray: 12191812/19
  • Core/Insulation Crimp: Pins: B (- Panel Van), D, E-F (Panel Van): E/C
  • Core/Insulation Crimp: Pins: B (Panel Van): C/A
  • Core/Insulation Crimp: Pins: C (UQ3) : C/A
  • Core/Insulation Crimp: Pins: C (UW5) : E/C
  • Release Tool/Test Probe: 15315247/J-35616-2A (GY)
  • Pins: P
  • Terminal/Tray: 15304711/8
  • Core/Insulation Crimp: E/A (- Panel Van)
  • Core/Insulation Crimp: 2/A (Panel Van)
  • Release Tool/Test Probe: 15315247/J-35616-4A (PU)
  • Pins: A, G, H (- Panel Van)
  • Terminal/Tray: 15304713/19
  • Core/Insulation Crimp: 4/4
  • Release Tool/Test Probe: 15315247/J-35616-4A (PU)

Terminal Part Information

  • Pins: B-D
  • Pins: E-F (Panel Van)
  • Terminal/Tray: 15304702/19
  • Core/Insulation Crimp: Pins: B (- Panel Van), E-F (Panel Van): E/C
  • Core/Insulation Crimp: Pins: B (Panel Van): 2/4
  • Core/Insulation Crimp: Pins: C (UQ3) : 2/4
  • Core/Insulation Crimp: Pins: D (UQ3) : E/4
  • Core/Insulation Crimp: Pins: C, D (UW5) : E/C
  • Core/Insulation Crimp: E/4
  • Release Tool/Test Probe: 15315247/J-35616-3 (GY)
  • Pins: P (- Panel Van)
  • Terminal/Tray: 15304722/8
  • Core/Insulation Crimp: E/C
  • Release Tool/Test Probe: 15315247/J-35616-5 (PU)
  • Pins: A, G, H (- Panel Van), P (Panel Van)
  • Terminal/Tray: 15304724/8
  • Core/Insulation Crimp: A/D (- Panel Van)
  • Core/Insulation Crimp: 2/A (Panel Van)
  • Release Tool/Test Probe: 15315247/J-35616-5 (PU)

X700 Body Harness to the Left Rear Door Harness

Pin

Wire

Circuit

Function

Pin

Wire

Circuit

Function

A

2.0 BK

1250

Ground

 

2.0 BK

1250

Ground

B

0.5 TN

294

Door Lock Actuator Unlock Control

B

0.5 TN

294

Door Lock Actuator Unlock Control

C

0.35 YE

116

Left Rear Speaker Output (-) (UW5)

C

0.5 YE

116

Left Rear Speaker Output (-) (UW5)

0.8 YE

116

Left Rear Speaker Output (-) (UQ3)

0.5 YE

116

Left Rear Speaker Output (-) (UQ3)

D

0.35 BN

199

Left Rear Speaker Output (+) (UW5)

D

0.5 BN

199

Left Rear Speaker Output (+) (UW5)

0.5 BN

199

Left Rear Speaker Output (+) (UQ3)

0.5 BN

199

Left Rear Speaker Output (+) (UQ3)

E

0.35 BK/WH

1251

Ground (Panel Van)

E

0.35 BK/WH

1250

Ground (Panel Van)

0.35 D-GN/WH

168

Power Window Master Switch Left Rear Up Signal (-Panel Van)

0.35 D-GN

168

Power Window Master Switch Left Rear Up Signal (-Panel Van)

F

0.35 L-BU/BK

747

Left Rear Door Ajar Switch Signal (Panel Van)

F

0.35 L-BU/BK

747

Left Rear Door Ajar Switch Signal (Panel Van)

0.35 D-BU

1307

Power Window Master Switch Lockout Signal (-Panel Van)

0.35 D-BU

1307

Power Window Master Switch Lockout Signal (-Panel Van)

G-H

--

--

Not Available

G-H

--

--

Not Available

J

0.35 PU/WH

169

Power Window Master Switch Left Rear Down Signal (-Panel Van)

J

0.35 PU

169

Power Window Master Switch Left Rear Down Signal (-Panel Van)

K-L

--

--

Not Available

K-L

--

--

Not Available

M

0.5 GY/BK

295

Door Lock Actuator Lock Control (- Panel Van)

M

0.5 GY/BK

295

Door Lock Actuator Lock Control (- Panel Van)

N

0.5 L-BU/WH

6667

Door Lock Actuator Lock Control

N

0.8 L-GN/BK

933

Door Lock Actuator Lock Control

P

0.8 BN

6156

Rear Access Panel Relay Control - Left Rear

P

0.8 BN

6156

Rear Access Panel Relay Control - Left Rear

0.8 BN

6156

Rear Access Panel Relay Control - Left Rear

2.0 D-GN

801

Battery Positive Voltage (-Panel Van)

P

2.0 D-GN

801

Battery Positive Voltage (-Panel Van)

X800 Body Harness to the Right Rear Door Harness


Object Number: 1625678  Size: CH

Object Number: 1625683  Size: CH

Connector Part Information

  • OEM: 15336212
  • Service: 22715954
  • Description: 14-Way F GT 150 280 Series (BK)

Connector Part Information

  • OEM: 15479759
  • Service: 89047105
  • Description: 14-Way M GT 150 280 Series (GY)

Terminal Part Information

  • Pins: C, D, N
  • Pins: E, F (Panel Van)
  • Terminal/Tray: 12191812/19
  • Core/Insulation Crimp: Pins: C, D (UQ3) : C/A
  • Core/Insulation Crimp: Pins: C, D (UW5) : E/C
  • Core/Insulation Crimp: Pins: E, F (Panel Van) : E/C
  • Core/Insulation Crimp: Pins: N (- Panel Van) : E/C
  • Core/Insulation Crimp: Pins: N (Panel Van) : C/A
  • Release Tool/Test Probe: 15315247/J-35616-2A (GY)
  • Pins: P (- Panel Van)
  • Terminal/Tray: 15304711/8
  • Core/Insulation Crimp: E/A
  • Release Tool/Test Probe: 15315247/J-35616-4A (PU)
  • Pins: A, G, H (- Panel Van), P (Panel Van)
  • Terminal/Tray: 15304713/19
  • Core/Insulation Crimp: 4/4 (- Panel Van)
  • Core/Insulation Crimp: 2/A (Panel Van)
  • Release Tool/Test Probe: 15315247/J-35616-4A (PU)

Terminal Part Information

  • Pins: C, D, N
  • Pins: E, F (Panel Van)
  • Terminal/Tray: 15304702/19
  • Core/Insulation Crimp: Pins: C, D (UQ3) : 2/4
  • Core/Insulation Crimp: Pins: C, D (UW5) : E/C
  • Core/Insulation Crimp: Pins: E, F (Panel Van) : E/C
  • Core/Insulation Crimp: Pins: N (- Panel Van) : E/4
  • Core/Insulation Crimp: Pins: N (Panel Van) : C/A
  • Release Tool/Test Probe: 15315247/J-35616-3 (GY)
  • Pins: P (- Panel Van)
  • Terminal/Tray: 15304722/8
  • Core/Insulation Crimp: E/C
  • Release Tool/Test Probe: 15315247/J-35616-5 (PU)
  • Pins: A, G, H (- Panel Van), P (Panel Van)
  • Terminal/Tray: 15304724/8
  • Core/Insulation Crimp: A/D (- Panel Van)
  • Core/Insulation Crimp: 2/A (Panel Van)
  • Release Tool/Test Probe: 15315247/J-35616-5 (PU)

X800 Body Harness to the Right Rear Door Harness

Pin

Wire

Circuit

Function

Pin

Wire

Circuit

Function

A

2.0 BK/WH

1551

Ground (-Panel Van)

A

2.0 BK/WH

1551

Ground (-Panel Van)

B

0.5 TN

294

Door Lock Actuator Unlock Control

B

0.5 TN

294

Door Lock Actuator Unlock Control

C

0.35 L-BU

115

Right Rear Speaker Output (-) (UW5)

C

0.5 L-BU

115

Right Rear Speaker Output (-) (UW5)

1.0 L-BU

115

Right Rear Speaker Output (-) (UQ3)

0.5 L-BU

115

Right Rear Speaker Output (-) (UQ3)

D

0.35 D-BU

46

Right Rear Speaker Output (+) (UW5)

D

0.5 D-BU

46

Right Rear Speaker Output (+) (UW5)

1.0 D-BU

46

Right Rear Speaker Output (+) (UQ3)

0.5 D-BU

46

Right Rear Speaker Output (+) (UQ3)

E

0.35 BK/WH

1551

Ground (Panel Van)

E

0.35 BK/WH

1551

Ground (Panel Van)

0.35 L-GN

170

Power Window Master Switch Right Rear Up Signal (-Panel Van)

0.35 L-GN

170

Power Window Master Switch Right Rear Up Signal (-Panel Van)

F

0.35 L-GN/BK

748

Right Rear Door Ajar Switch Signal (Panel Van)

F

0.35 L-GN/BK

748

Right Rear Door Ajar Switch Signal (Panel Van)

0.35 L-BU/WH

280

Power Window Master Switch Lockout Right Rear Signal (-Panel Van)

0.35 L-BU/WH

280

Power Window Master Switch Lockout Right Rear Signal (-Panel Van)

G-H

--

--

Not Available

G-H

--

--

Not Available

J

0.35 PU

171

Power Window Master Switch Right Rear Down Signal (-Panel Van)

J

0.35 PU

171

Power Window Master Switch Right Rear Down Signal (-Panel Van)

K-L

--

--

Not Available

K-L

--

--

Not Available

M

0.5 GY/BK

295

Door Lock Actuator Lock Control

M

0.5 GY

295

Door Lock Actuator Lock Control

0.5 GY

295

Door Lock Actuator Lock Control (Panel Van)

N

0.8 L-GN/BK

6699

Door Lock Actuator Lock Control

N

0.8 L-GN/BK

6699

Door Lock Actuator Lock Control

P

0.8 BN

6156

Rear Access Panel Relay Control - Right Rear (Panel Van)

P

0.8 BN

6156

Rear Access Panel Relay Control - Right Rear (Panel Van)

2.0 D-GN

801

RAP Fuse Supply Voltage (-Panel Van)

2.0 D-GN

801

RAP Fuse Supply Voltage (-Panel Van)

X900 Liftgate Harness to the Body Harness


Object Number: 62439  Size: CH

Object Number: 1626592  Size: CH

Connector Part Information

  • OEM: 12047886
  • Service: 12101822
  • Description: 8-Way F M/P 150 Series (BK)

Connector Part Information

  • OEM: 12089526
  • Service: 12101827
  • Description: 8-Way M M/P 150 Series (BK)

Terminal Part Information

  • Pins: B, C, E, F
  • Terminal/Tray: 12064971/5
  • Core/Insulation Crimp: E/C
  • Release Tool/Test Probe: 12094429/J-35616-2A (GY)
  • Pins: A, D, G, H
  • Terminal/Tray: 12047767/2
  • Core/Insulation Crimp: E/A
  • Release Tool/Test Probe: 12094429/J-35616-2A (GY)

Terminal Part Information

  • Pins: A-H
  • Terminal/Tray: 12047581/2
  • Core/Insulation Crimp: Pins: A, D, E, G : E/A
  • Core/Insulation Crimp: Pins: B, C, F, H : E/C
  • Release Tool/Test Probe: 12094429/J-35616-3 (GY)

X900 Liftgate Harness to the Body Harness

Pin

Wire

Circuit

Function

Pin

Wire

Circuit

Function

A

0.8 TN/WH

56

Rear Compartment Lid Release Actuator

A

0.8 TN/WH

56

Rear Compartment Lid Release Actuator

B

0.35 WH/BK

1221

Liftgate Release Switch Signal

B

0.35 WH/BK

1221

Liftgate Release Switch Signal

C

0.35 PK/BK

1303

Liftgate Ajar Switch Signal

C

0.35 PK/BK

1303

Liftgate Ajar Switch Signal

D

1.0 BK

850

Ground

D

1.0 BK

850

Ground

E

0.5 L-BU

20

Stop Lamp Supply Voltage

E

0.8 L-BU

20

Stop Lamp Supply Voltage

F

0.35 YE

5456

Rear Wiper Motor Park Signal

F

0.35 YE

5456

Rear Wiper Motor Park Signal

G

0.8 WH

393

Rear Window Wiper Motor Control

G

0.8 WH

393

Rear Window Wiper Motor Control

H

0.8 BN

9

Park Lamp Supply Voltage

H

0.5 BN

9

Park Lamp Supply Voltage

X902 Body Harness to the Liftgate Harness


Object Number: 153645  Size: CH

Object Number: 258179  Size: CH

Connector Part Information

  • OEM: 12129081
  • Service: 12129081
  • Description: 2-Way M Metri-Pack 280 Series (BK)

Connector Part Information

  • OEM: 12129155
  • Service: 12129155
  • Description: 2-Way F Metri-Pack 280 Series (BK)

Terminal Part Information

  • Terminal/Tray: 12084586/4
  • Core/Insulation Crimp: F/G
  • Release Tool/Test Probe: 12094430/J-35616-5 (PU)

Terminal Part Information

  • Terminal/Tray: 12110842/4
  • Core/Insulation Crimp: F/G
  • Release Tool/Test Probe: 15315247/J-35616-4A (PU)

X902 Body Harness to the Liftgate Harness

Pin

Wire

Circuit

Function

Pin

Wire

Circuit

Function

A

3.0 PU

293

Rear Defog Element Supply Voltage

A

3.0 PU

293

Rear Defog Element Supply Voltage

B

3.0 BK

1450

Ground

B

3.0 BK

1450

Ground

X903 Liftgate Harness to the Center High Mounted Stop Lamp Jumper Harness


Object Number: 1385747  Size: CH

Object Number: 872877  Size: CH

Connector Part Information

  • OEM: 15332129
  • Service: 15306425
  • Description: 2-Way F GT 150 Series (BK)

Connector Part Information

  • OEM: 12129081
  • Service: 88986459
  • Description: 2-Way M GT 150 Series (BK)

Terminal Part Information

  • Terminal/Tray: 12191812/19
  • Core/Insulation Crimp: E/C
  • Release Tool/Test Probe: 15315247/J-35616-2A (GY)

Terminal Part Information

  • Terminal/Tray: See Terminal Repair Kit
  • Core/Insulation Crimp: See Terminal Repair Kit
  • Release Tool/Test Probe: See Terminal Repair Kit

X903 Liftgate Harness to the Center High Mounted Stop Lamp Jumper Harness

Pin

Wire

Circuit

Function

Pin

Wire

Circuit

Function

A

0.5 L-BU

20

Stop Lamp Supply Voltage

A

0.5 BN

20

Stop Lamp Supply Voltage

B

0.5 BK

850

Ground

B

0.5 BK

850

Ground