GM Service Manual Online
For 1990-2009 cars only

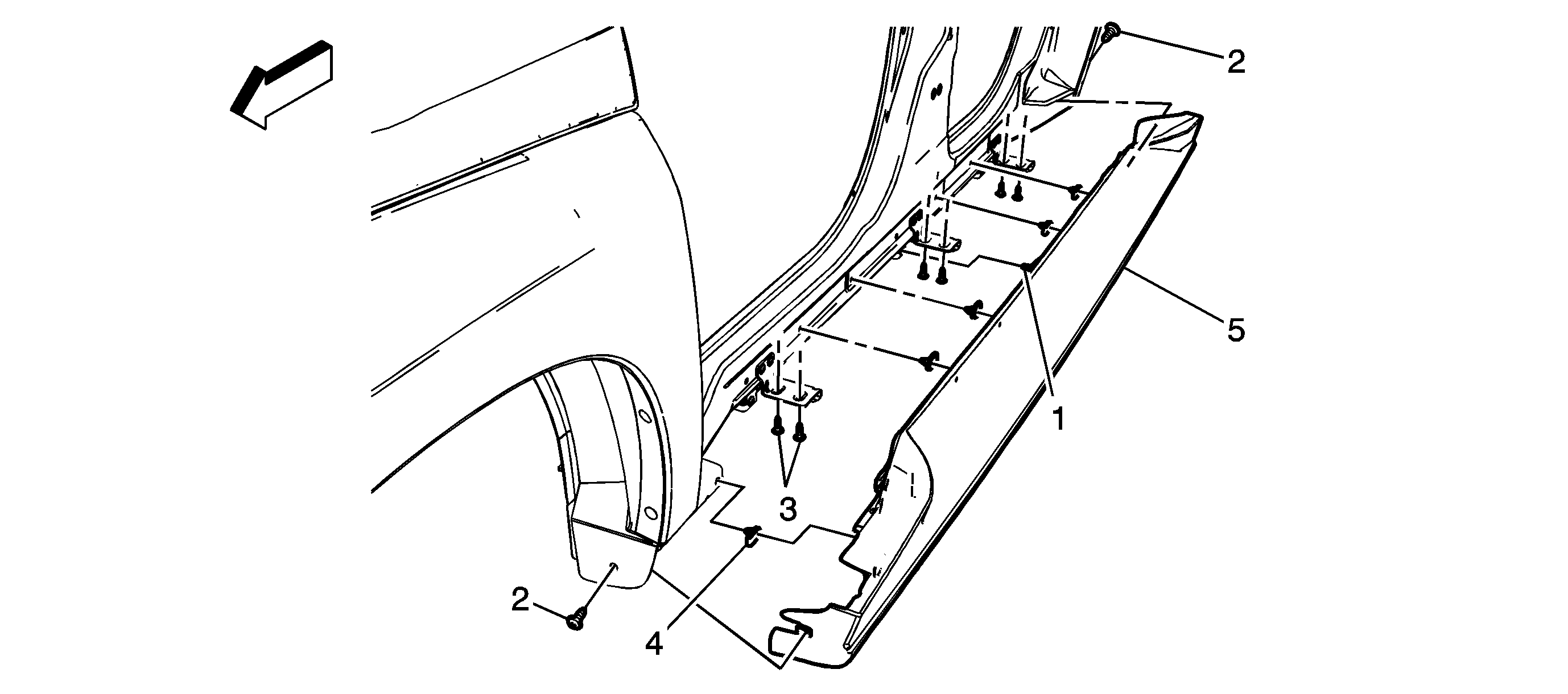
Object Number: 2003484  Size: SF

Callout

Component Name

Preliminary Procedure

  1. Open the doors on the side the molding is being removed from.
  2. Remove the wheelhouse liner lower screw at each end of the rocker panel.

1

Rocker Panel Molding Locator Pin

Tip
Align the locator pin with the hole on body side outer panel when installing.

2

Wheelhouse Liner Screw (Qty: 2)

Caution: Refer to Fastener Caution in the Preface section.

Tighten
2 N·m (18 lb in)

3

Rocker Panel Molding Screw (Qty: 6)

Tighten
5 N·m (44 lb in)

4

Rocker Panel Molding Retainer Clip (Qty: 5)

5

Rocker Panel Molding Assembly