GM Service Manual Online
For 1990-2009 cars only

Control Assembly Description C60


Object Number: 506291  Size: SF

C60

With the C60 system, you can control the heating, cooling and ventilation in your vehicle. The system works best if you keep your windows closed while using it.

Fan Control (1)

The knob (1) on the left side of the control assembly controls the fan speed. To turn the fan off, turn the knob to the OFF position.

If airflow seems very low when the fan knob is turned to the highest setting, regardless of the mode setting, your passenger compartment air filter (if equipped) may need to be replaced.

Temperature Control (2)

The center knob (2) on the control assembly changes the temperature of the air coming through the system. Turn this knob toward red area (clockwise) for warmer air. Turn it toward blue area (counterclockwise) for cooler air.

Mode Control (3)

The right knob (3) on the control assembly has several settings to control the direction of airflow

UPPER (4): This setting directs air through the instrument panel outlets.

BI-LEVEL (5): This setting directs air four ways. Half of the air is directed through the instrument panel outlets. Most of the remaining air is directed through the floor ducts and a little to the windshield defroster and side window outlets.

LOWER (6): This setting sends most of the air through the ducts near the floor. The remaining air comes out of the defroster and side window outlets.

DEFOG (7): This setting sends half of the air to the floor ducts and half to the defroster and side window outlets. The air conditioning compressor will run automatically in this setting unless the outside temperature is below 4° C (40° F) . Air inlet will also be automatically set to outside air. The RECIRCULATION button will not be selectable in this mode.

DEFROST (8): This setting directs most of the air through the defroster and side window outlets. Some of the air also goes to the floor ducts. The air conditioning compressor will run automatically in this setting unless the outside temperature is below 4° C (40° F). The air inlet will also be automatically set to outside air. The RECIRCULATION button will not be selectable in this mode.

Rear Window Defogger (REAR)(9)

Press the button (9) marked REAR to turn the defogger on. An indicator on the button will light. The rear window defogger uses a warming grid to remove fog from the rear window.

The rear window defogger will turn itself off after about 15 minutes. If you turn it on again, the defogger will only run for about 7.5 minutes before turning off. You can also turn the defogger off by turning the ignition off or by pressing the button again.

A/C (10)

Press this button (10) to turn the air conditioning on and off. The system will cool and dehumidify the air inside the vehicle when the A/C light is on

RECIRCULATION (11)

Press this button (11) to limit the amount of fresh air entering your vehicle. This is helpful when you are trying to limit odors entering your vehicle. This button is usable in UPPER, LOWER and BI-LEVEL modes. An indictor on the button will light up when this button is selected.

OUTSIDE AIR (12)

Press this button (12) to force the system to use outside air. This button is usable in all of the air delivery modes on the mode knob (3). An indicator on the button will light up when this button is selected.

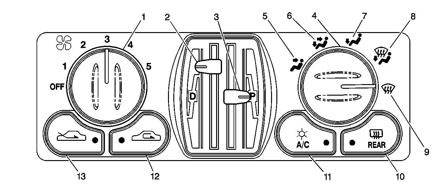
Control Assembly Description CJ3


Object Number: 506294  Size: SF

CJ3

The CJ3 system allows the driver and the passenger to maintain separate temperature settings. The system works best if you keep your windows closed while using it.

Fan Control (1)

The knob (1) on the left side of the climate control panel controls the fan speed. To turn the fan off, turn the knob to the OFF position.

If the airflow seems very low when the fan is adjusted to the highest setting regardless of the mode setting, your passenger compartment air filter may need to be replaced.

Driver's (D) Temperature Control (2)

The lever (2) on the left adjusts the air temperature on the driver's side independent of the temperature set by the passenger. Slide the lever towards the red area (upward) to raise the temperature. Slide the lever towards the blue area (downward) to lower the temperature.

Passenger's (P) Temperature Control (3)

The lever (3) on the right adjusts the air temperature on the passenger's side independent of the temperature set by the driver. Slide the lever towards the red area (upward) to raise the temperature. Slide the lever towards the blue area (downward) to lower the temperature.

Mode Control (4)

The knob on the right side of the control panel has several settings to control the direction of airflow

UPPER (5): This setting directs air through the instrument panel outlets.

BI-LEVEL (6): This setting directs air four ways. Half of the air is directed through the instrument panel outlets. Most of the remaining air is directed through the floor ducts and a little to the windshield defroster and side window outlets.

LOWER (7): This setting sends most of the air through the floor ducts. The remaining air comes out of the defroster and side window outlets.

DEFOG (8): This setting sends half of the air to the floor ducts and half to the defroster and side window outlets. The air conditioning compressor will run automatically in this setting unless the outside temperature is below 4°C (40°F). Air inlet will also be automatically set to outside air. The RECIRCULATION (12) button will not be selectable in this mode.

DEFROST (9): This setting directs most of the air through the defroster and side window vents. Some of the air also goes to the floor ducts. The air conditioning compressor will run automatically in this setting unless the outside temperature is below 4°C (40°F). The air inlet will also be automatically set to outside air. The RECIRCULATION (12) button will not be selectable in this mode.

Rear Window Defogger (REAR) (10)

Press the button (10) marked REAR to turn the defogger on. An indicator on the button will light. The rear window defogger uses a warming grid to remove fog from the rear window.

The rear window defogger will turn itself off after about 15 minutes. If you turn it on again, the defogger will only run for about 7.5 minutes before turning off. You can also turn the defogger off by turning the ignition off or by pressing the button again.

A/C (11)

Press this button (11) to turn the air conditioning on and off. The system will cool and dehumidify the air inside the vehicle when the A/C light is on

RECIRCULATION (12)

Press this button (12) to limit the amount of fresh air entering your vehicle. This is helpful when you are trying to limit odors entering your vehicle. This button is usable in UPPER (5), LOWER (7) and BI-LEVEL (6) modes. An indictor on the button will light up when this button is selected.

OUTSIDE AIR (13)

Press this button (13) to force the system to use outside air. This button is usable in all of the air delivery modes on the mode knob (4). An indicator on the button will light up when this button is selected.