GM Service Manual Online
For 1990-2009 cars only
Makes
🢒
Chevrolet
🢒
2000
🢒
Impala
🢒
Body and Accessories
🢒
Entertainment
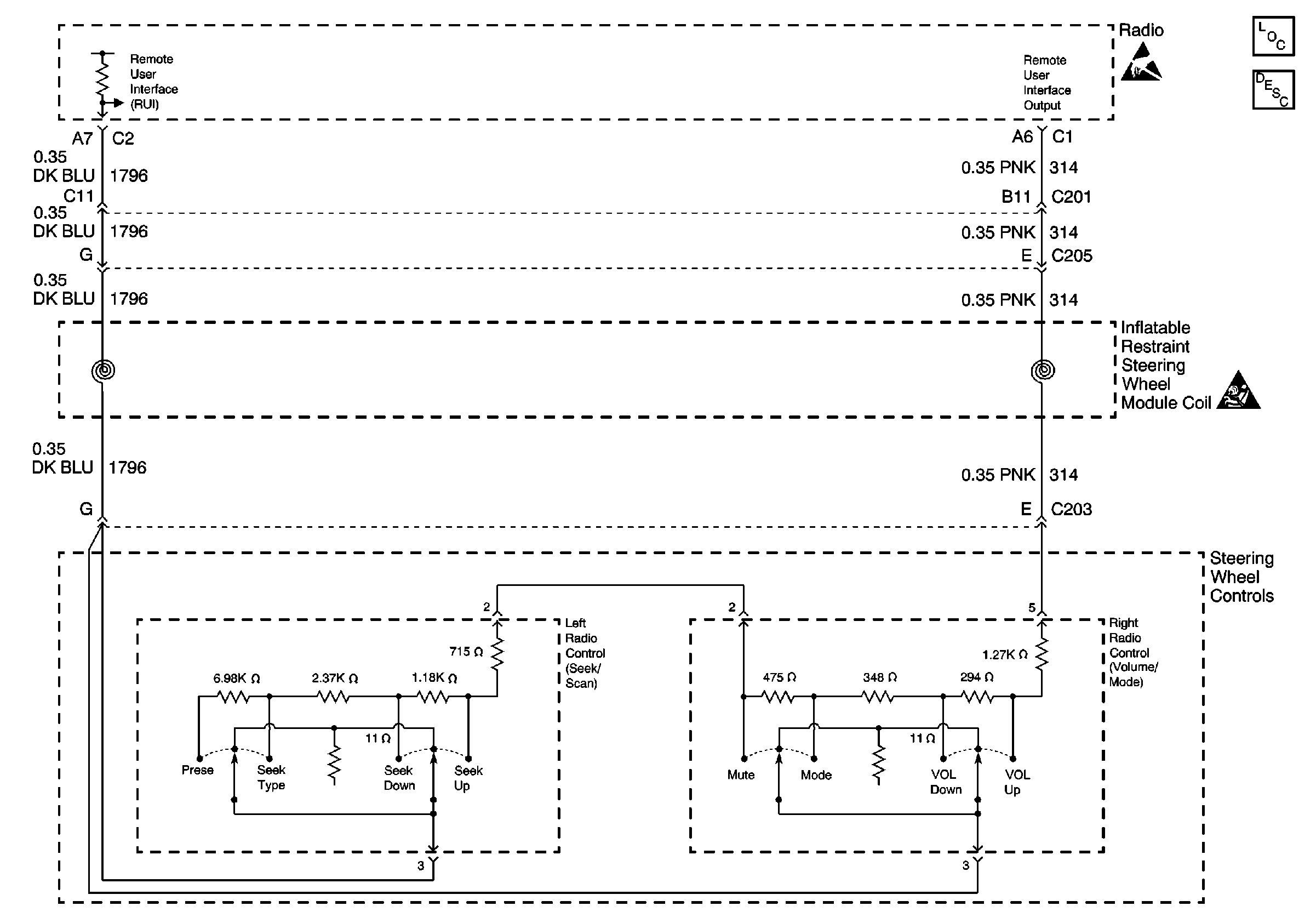
🢒 Steering Wheel Controls Schematics
Entertainment Components
Radio/Audio System Description
Handling ESD Sensitive Parts Notice
SIR Handling Caution