GM Service Manual Online
For 1990-2009 cars only
Makes
🢒
Chevrolet
🢒
2000
🢒
Impala
🢒
Body and Accessories
🢒
Seats
🢒 Power Seats Schematics
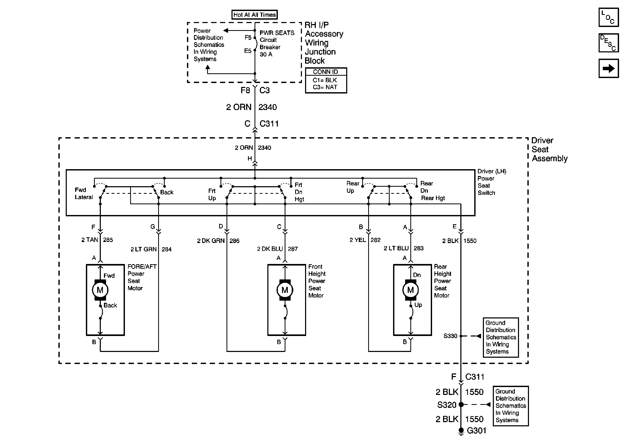
Figure
1:
Power Seats -- LH
Power Seat Systems Components
Power Seats Circuit Description
Power Seat Schematic RH
OBD II Symbol Description Notice
Handling ESD Sensitive Parts Notice
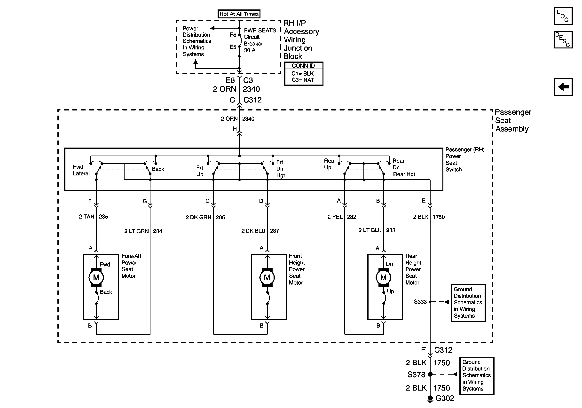
Figure
2:
Power Seat Schematic RH
Power Seat Systems Components
Power Seats Circuit Description
Power Seats - LH
OBD II Symbol Description Notice
Handling ESD Sensitive Parts Notice