GM Service Manual Online
For 1990-2009 cars only
Makes
🢒
Chevrolet
🢒
2000
🢒
Impala
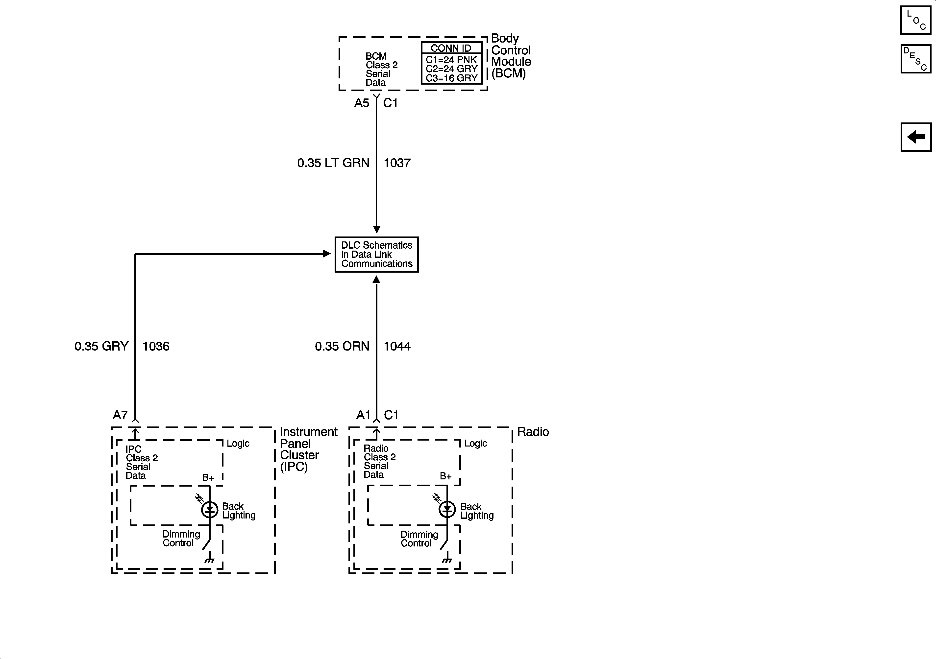
🢒 Class 2 Dimming
Class 2 Dimming
Class 2 Dimming
Lighting Systems Components
Interior Lights Dimming Circuit Description
Doors and Console
Data Link Communications Schematic