GM Service Manual Online
For 1990-2009 cars only
Makes
🢒
Chevrolet
🢒
2000
🢒
Impala
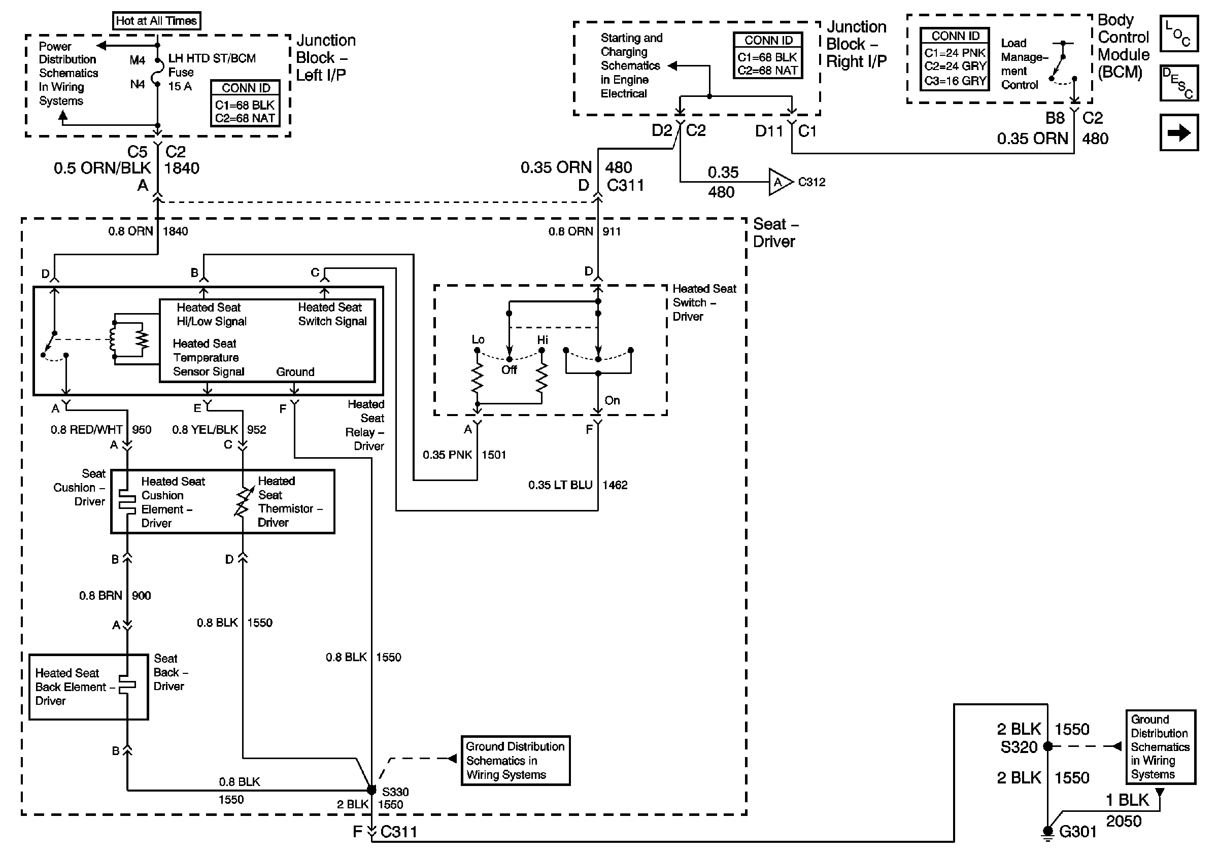
🢒 Heated Seats - 4 Door LH
Heated Seats - 4 Door LH
Heated Seats -- 4 Door LH
Power Seat Systems Components
Heated Seats Circuit Description
Heated Seat 4 Door RH