GM Service Manual Online
For 1990-2009 cars only
Makes
🢒
Chevrolet
🢒
2000
🢒
Impala
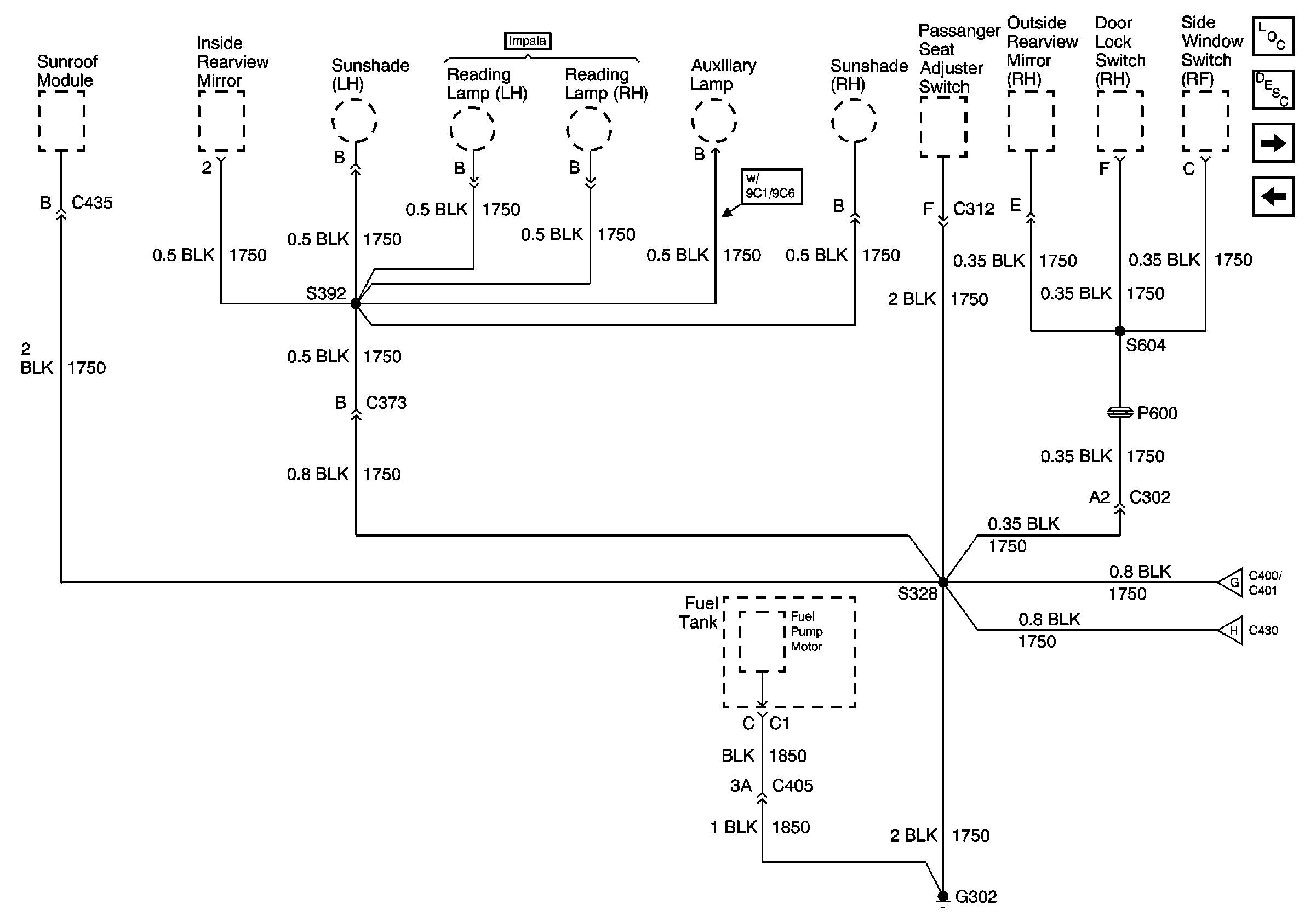
🢒 G302
G302
G302
G302 - Continued and G309
Power and Grounding Components
G302 - Continued and G309
G301 (2 of 2)