GM Service Manual Online
For 1990-2009 cars only
Makes
🢒
Chevrolet
🢒
2000
🢒
Impala
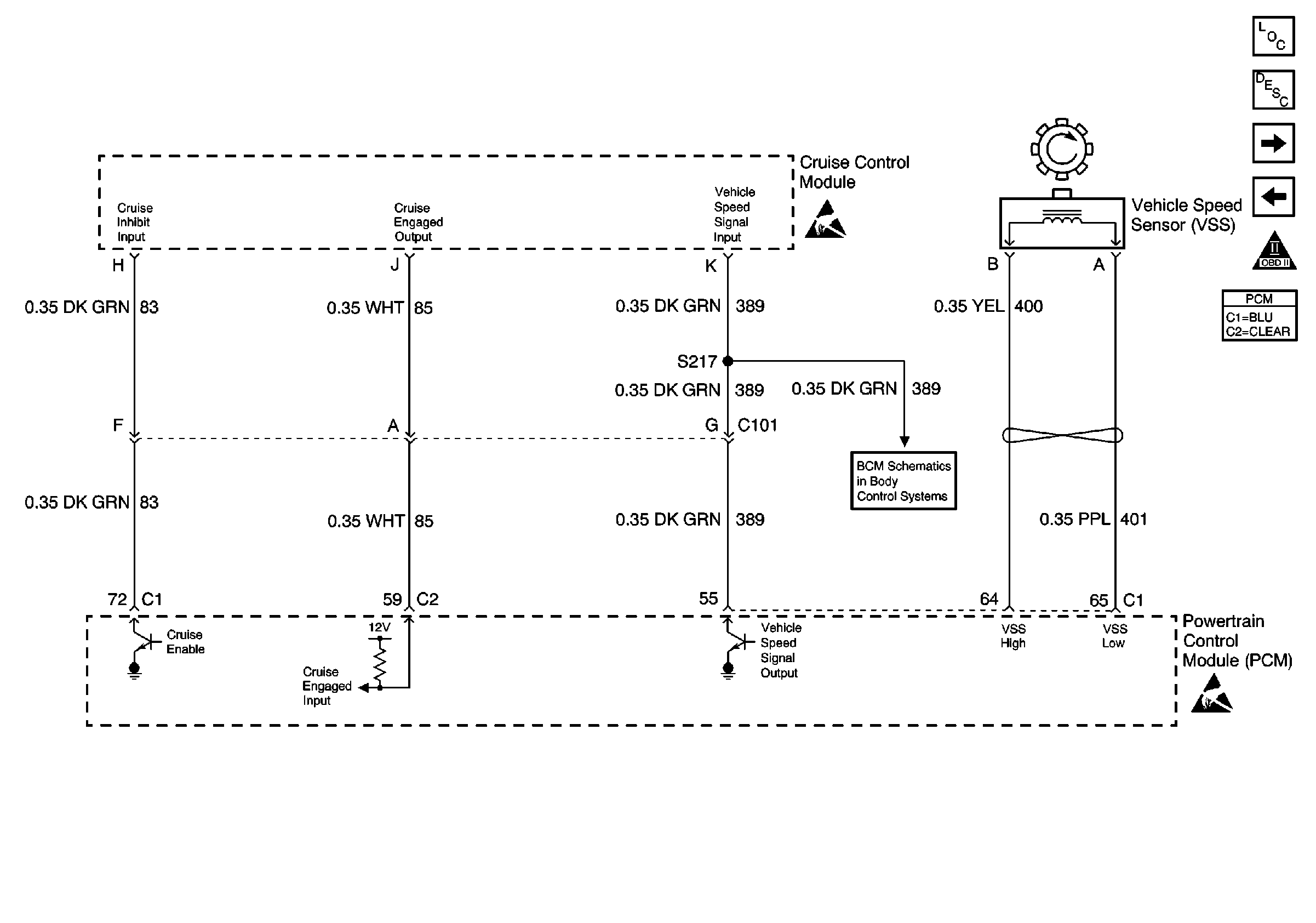
🢒 VSS, Cruise
VSS, Cruise
VSS, Cruise
Handling ESD Sensitive Parts Notice
Power, Grounds and RAP Relay
Handling ESD Sensitive Parts Notice
Engine Controls Components
Powertrain Control Module Description
EBCM, Generator, PCM, Tachometer
IAC, Engine Oil Level, Engine Oil Pressure, EGR, EVAP Vent
OBD II Symbol Description Notice