GM Service Manual Online
For 1990-2009 cars only

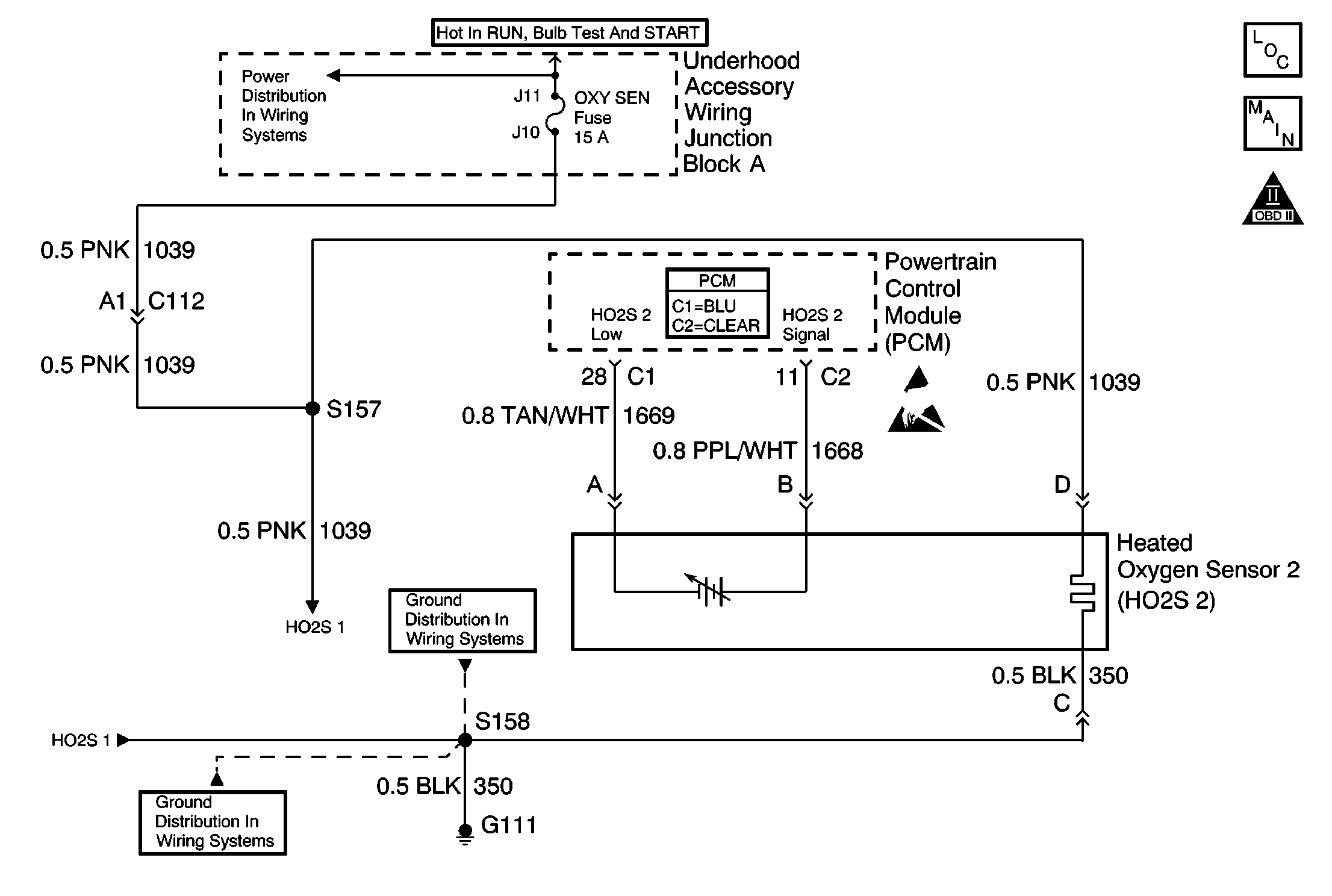
Object Number: 568365  Size: MF
Engine Controls Components
Engine Data Sensors - HO2S 1, HO2S 2
OBD II Symbol Description Notice

Circuit Description

Heated oxygen sensors (HO2S) are used in order to minimize the time required for closed loop fuel control operation and to allow accurate catalyst monitoring. The oxygen sensor heater greatly decreases the time required for fuel control sensor HO2S 1 to become active. The oxygen sensor heater is required by catalyst monitor sensor HO2S 2 to maintain a sufficiently high temperature. This allows accurate exhaust oxygen content readings further from the engine.

The Powertrain Control Module (PCM) will run the heater test only after a cold start, determined by engine coolant temperature and the intake air temperature at the time of startup, and will test only once during an ignition cycle. When the engine is started the PCM will monitor the HO2S voltage. When the HO2S voltage indicates a sufficiently active sensor, the PCM determines how much time has elapsed since startup. If the PCM determines that too much time was required for the HO2S 2 to become active, DTC P0141 will set. The time the HO2S needs to reach the operating temperature is based on the engine coolant temperature at startup and the average mass air flow since start-up. A higher average airflow or higher startup engine coolant temperature means less time to HO2S activity.

Conditions for Running the DTC

    • No active TP, MAP, MAF, ECT, IAT, sensor, fuel injector circuit, EVAP, AIR diagnostic trouble codes (DTCs) are present.
    • The intake air temperature (IAT) is less than 35°C (95°F) at startup.
    • The engine coolant temperature (ECT) is less than 35°C (95°F) at start-up.
    • The IAT and the ECT are within 6°C (42°F) of each other at startup.
    • The system voltage is 9.0--18.0 volts.

Conditions for Setting the DTC

HO2S 2 voltage remains within 150 mV of the bias voltage, or approximately 450 mV, for more time than it should. The amount of time varies depending on the engine coolant temperature at startup and the average air flow since startup, but will not exceed 3.0 minutes on a properly operating heater.

Action Taken When the DTC Sets

    • The PCM will illuminate the malfunction indicator lamp (MIL) during the second consecutive trip in which the diagnostic test has been run and failed.
    • The PCM will store conditions which were present when the DTC set as Freeze Frame/Failure Records data.

Conditions for Clearing the MIL/DTC

    • The PCM will turn OFF the malfunction indicator lamp (MIL) during the third consecutive trip in which the diagnostic has run and passed.
    • The history DTC will clear after 40 consecutive warm-up cycles have occurred without a malfunction.
    • The DTC can be cleared by using a scan tool.

Diagnostic Aids

Inspect for:

Many situations may lead to an intermittent condition. Perform each inspection or test as directed.

Important: :  Remove any debris from the connector surfaces before servicing a component. Inspect the connector gaskets when diagnosing or replacing a component. Ensure that the gaskets are installed correctly. The gaskets prevent contaminate intrusion.

    • Loose terminal connection
       -  Use a corresponding mating terminal to test for proper tension. Refer to Testing for Intermittent Conditions and Poor Connections , and to Connector Repairs in Wiring Systems for diagnosis and repair.
       -  Inspect the harness connectors for backed out terminals, improper mating, broken locks, improperly formed or damaged terminals, and faulty terminal to wire connection. Refer to Testing for Intermittent Conditions and Poor Connections , and to Connector Repairs in Wiring Systems for diagnosis and repair.
    • Damaged harness--Inspect the wiring harness for damage. If the harness inspection does not reveal a problem, observe the display on the scan tool while moving connectors and wiring harnesses related to the sensor. A change in the scan tool display may indicate the location of the fault. Refer to Wiring Repairs in Wiring Systems for diagnosis and repair.
    •  Inspect the powertrain control module (PCM) and the engine grounds for clean and secure connections. Refer to Wiring Repairs in Wiring Systems for diagnosis and repair.

If the condition is determined to be intermittent, reviewing the Snapshot or Freeze Frame/Failure Records may be useful in determining when the DTC or condition was identified.

Test Description

The numbers below refer to the step numbers on the diagnostic table.

  1. The HO2S should be allowed to cool before performing this test. If the HO2S heater is functioning, the signal voltage will gradually increase or decrease as the sensor element warms. If the heater is not functioning, the HO2S signal will remain near the 450 mV bias voltage.

  2. This step determines that the ignition feed circuit to the HO2S is not open or shorted. The test lamp should be connected to a good chassis ground in the event that the HO2S low or HO2S heater ground circuit is faulty.

  3. This step inspects the HO2S heater ground circuit.

  4. This steps inspects for an open or shorted HO2S heater element. The heater element resistance will vary according to the HO2S temperature. A hot HO2S heater element will measure a much higher resistance than a HO2S heater element at ambient temperature. It is important to allow the HO2S to cool before measuring the HO2S heater element resistance.

  5. An open HO2S signal or a low circuit can cause the HO2S heater to appear faulty. Inspect these circuits before replacing the sensor.

DTC PO141 HO2S Heater Performance Sensor 2

Step

Action

Values

Yes

No

1

Did you perform the Powertrain On-Board Diagnostic (OBD) System Check?

--

Go to Step 2

Refer to Powertrain On Board Diagnostic (OBD) System Check

2

  1. If the engine has recently been operating, allow the engine to cool for one-half hour before proceeding.
  2. Turn ON the ignition, with the engine OFF.
  3. Observe the HO2S 2 voltage on the scan tool HO2S data list.

Does the HO2S voltage go from bias voltage to more than the first specified value or to less than the second specified value?

600 mV

300 mV

Go to Diagnostic Aids

Go to Step 3

3

Inspect fuse for HO2S 2 ignition feed.

Is the fuse blown?

--

Go to Step 15

Go to Step 4

4

  1. Disconnect HO2S 2 electrical connector.
  2. Use a test lamp connected to known good ground in order to probe the ignition feed circuit at HO2S 2 electrical connector on the PCM harness side. Do not use the HO2S 2 heater ground or the HO2S 2 low.

Does the test lamp illuminate?

--

Go to Step 5

Go to Step 7

5

Connect test lamp between the HO2S 2 ignition feed and the HO2S 2 heater ground.

Does the test lamp illuminate?

--

Go to Step 6

Go to Step 8

6

  1. Allow the HO2S to cool for at least 10 minutes.
  2. Use a DMM in order to measure the resistance between the HO2S 2 ignition feed and the HO2S 2 heater ground at the HO2S 2 pigtail. Refer to Testing for Continuity in Wiring Systems.

Is the HO2S resistance within the specified values?

5-6 ohms

Go to Step 9

Go to Step 14

7

Repair the open HO2S 2 ignition feed circuit to HO2S 2. Refer to Wiring Repairs in Wiring Systems.

Did you complete the repair?

--

Go to Step 16

--

8

Repair the open HO2S 2 heater ground circuit. Refer to Wiring Repairs in Wiring Systems.

Did you complete the repair?

--

Go to Step 16

--

9

Inspect for a faulty connection at the HO2S 2 harness terminals. Refer to Testing for Continuity Testing for Intermittent Conditions and Poor Connections in Wiring Systems.

Did you find and correct the condition?

--

Go to Step 16

Go to Step 10

10

  1. Turn OFF the ignition.
  2. Disconnect the PCM and inspect the continuity of the HO2S 2 signal circuit and the HO2S 2 low circuit. Refer to Testing for Continuity in Wiring Systems.
  3. If the HO2S 2 signal circuit or HO2S low circuit measures more than 5 ohms, repair the open or faulty connection as necessary. Refer to Testing for Intermittent Conditions and Poor Connections , Push to Seat Connectors , and Wiring Repairs in Wiring Systems.

Did you find and correct the condition?

--

Go to Step 16

Go to Step 11

11

Inspect for a faulty HO2S 2 signal or a low circuit terminal connection at the HO2S 2 harness connector and repair the terminals if necessary. Refer to Testing for Intermittent Conditions and Poor Connections , Push to Seat Connectors , and Wiring Repairs in Wiring Systems.

Did you complete the repair?

--

Go to Step 16

Go to Step 12

12

Inspect for a faulty HO2S 2 low circuit terminal connection at the PCM and repair the terminal if necessary. Refer to Testing for Intermittent Conditions and Poor Connections , and Connector Repairs in Wiring Systems.

Did you complete the repair?

--

Go to Step 16

Go to Step 13

13

Inspect for a faulty HO2S 2 signal circuit terminal connection at the PCM and repair the terminal if necessary. Refer to Testing for Intermittent Conditions and Poor Connections , and Connector Repairs in Wiring Systems.

Did you complete the repair?

--

Go to Step 16

Go to Step 14

14

Replace the HO2S 2. Refer to Heated Oxygen Sensor Replacement .

Did you complete the replacement?

--

Go to Step 16

--

15

Repair the short to ground in the HO2S 2 ignition feed circuit and replace the faulty fuse. Refer to Wiring Repairs in Wiring Systems.

Did you complete the repair?

--

Go to Step 16

--

16

Important:: If engine has just been operating, allow engine to cool for one-half hour before proceeding.

  1. Clear the DTCs.
  2. Turn ON the ignition, with the engine OFF.
  3. Observe the HO2S 2 voltage on the scan tool HO2S data list.

Does HO2S voltage go from bias voltage to more than the first specified value or to less than the second specified value?

600 mV

300 mV

System OK

Go to Step 2