GM Service Manual Online
For 1990-2009 cars only

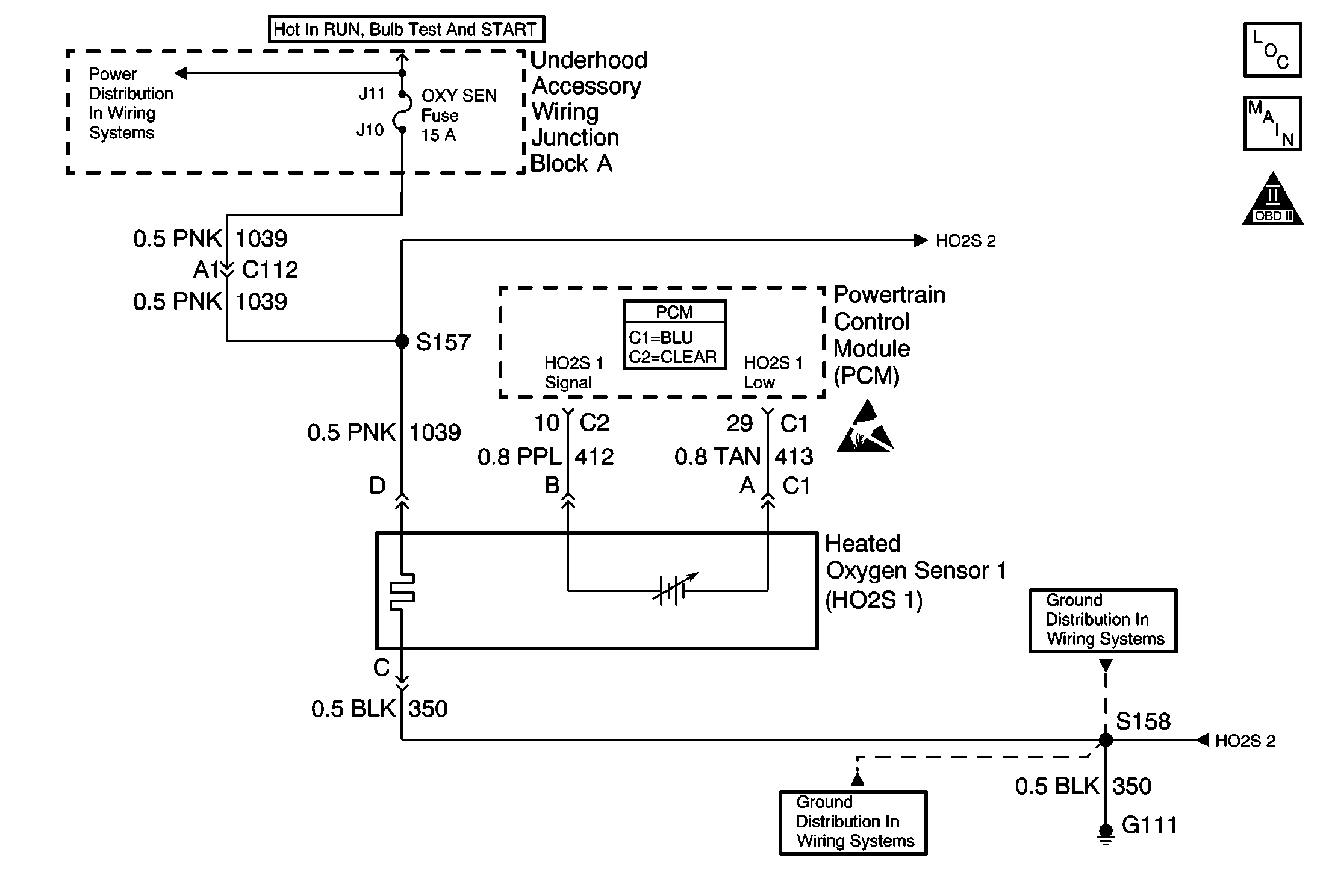
Object Number: 568362  Size: MF
Engine Controls Components
Engine Data Sensors - HO2S 1, HO2S 2
OBD II Symbol Description Notice

Circuit Description

The powertrain control module (PCM) monitors the heated oxygen sensor (HO2S) activity for 100 seconds. During this test period the PCM counts the number of times that the HO2S signal voltage crosses the rich-to-lean and lean-to-rich thresholds. If the PCM determines that the HO2S did not switch enough times, DTC P1133 will be set.

A lean-to-rich switch is determined when the HO2S voltage changes from less than 300 mV to more than 600 mV. A rich-to-lean switch is determined when the HO2S voltage changes from more than 600 mV to less than 300 mV.

Conditions for Running the DTC

    •  No active MAF sensor, TP sensor, IAT sensor, MAP sensor, ECT sensor, injector circuit, EVAP, misfire, AIR, or HO2S heater DTCs are set.
    • The system voltage is between 9.0 and 18.0 volts.
    • The above conditions are present for a 100 second monitoring period after Closed Loop.
    • The mass air flow is between 10 and 30 g/s.
    • The ECT is more than 50°C (122°F).
    • The engine speed is between 1000 and 3000 RPM.
    • The AIR pump is commanded OFF.

Conditions for Setting the DTC

    •  The PCM monitors fewer than 65 rich-to-lean and 50 lean-to-rich switches for the HO2S 1.
    •  The condition is present for a 100 second monitoring period.

Action Taken When the DTC Sets

    • The PCM illuminates the malfunction indicator lamp (MIL) on the second consecutive ignition cycle that the diagnostic runs and fails.
    • The PCM records the operating conditions at the time the diagnostic fails. The first time the diagnostic fails, the PCM stores this information in the Failure Records. If the diagnostic reports a failure on the second consecutive ignition cycle, the PCM records the operating conditions at the time of the failure.
    • The PCM writes the conditions to the Freeze Frame and updates the Failure Records.

Conditions for Clearing the MIL/DTC

    • The PCM will turn OFF the malfunction indicator lamp (MIL) during the third consecutive trip in which the diagnostic has run and passed.
    • The history DTC will clear after 40 consecutive warm-up cycles have occurred without a malfunction.
    • The DTC can be cleared by using a scan tool.

Diagnostic Aids

A malfunction in the HO2S heater ignition feed or ground circuit may cause DTC P1133 to set. Check the HO2S heater circuitry for intermittent faults or poor connections. If the connections and the wiring are OK and DTC P1133 continues to set, replace the HO2S 1. Refer to Heated Oxygen Sensor Replacement .

Inspect for the following:

Many situations may lead to an intermittent condition. Perform each inspection or test as directed.

Important: :  Remove any debris from the connector surfaces before servicing a component. Inspect the connector gaskets when diagnosing or replacing a component. Ensure that the gaskets are installed correctly. The gaskets prevent contaminate intrusion.

    • Loose terminal connection
       -  Use a corresponding mating terminal to test for proper tension. Refer to Testing for Intermittent Conditions and Poor Connections , and to Connector Repairs in Wiring Systems for diagnosis and repair.
       -  Inspect the harness connectors for backed out terminals, improper mating, broken locks, improperly formed or damaged terminals, and faulty terminal to wire connection. Refer to Testing for Intermittent Conditions and Poor Connections , and to Connector Repairs in Wiring Systems for diagnosis and repair.
    • Damaged harness--Inspect the wiring harness for damage. If the harness inspection does not reveal a problem, observe the display on the scan tool while moving connectors and wiring harnesses related to the sensor. A change in the scan tool display may indicate the location of the fault. Refer to Wiring Repairs in Wiring Systems for diagnosis and repair.
    •  Inspect the powertrain control module (PCM) and the engine grounds for clean and secure connections. Refer to Wiring Repairs in Wiring Systems for diagnosis and repair.

If the condition is determined to be intermittent, reviewing the Snapshot or Freeze Frame/Failure Records may be useful in determining when the DTC or condition was identified.

Test Description

The numbers below refer to the step numbers on the diagnostic table.

  1. This step checks for conditions which may cause the HO2S to appear faulty. Correct any of the described conditions if present.

  2. Before replacing the HO2S, check for silicon contamination.

DTC P1133 - HO2S Insufficient Switching Sensor 1

Step

Action

Values

Yes

No

1

Did you perform the Powertrain On-Board Diagnostic (OBD) System Check?

--

Go to Step 2

Go to Powertrain On Board Diagnostic (OBD) System Check

2

Important: :  If any DTCs are set, except P1133 or P1134, go to those DTCs before proceeding with this diagnostic table.

  1. Select DTC info, Last Test Fail and note any other DTCs set.
  2. Operate the vehicle within the parameters specified in Conditions for Setting the DTC .
  3. Using a scan tool, monitor the Specific DTC info for DTC P1133 until the test runs.

Does the scan tool indicate DTC P1133 failed this ignition?

--

Go to Step 3

Go to Diagnostic Aids

3

  1. Perform the Exhaust System Leak Test. Refer to Exhaust Leakage .
  2. If an exhaust leak is found, repair as necessary.

Did you find and correct the condition?

--

Go to Step 11

Go to Step 4

4

Visually and physically inspect the following items:

    •  Ensure that the HO2S 1 is securely installed.
    •  Inspect the terminals for corrosion.
    • Test the terminal tension at the HO2S 1 and at the PCM.
    •  Test for damaged wiring. Refer to Testing for Intermittent Conditions and Poor Connections in Wiring Systems.

Did you find and correct the condition?

--

Go to Step 8

Go to Step 5

5

  1. Disconnect the HO2S 1 and jumper the HO2S low signal circuit to ground.
  2. Using a scan tool, monitor the HO2S 1 voltage.

Is the voltage near the specified value?

450 mV

Go to Step 6

Go to Step 9

6

  1. Jumper the HO2S 1 high and low signal circuits to ground.
  2. Using a scan tool, monitor the HO2S 1 voltage.

Is the voltage less than the specified value?

300 mV

Go to Step 7

Go to Step 10

7

Replace the affected heated oxygen sensors. Refer to Heated Oxygen Sensor Replacement .

Did you complete the replacement?

--

Go to Step 11

--

8

Repair the condition as necessary. Refer to Testing for Intermittent Conditions and Poor Connections in Wiring Systems .

Did you complete the repair?

--

Go to Step 11

--

9

Repair the open in the HO2S low signal circuit or the grounded HO2S 1 high signal circuit. Refer to Wiring Repairs .

Did you complete the repair?

--

Go to Step 11

--

10

Repair the open in the HO2S 1 high signal circuit or any faulty PCM connections. Refer to Testing for Intermittent Conditions and Poor Connections and to Wiring Repairs in Wiring Systems.

Did you complete the repair?

--

Go to Step 11

--

11

  1. Clear the DTCs.
  2. Operate the vehicle within the Conditions for Setting the DTC.
  3. Using a scan tool, monitor the Specific DTC info for DTC P1133 until the test runs.

Does the scan tool indicate the DTC failed this ignition?

--

Go to Step 2

System OK