GM Service Manual Online
For 1990-2009 cars only

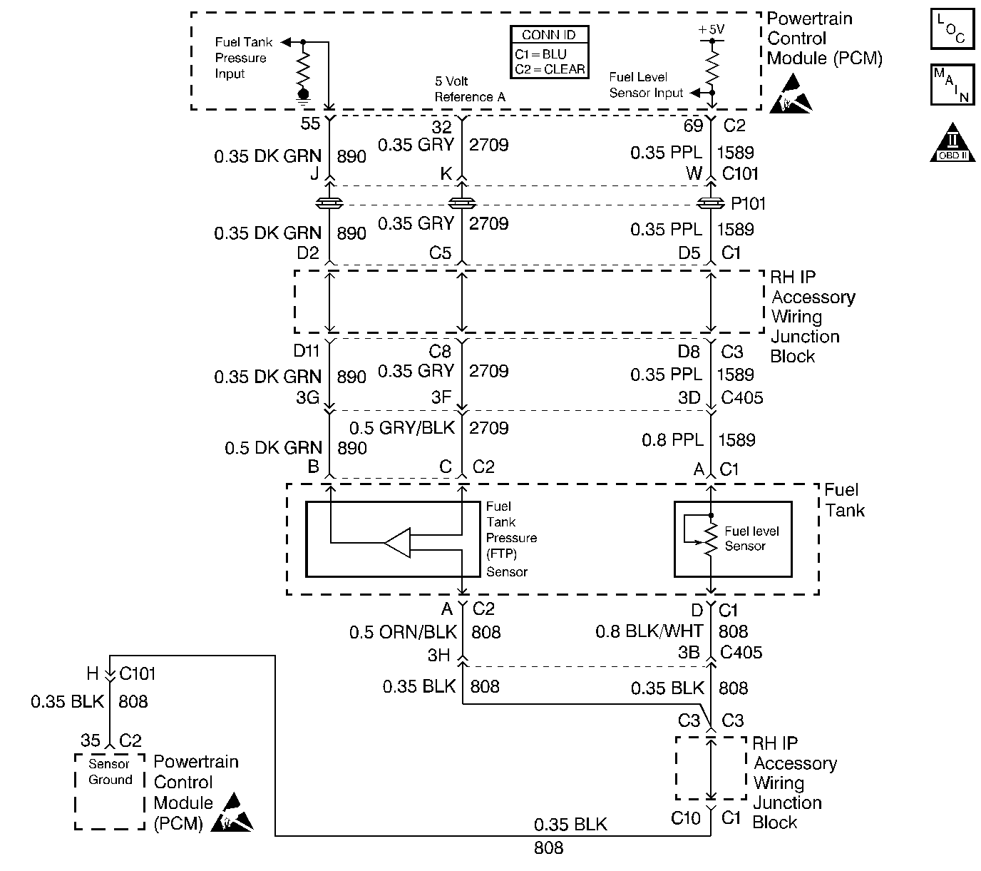
Object Number: 519290  Size: LF
Engine Controls Component Views
Fuel Controls
OBD II Symbol Description Notice
Handling ESD Sensitive Parts Notice

Circuit Description

The fuel level sensor is a device used to determine the level of fuel in the tank. The PCM applies a signal to the sensor. The sensor varies the voltage based on the level of fuel in tank. The sensor resistance is high when the tank is full, and the PCM senses a high signal voltage. As the fuel level in the tank decreases, the sensor resistance drops, and the signal voltage at the PCM is pulled low.

The PCM sends the fuel level information via class 2 serial data to the IPC. The IPC uses the information to control the fuel gauge.

The PCM monitors the fuel level sensor for signal voltages outside the normal range of the sensor. If the PCM detects a signal voltage below the calibrated range of the sensor, DTC P0462 will set.

Conditions for Running the DTC

    • The ignition is ON.
    • System voltage is between 11-16 volts.

Conditions for Setting the DTC

The PCM detects a fuel level sensor voltage that is less than 0.4 volt for at least 10 seconds.

Action Taken When the DTC Sets

The PCM stores conditions which were present when the DTC set as Failure Records only. This information will not be stored as Freeze Frame Records.

Conditions for Clearing the MIL/DTC

    • The DTC becomes history when the conditions for setting the DTC are no longer present.
    • The history DTC clears after 40 malfunction free warm-up cycles.
    • The PCM receives a clear code command from the scan tool.

Diagnostic Aids

Refer to Diagnostic System Check - Instrument Cluster in instrument panel, gauges, and console for additional diagnostic information.

    • Check for poor connections at the PCM and/or the fuel level sensor.
        Inspect the harness connectors for backed out terminals, improper mating, broken locks, improperly formed or damaged terminals, and poor terminal to wire connection. Refer to Testing for Intermittent Conditions and Poor Connections .
    • Damage harness.
        Inspect the wiring harness(es) for damage.

Reviewing the Fail Records vehicle mileage since the diagnostic test last failed may assist in diagnosing the condition. The information may help determine how often the condition that set the DTC occurs.

Test Description

The number(s) below refer to the step number(s) on the diagnostic table.

  1. The operating range of the fuel level sensor is between 3 and 100 percent. A value that is out of range will set a DTC.

  2. Tests for the proper operation of the circuit in the high voltage range.

  3. Tests for the proper operation of the circuit in the low voltage range. If the fuse in the jumper opens when you perform this test, the signal circuit is shorted to voltage.

DTC P0462

Step

Action

Value(s)

Yes

No

1

Did you perform the Powertrain On-Board Diagnostic System Check?

--

Go to Step 2

Go to Powertrain On Board Diagnostic (OBD) System Check

2

  1. Install a scan tool.
  2. Turn ON the ignition, with the engine OFF.
  3. With a scan tool, observe the fuel level parameter in the Powertrain Control Module data list.

Does the scan tool indicate that the fuel level parameter is within the specified range?

3%-98%

Go to Step 3

Go to Step 4

3

  1. Turn ON the ignition with the engine OFF.
  2. Review the Freeze Frame and/or Failure Records data for this DTC and observe the parameters.
  3. Operate the vehicle within the conditions required for this diagnostic to run, and as close to the conditions recorded in the Freeze Frame/Failure Records as possible.
  4. Monitor the Diagnostic Trouble Code (DTC) information with a scan tool.

Does the scan tool indicate that this diagnostic failed this ignition?

--

Go to Step 4

Go to Intermittent Conditions

4

  1. Turn OFF the ignition.
  2. Disconnect the fuel level sensor harness connector.
  3. Turn ON the ignition, with the engine OFF.
  4. With a scan tool, observe the fuel level parameter.

Does the scan tool indicate that the fuel level parameter is greater than the specified value?

125%

Go to Step 5

Go to Step 6

5

  1. Turn OFF the ignition.
  2. Connect a 3 amp fused jumper wire between the signal circuit of the fuel level sensor and the ground circuit of the fuel level sensor.
  3. Turn ON the ignition, with the engine OFF.
  4. With a scan tool, observe the fuel level parameter.

Does the scan tool indicate that the fuel level parameter is less than the specified value?

3%

Go to Step 9

Go to Step 7

6

Test the signal circuit of the fuel level sensor for a short to ground. Refer to Circuit Testing and Wiring Repairs in Wiring Systems.

Did you find and correct the condition?

--

Go to Step 13

Go to Step 10

7

Test the signal circuit of the fuel level sensor for a short to voltage, a high resistance, or an open. Refer to Circuit Testing and Wiring Repairs in Wiring Systems.

Did you find and correct the condition?

--

Go to Step 13

Go to Step 8

8

Test the ground circuit of the fuel level sensor for a high resistance or an open. Refer to Circuit Testing and Wiring Repairs in Wiring Systems.

Did you find and correct the condition?

--

Go to Step 13

Go to Step 10

9

Inspect for poor connections at the harness connector of the fuel level sensor. Refer to Testing for Intermittent Conditions and Poor Connections and Connector Repairs in Wiring Systems.

Did you find and correct the condition?

--

Go to Step 13

Go to Step 11

10

Inspect for poor connections at the harness connector of the PCM. Refer to Testing for Intermittent Conditions and Poor Connections and Connector Repairs in Wiring Systems.

Did you find and correct the condition?

--

Go to Step 13

Go to Step 12

11

Replace the fuel level sensor. Refer to Fuel Level Sensor Replacement .

Did you complete the replacement?

--

Go to Step 13

--

12

Important: The replacement PCM must be programmed.

Replace the PCM. Refer to Powertrain Control Module Replacement/Programming .

Did you complete the replacement?

--

Go to Step 13

--

13

  1. Use the scan tool in order to clear the DTCs.
  2. Operate the vehicle within the Conditions for Running the DTC as specified in the supporting text.

Does the DTC reset?

--

Go to Step 2

System OK