GM Service Manual Online
For 1990-2009 cars only

Object Number: 490153  Size: MF
Antilock Brake System Component Views
Antilock Brake System Schematics
Handling Electrostatic Discharge Sensitive Parts Notice

Circuit Description

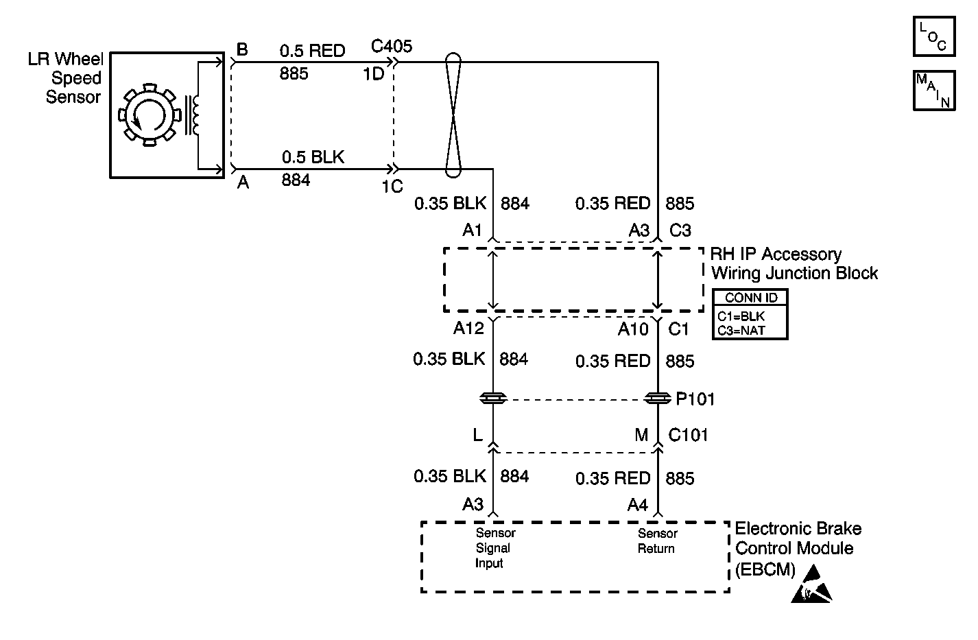
The speed sensor used on this vehicle is a multiple pole magnetic pickup. This sensor produces an AC signal that the EBCM uses the frequency from to calculate the wheel speed.

Conditions for Running the DTC

The ignition is ON.

Conditions for Setting the DTC

Either of the following conditions are present for greater than 0.02 seconds.

    • Either wheel speed sensor circuit is open or shorted.
    • The wheel speed sensor is open.

Action Taken When the DTC Sets

If equipped, the following actions occur:

    • The EBCM disables the ABS/TCS for the duration of the ignition cycle.
    • The EBCM temporarily suspends the TIM monitoring function while the DTC is set.
    • The ABS indicator turns ON.
    • The Traction Off indicator turns ON.
    • The message center displays the Service Traction System and the Low Tire Pressure message.

Conditions for Clearing the DTC

    • The condition responsible for setting the DTC no longer exists and the scan tool Clear DTCs function is used.
    • 100 ignition cycles pass with no DTC(s) detected.

Diagnostic Aids

    • It is very important that a thorough inspection of the wiring and connectors be performed. Failure to carefully and fully inspect wiring and connectors may result in misdiagnosis, causing part replacement with reappearance of the malfunction.
    • Thoroughly inspect any circuitry that may be causing the complaint for the following conditions:
       - Backed out terminals
       - Improper mating
       - Improperly formed or damaged terminals
       - Poor terminal-to-wiring connections
       - Physical damage to the wiring harness
    • The following conditions may cause an intermittent malfunction:
       - A poor connection
       - Rubbed-through wire insulation
       - A broken wire inside the insulation
    • If the customer's comments reflect that the ABS/TCS indicator is on only during moist environmental conditions (rain, snow, vehicle wash), inspect all the wheel speed sensor circuitry for signs of water intrusion. If the DTC is not current, clear all DTCs and simulate the effects of water intrusion by using the following procedure:
        1. Spray the suspected area with a five percent saltwater solution. (Add two teaspoons of salt to twelve ounces of water to make a five percent saltwater solution.)
        2. Test drive the vehicle over various road surfaces (bumps, turns, etc.) above 40 km/h (25 mph) for at least 30 seconds.
        3. If the DTC returns, replace the suspected WSS or WSS harness.
        4. Rinse the area thoroughly when completed.
    • If an intermittent malfunction exists refer to Testing for Intermittent Conditions and Poor Connections in Wiring Systems for further diagnosis.

Rear Wheel Speed Sensor Resistance

The following table contains resistance values for the front wheel speed sensors at varying sensor temperatures for use in diagnosis. The values are approximate and can be used as a guideline for diagnosis.

Sensor Temperature (°C)

Sensor Temperature (°F)

Sensor Resistance (Ohms)

-34 to 4

-30 to 40

800 to 1100

5 to 43

41 to 110

950 to 1300

44 to 93

111 to 200

1100 to 1600

Test Description

The number below refers to the step number on the diagnostic table.

  1. This step tests the wheel speed sensor and the wheel speed sensor signal circuits for an open.

  2. This step tests the wheel speed sensor and the wheel speed sensor signal circuits for a short to ground.

  3. This step tests the wheel speed sensor and the wheel speed sensor signal circuits for a short to voltage.

  4. This step tests the wheel speed sensor for the proper resistance value.

Step

Action

Value(s)

Yes

No

1

Did you perform the ABS Diagnostic System Check?

--

Go to Step 2

Go to Diagnostic System Check - ABS

2

  1. Turn OFF the ignition.
  2. Disconnect the EBCM harness connector.
  3. Measure the resistance of the wheel speed sensor circuit.

Does the resistance measure within the specified range?

800-1600 ohms

Go to Step 3

Go to Step 5

3

Test the wheel speed sensor circuit for a short to ground.

Is a short to ground present?

--

Go to Step 8

Go to Step 4

4

Test the wheel speed sensor circuit for a short to voltage.

Is a short to voltage present?

--

Go to Step 11

Go to Step 13

5

  1. Disconnect the wheel speed sensor connector.
  2. Measure the resistance across the wheel speed sensor.

Does the resistance measure within the specified range?

850-1350 ohms

Go to Step 6

Go to Step 15

6

Test the wheel speed sensor signal low circuit for an open. Refer to Circuit Testing and Wiring Repairs in Wiring Systems.

Did you find and correct the condition?

--

Go to Step 17

Go to Step 7

7

Test the wheel speed sensor signal high circuit for an open. Refer to Circuit Testing and Wiring Repairs in Wiring Systems.

Did you find and correct the condition?

--

Go to Step 17

Go to Testing for Intermittent Conditions and Poor Connections in Wiring Systems

8

  1. Disconnect the wheel speed sensor connector.
  2. Test the wheel speed sensor for an internal short to ground.

Is the wheel speed sensor internally shorted to ground?

--

Go to Step 15

Go to Step 9

9

Test the wheel speed sensor signal low circuit for a short to ground. Refer to Circuit Testing and Wiring Repairs in Wiring Systems.

Did you find and correct the condition?

--

Go to Step 17

Go to Step 10

10

Test the wheel speed sensor signal high circuit for a short to ground. Refer to Circuit Testing and Wiring Repairs in Wiring Systems.

Did you find and correct the condition?

--

Go to Step 17

Go to Testing for Intermittent Conditions and Poor Connections in Wiring Systems

11

  1. Disconnect the wheel speed sensor connector.
  2. Turn ON the ignition, with the engine OFF.
  3. Test the wheel speed sensor signal low circuit for a short to voltage. Refer to Circuit Testing and Wiring Repairs in Wiring Systems.

Did you find and correct the condition?

--

Go to Step 17

Go to Step 12

12

Test the wheel speed sensor signal high circuit for a short to voltage. Refer to Circuit Testing and Wiring Repairs in Wiring Systems.

Did you find and correct the condition?

--

Go to Step 17

Go to Testing for Intermittent Conditions and Poor Connections in Wiring Systems

13

Inspect for poor connections/terminal tension at the wheel speed sensor harness connector. Refer to Testing for Intermittent Conditions and Poor Connections and Connector Repairs in Wiring Systems.

Did you find and correct the condition?

--

Go to Step 17

Go to Step 14

14

Inspect for poor connections/terminal tension at the EBCM harness connector. Refer to Testing for Intermittent Conditions and Poor Connections and Connector Repairs in Wiring Systems.

Did you find and correct the condition?

--

Go to Step 17

Go to Step 16

15

Replace the wheel speed sensor. Refer to Wheel Speed Sensor Replacement .

Did you complete the repair?

--

Go to Step 17

--

16

Replace the EBCM. Refer to Electronic Brake Control Module Replacement

Did you complete the repair?

--

Go to Step 17

--

17

  1. Use the scan tool in order to clear the DTCs.
  2. Operate the vehicle within the Conditions for Running the DTC as specified in the supporting text.

Does the DTC reset?

--

Go to Step 2

System OK