GM Service Manual Online
For 1990-2009 cars only

Radiator Air Baffle Assemblies and Deflectors Upper

Removal Procedure


    Object Number: 537687  Size: SH
  1. Remove the radiator air baffle retainers.
  2. Tilt the rear of air baffle upward slightly. Slide the air baffle rearward in order to disengage the upper and lower clips of the air baffle from the fascia support.
  3. Remove the radiator air baffle.

Installation Procedure


    Object Number: 537687  Size: SH
  1. Position the radiator air baffle to the vehicle. Tilt the rear of the air baffle upward slightly. Position the upper clip of the air baffle to the lower edge of the front fascia support C-channel.
  2. Slide the baffle towards the front of the vehicle in order to completely engage the upper and lower clips of the baffle onto the fascia support.

  3. Align the tabs at the rear of the air baffle to the openings in the upper radiator support. Install the radiator air baffle retainers.

Radiator Air Baffle Assemblies and Deflectors Side

Removal Procedure


    Object Number: 537680  Size: SH
  1. Remove the radiator side air deflector retainers. Reposition the ambient temperature sensor, if equipped.
  2. Remove the radiator side air deflectors.

Installation Procedure


    Object Number: 537680  Size: SH
  1. Position the radiator side air deflectors to the vehicle. Position the ambient temperature sensor to the proper location, if equipped.
  2. Install the radiator side air deflector retainers.

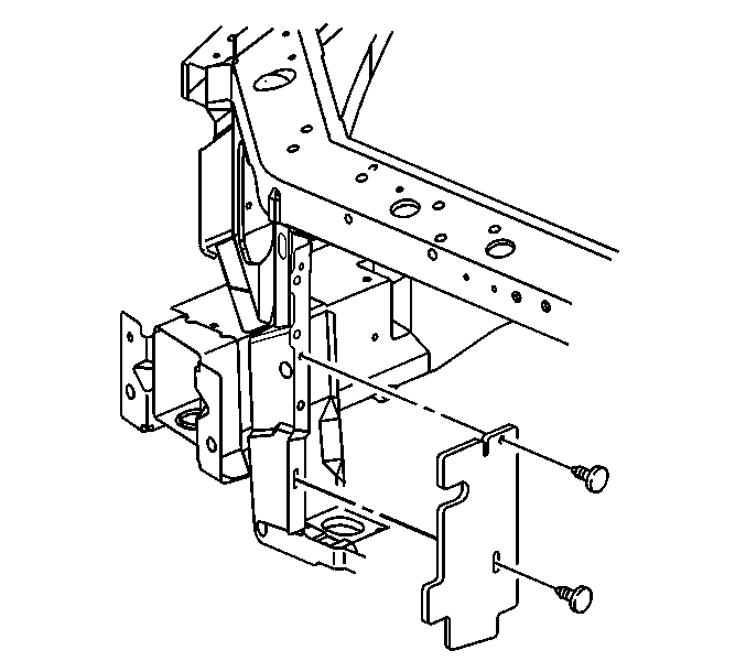
Radiator Air Baffle Assemblies and Deflectors Lower

Removal Procedure

  1. Raise and support the vehicle. Refer to Lifting and Jacking the Vehicle in General Information.

  2. Object Number: 457548  Size: SH
  3. Remove the radiator lower air deflector bolts.
  4. Remove the radiator lower air deflector.

Installation Procedure

  1. Install the radiator lower air deflector.

  2. Object Number: 457548  Size: SH

    Notice: Use the correct fastener in the correct location. Replacement fasteners must be the correct part number for that application. Fasteners requiring replacement or fasteners requiring the use of thread locking compound or sealant are identified in the service procedure. Do not use paints, lubricants, or corrosion inhibitors on fasteners or fastener joint surfaces unless specified. These coatings affect fastener torque and joint clamping force and may damage the fastener. Use the correct tightening sequence and specifications when installing fasteners in order to avoid damage to parts and systems.

  3. Install the radiator lower air deflector bolts.
  4. Tighten
    Tighten the radiator lower air deflector bolts to 20 N·m (15 lb ft).

  5. Lower the vehicle.