GM Service Manual Online
For 1990-2009 cars only
Makes
🢒
Chevrolet
🢒
2001
🢒
Impala
🢒
Engine
🢒
Engine Controls - 3.8L
🢒 Emission Hose Routing Diagram
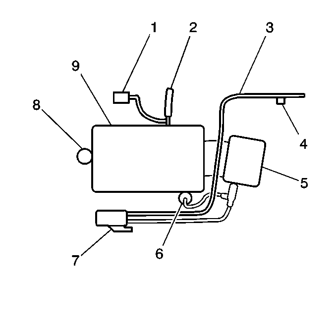
Figure
1:
Emission Hose Routing
(1)
To Vacuum Brake Booster
(2)
To Accessory
(3)
To EVAP Canister
(4)
Throttle Body
(5)
Fuel Pressure Regulator
(6)
EVAP Canister Purge Solenoid Valve
(7)
EVAP Service Port
(8)
PCV Valve
(9)
Intake Manifold
Figure
2:
EVAP System Overview
(1)
EVAP Canister Purge Solenoid
(2)
EVAP Canister
(3)
Fuel Fill Neck/Fill Cap
(4)
Rollover Valve/Fuel Tank Pressure (FTP) Sensor
(5)
Fuel Tank
(6)
EVAP Canister Vent Solenoid
(7)
Vent Hose/Pipe
(8)
EVAP Vapor Pipe
(9)
EVAP Purge Pipe
(10)
EVAP Service Port