GM Service Manual Online
For 1990-2009 cars only

EVAP System Components


Object Number: 678941  Size: LF

The EVAP system is made up of the following components

  1. EVAP Canister Purge Valve
  2. EVAP Canister
  3. Fuel Fill Neck/Fill Cap
  4. Rollover Valve/Fuel Pressure Sensor (FTP)
  5. Fuel Tank
  6. EVAP Canister Vent Valve
  7. Vent Hose/Pipe
  8. EVAP Vapor Pipe
  9. EVAP Purge Pipe
  10. EVAP Service Port

EVAP canister


Object Number: 12722  Size: LH

The EVAP canister is a sealed unit with 3 ports.

  1. Purge pipe
  2. Vapor pipe
  3. Vent pipe

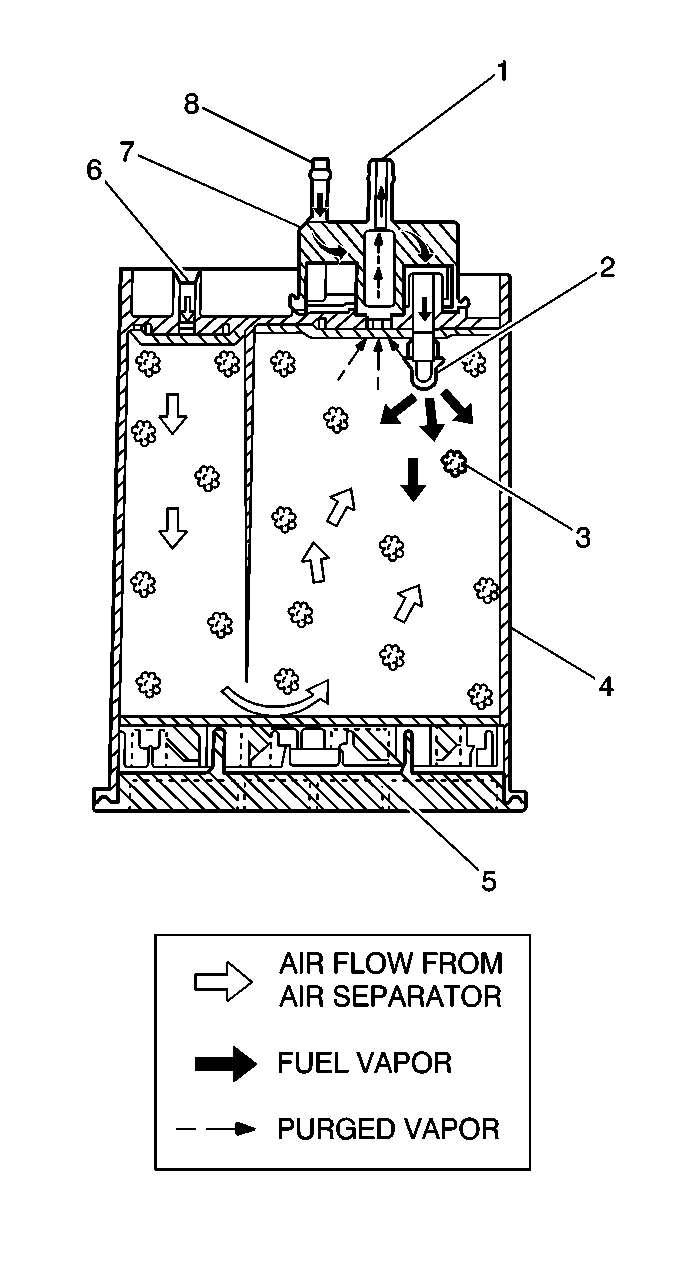
EVAP Canister


Object Number: 11795  Size: LH
(1)Purge Tube to Solenoid
(2)Buffer Tube
(3)Charcoal Bed
(4)EVAP Charcoal Canister
(5)Volume Compensator
(6)Fresh Air Inlet from Air Separator
(7)Liquid Fuel Trap
(8)Vapor Tube from Fuel Tank

The canister is filled with carbon pellets used to absorb and store fuel vapors. Fuel vapor is stored in the canister until the PCM determines that the vapor can be consumed in the normal combustion process.

EVAP Purge Valve


Object Number: 486596  Size: SH

The EVAP purge valve controls the flow of vapors from the EVAP system to the intake manifold. This normally closed valve is pulse width modulated by the powertrain control module (PCM) to precisely control the flow of fuel vapor to the engine. The valve will also be opened during some portions of the EVAP testing, allowing engine vacuum to enter the EVAP system.

EVAP Vent Valve

The EVAP vent valve controls fresh airflow into the EVAP canister. It is a normally open valve. The PCM will command the valve closed during some EVAP tests, allowing the system to be tested for leaks.

Fuel Tank Pressure Sensor


Object Number: 18839  Size: SH

The fuel tank pressure (FTP) sensor measures the difference between the pressure or vacuum in the fuel tank and outside air pressure. The FTP sensor mounts in the top of the fuel tank-sending unit. The PCM provides a 5-volt reference and a ground to the FTP sensor. The FTP sensor provides a signal voltage back to the PCM that can vary between 0.1 and 4.9 volts. As fuel tank pressure increases, FTP sensor voltage decreases (high pressure = low voltage). As fuel tank pressure decreases, FTP voltage increases (low pressure or vacuum = high voltage).

EVAP System Operation

The evaporative emission (EVAP) control system limits fuel vapors from escaping into the atmosphere. Fuel tank vapors are allowed to move from the fuel tank (due to pressure in the tank), through the vapor pipe, into the EVAP canister. Carbon in the canister absorbs and stores the fuel vapors. Excess pressure is vented through the vent line and EVAP vent solenoid to atmosphere. The EVAP canister stores the fuel vapors until the engine is able to use them. At an appropriate time, the PCM will command the EVAP purge valve open, allowing engine vacuum to be applied to the EVAP canister. With the EVAP vent valve open, fresh air will be drawn through the valve and vent line to the EVAP canister. Fresh air is drawn through the canister, pulling fuel vapors from the carbon. The air/fuel vapor mixture continues through the EVAP purge pipe and EVAP purge valve into the intake manifold to be consumed during normal combustion. The EVAP system requires the PCM be able to detect a leak as small as 0.040 inch in the EVAP system. The PCM uses several tests to determine if the EVAP system is sealed.

Weak Vacuum Test

This tests for large leaks and blockages in the EVAP system. The PCM will command ON (close) the EVAP vent valve and command ON (open) the EVAP purge valve with the engine running, allowing engine vacuum into the EVAP system. The PCM monitors the fuel tank pressure (FTP) sensor to verify that the system is able to reach a predetermined level of vacuum within a set amount of time. If the PCM does not detect the predetermined vacuum level, a DTC P0440 will set.

Vacuum Decay Test

If the weak vacuum test passes, the PCM will command OFF the EVAP purge valve, sealing the EVAP system. The PCM tests for vacuum decay in the EVAP system by monitoring the fuel tank pressure (FTP) sensor for a change in voltage over a period of time. If the decay rate is more than a calibrated value, a DTC P0442 will set.

Canister Vent Restriction Test

If the EVAP vent system is restricted, fuel vapors will not be properly purged from the EVAP canister. The PCM tests this by commanding the EVAP purge valve CLOSED and commanding the EVAP vent valve OPEN and monitoring the FTP sensor for an increase in vacuum. If an increase in vacuum is detected on 2 consecutive tests, DTC P0446 will set.

Purge Valve Leak Test

If the EVAP purge valve does not seal properly, fuel vapors could enter the engine at an undesired time, and may cause driveability concerns. The PCM tests for this by commanding the EVAP purge and vent valves closed, sealing the system, and monitoring the FTP for an increase in vacuum. If the PCM detects a calibrated increase in vacuum within a set amount of time on 2 consecutive tests, DTC P1441 will set.

EVAP Service Bay Test

The EVAP service bay test is accessed with a scan tool, and allows EVAP diagnostic tests to be run at a higher engine coolant temperature (ECT) than is allowed during normal testing. The EVAP service bay test allows all of the above tests to be run without road testing the vehicle. When the EVAP service bay test is run, the scan tool will indicate the test passed, or which specific DTC has failed. If a EVAP service bay test fails, no DTCs will be recorded in the PCM Freeze Frame/Failure Records, they will only be displayed on the scan tool. The EVAP service bay test is useful in determining if a fault is present, and for verifying a repair.

With a scan tool, select the service bay test from the special functions menu, and follow the on-screen directions.

EVAP Pressure/Purge Diagnostic Station

The J 41413 EVAP Pressure/Purge Diagnostic Station is used to help locate leaks in the EVAP system. It provides a clean, dry, regulated supply of nitrogen to pressurize the EVAP system. Refer to the directions on the cart for proper operation.

The J 41416 Ultrasonic Leak Detector is then used to pinpoint the source of the leak.