GM Service Manual Online
For 1990-2009 cars only

Electronic Brake Control Module (EBCM)


Object Number: 625474  Size: CH

Connector Part Information

    • 15356549
    • 37 Way F Micro-Pack 100 W Series (RED)

Pin

Wire Color

Circuit No.

Function

A

RED

202

Battery Positive Voltage

A1-A2

--

--

Not Used

A3

BLK

884

Left Rear Wheel Speed Sensor Signal

A4

RED

885

Left Rear Wheel Speed Sensor Low Reference

A5

WHT

883

Right Rear Wheel Speed Sensor Low Reference

A6

BRN

882

Right Rear Wheel Speed Sensor Signal

A7

TAN

833

Right Front Wheel Speed Sensor Low Reference

A8

DK GRN

872

Right Front Wheel Speed Sensor Signal

A9

YEL

873

Left Front Wheel Speed Sensor Low Reference

A10

LT BLU

830

Left Front Wheel Speed Sensor Signal

A11

PNK

239

Ignition 1 Voltage

B

RED

202

Battery Positive Voltage

B1-B6

--

--

Not Used

B7

LT BLU

1122

ABS/TCS Class 2 Serial Data

B8-B11

--

--

Not Used

C

BLK

251

Ground

C1

TAN/BLK

464

Delivered Torque Signal

C2-C6

--

--

Not Used

C7

WHT

17

Stop Lamp Switch Signal

C8

--

--

Not Used

C9

ORN/BLK

463

Requested Torque Signal

C10

--

--

Not Used

C11

--

--

Vent Tube

D

BLK

251

Ground

Traction Control Switch


Object Number: 39660  Size: CH

Connector Part Information

    • 12047785
    • 4 Way F Metric-Pack 150 (BLK)

Pin

Wire Color

Circuit No.

Function

A

BLK/WHT

1251

Ground

B

BLK

1050

Ground

C

GRY

8

Instrument Panel Lamp Supply Voltage - 1

D

BRN/WHT

1571

Traction Control Switch Signal

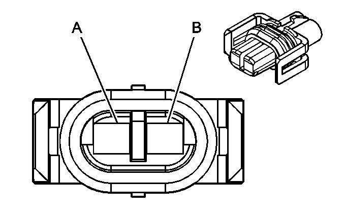
Wheel Speed Sensor (WSS) -- LF


Object Number: 537107  Size: CH

Connector Part Information

    • 12052644
    • 2 Way F Metric-Pack 150 Sealed (LT GRY)

Pin

Wire Color

Circuit No.

Function

A

LT BLU

830

Left Front Wheel Speed Sensor Signal

B

YEL

873

Left Front Wheel Speed Sensor Low Reference

Wheel Speed Sensor (WSS) -- LR


Object Number: 287974  Size: CH

Connector Part Information

    • 15305168
    • 2-Way F Metri-Pack 150 Series Sealed (LT GRY)

Pin

Wire Color

Circuit No.

Function

A

BLK

884

Left Rear Wheel Speed Sensor Signal

B

RED

885

Left Rear Wheel Speed Sensor Low Reference

Wheel Speed Sensor (WSS) -- RF


Object Number: 537107  Size: CH

Connector Part Information

    • 12052644
    • 2 Way F Metric-Pack 150 Series Sealed (LT GRY)

Pin

Wire Color

Circuit No.

Function

A

DK GRN

872

Right Front Wheel Speed Sensor Signal

B

TAN

833

Right Front Wheel Speed Sensor Low Reference

Wheel Speed Sensor (WSS) -- RR


Object Number: 287974  Size: CH

Connector Part Information

    • 15305168
    • 2-Way F Metri-Pack 150 Series Sealed (LT GRY)

Pin

Wire Color

Circuit No.

Function

A

BRN

882

Right Rear Wheel Speed Sensor Signal

B

WHT

883

Right Rear Wheel Speed Sensor Low Reference