GM Service Manual Online
For 1990-2009 cars only

Removal Procedure

    Caution: When you are performing service on or near the SIR components or the SIR wiring, you must disable the SIR system. Refer to Disabling the SIR System. Failure to follow the correct procedure could cause air bag deployment, personal injury, or unnecessary SIR system repairs.

    Caution: Before servicing any electrical component, the ignition and start switch must be in the OFF or LOCK position and all electrical loads must be OFF, unless instructed otherwise in these procedures. If a tool or equipment could easily come in contact with a live exposed electrical terminal, also disconnect the negative battery cable. Failure to follow these precautions may cause personal injury and/or damage to the vehicle or its components.

  1. Remove the instrument panel trim pad. Refer to Instrument Panel Trim Pad Replacement .
  2. Disconnect the fuse blocks from the cross vehicle beam.
  3. Remove the instrument panel/right air distribution duct and the instrument panel/left/center air distribution duct. Refer to Auxiliary Air Distributor Duct Replacement in Heating, Ventilation and Air Conditioning.
  4. Disconnect the wiring harness from the knee bolster.
  5. Remove the passenger knee bolster bracket. Refer to Passenger Knee Bolster Bracket Replacement .
  6. Remove the steering column. Refer to Steering Column Replacement in Steering Wheel and Column-Tilt.
  7. Position the body control module away from the cross vehicle beam.
  8. Remove the stoplamp switch. Refer to Stop Lamp Switch Replacement in Hydraulic Brakes.
  9. Remove the cruise release switch. Refer to Cruise Control Release Switch Replacement in Cruise Control.
  10. Disconnect the booster push rod from the brake pedal.
  11. Remove the brake pedal bolt and the brake pedal. Refer to Brake Pedal Replacement in Hydraulic Brakes.
  12. Remove the brake pedal brace bolts from the cross vehicle beam. Refer to Brake Pedal Replacement in Hydraulic Brakes.
  13. Disconnect any ground wires, as necessary.
  14. Reposition the IP wiring harness.

  15. Object Number: 558111  Size: SH
  16. Remove the bracket bolts from the HVAC module center support.
  17. Reposition the vacuum harness.
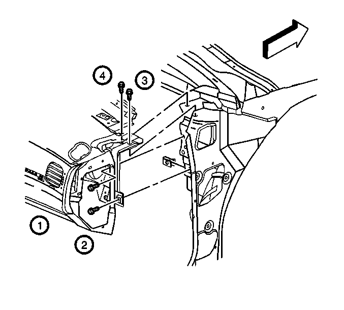
  18. Remove the bracket from the HVAC module center support.

  19. Object Number: 558113  Size: SH
  20. Remove the brackets bolts from the HVAC module upper support.

  21. Object Number: 519530  Size: SH
  22. Remove the right and the left cross vehicle beam bolts.

  23. Object Number: 558194  Size: SH
  24. Reposition the cross vehicle beam.
  25. Remove the right/defrost IP air duct from the cross vehicle beam. Refer to Auxiliary Air Distributor Duct Replacement in Heating, Ventilation and Air Conditioning.

Installation Procedure


    Object Number: 558194  Size: SH
  1. Install the right/defrost IP air duct to the cross vehicle beam. Refer to Auxiliary Air Distributor Duct Replacement in Heating, Ventilation and Air Conditioning.
  2. Install the cross vehicle beam to the vehicle.

  3. Object Number: 519530  Size: SH

    Notice: Use the correct fastener in the correct location. Replacement fasteners must be the correct part number for that application. Fasteners requiring replacement or fasteners requiring the use of thread locking compound or sealant are identified in the service procedure. Do not use paints, lubricants, or corrosion inhibitors on fasteners or fastener joint surfaces unless specified. These coatings affect fastener torque and joint clamping force and may damage the fastener. Use the correct tightening sequence and specifications when installing fasteners in order to avoid damage to parts and systems.

  4. Install the right and the left cross vehicle beam bolts in sequence.
  5. Tighten
    Tighten the bolts in the sequence shown to 25 N·m (18 lb ft).


    Object Number: 558113  Size: SH
  6. Install the bolts to the HVAC module upper support bracket.
  7. Tighten
    Tighten the bolts to 10 N·m (89 lb in).


    Object Number: 558111  Size: SH
  8. Install the bracket to the HVAC module center support.
  9. Install the bracket bolts in sequence to the HVAC module center support.
  10. Tighten
    Tighten the bolts in sequence to 10 N·m (89 lb in).

  11. Reposition the vacuum harness to the original position.
  12. Reposition the IP wiring harness to the original position.
  13. Connect any disconnected ground wires.
  14. Install the brake pedal brace bolts to the cross vehicle beam. Refer to Brake Pedal Replacement in Hydraulic Brakes.
  15. Install the brake pedal and the brake pedal bolt. Refer to Brake Pedal Replacement in Hydraulic Brakes.
  16. Install the booster push rod to the brake pedal.
  17. Install the cruise release switch. Refer to Cruise Control Release Switch Replacement in Cruise Control.
  18. Install the stoplamp switch. Refer to Stop Lamp Switch Replacement in Hydraulic Brakes.
  19. Install the body control module.
  20. Install the steering column. Refer to Steering Column Replacement in Steering Wheel and Column-Tilt.
  21. Install the bracket to the passenger knee bolster. Refer to Passenger Knee Bolster Bracket Replacement .
  22. Install the fuse blocks to the cross vehicle beam.
  23. Install the IP/right air distribution duct and the IP/left/center air distribution duct. Refer to Auxiliary Air Distributor Duct Replacement in Heating, Ventilation and Air Conditioning.
  24. Install the IP trim pad. Refer to Instrument Panel Trim Pad Replacement .